Title: Dissertatio inauguralis physico-medica de respiratione
Author: Daniel Bernoulli
Release date: January 3, 2013 [eBook #41763]
Most recently updated: October 23, 2024
Language: Latin
Other information and formats: www.gutenberg.org/ebooks/41763
Credits: Produced by Mark C. Orton, Margo von Romberg and the Online
Distributed Proofreading Team at http://www.pgdp.net (This
book was produced from scanned images of public domain
material from the Google Print project.)
Typis JOHANNIS LUDOVICI BRANDMÜLLERI.
Medicinæ Doctori, ejusdemque in Universitate
Heidelbergensi Professori famigeratissimo,
S. Elect. Palat. Medico Aulico meritissimo,
Suo Fautori & in Re Medica Præceptori ad extremum vitæ
halitum devenerando,
Hasce Studiorum primitias ob varia in ipsius ædibus beneficia
& insignis amoris testimonia accepta
sacras facit
AUCTOR.

uamquam timidè, fateor, hanc materiam de Respiratione nodosam admodum & difficilem aggrediar, tamen illa, statim ac mentem subiit, arrisit, geminâ se potissimum commendans prærogativâ; prior harum est, quod non ita exhausta mihi nîl magis quam compilatoris consuetudinem fugienti videretur, quin nova addi possint, multaque insuper erronea ab aliis tradita correctionem sui mereantur; altera, nec minus ponderosa, est, quod materia hæc præ reliquis ita sit comparata, ut fertilissimi pariter ac nobilissimi studii mathematici [quod semper medico junxi, hoc sine illo nunquam subsistere posse ratus] usus & necessitas pro genuina ejus pertractatione ilico elucescat: quid præstiterim, judicet B. Lector, quem proìn, ut tenues hasce pagellas qualitercunque conscriptas attento animo perlegat, rogo.
§.1. Solent Dissertationem conscripturi multum esse soliciti indefinitione, etymologia, aliisque hujusmodi generalioribus præmittendis; his verò eò libentius supersedeo, quod nemini credam latere, quid per Respirationem nulli non usitatam intellectum velim; si verò quis multum hujusmodi præliminaribus delectetur, adeat Auctores, quibus de Respiratione sermo est, & ipsi protinus satisfiet; reperiet etiam apud nonnullos organorum respirationi inservientium descriptionem, quam theses has lecturo cognitam supponam. Sepositis igitur omnibus ambagibus, ordo requirere videtur, ut statim ostendamus modum, quo respiratio absolvitur; hæc verò duplici agendi modo constat, nimirum inspiratione & Quomodo fiat inspiratioexpiratione; Inspiramus aërem, quando elevatione costarum & descensu diaphragmatu cavitas pectoris ampliatur, atque sic aër externus propter suum elaterem pulmones ingreditur & eosdem explicat; factâ hoc modo inspiratione musculi intercostales & expiratio?relaxantur, ac costæ descendunt, musculi abdominis simul intestinorum interventu diaphragma sursum trudunt, unde aër ex pulmonibus undiquaque compressis refluit, quem aëris è pulmonibus egressum vocamus expirationem.
§.2. Innuimus quod cavitas pectoris elevatione costarum amplietur; hanc costarum elevationem à musculis intercostalibus tam internis quàm externis fieri censeo, nec credo, vel in vehementissima inspiratione quicquam ad costarum elevationem conferre musculos serratos majores basibus scapularum alligatos, uti quidam opinantur, nam ductus fibrarum horum musculorum planè est parallelus cum ipsis costis, adeò ut fibras illas potius ruptum iri, quàm costas elevare necesse sit: quod autem elevatis costis pectus amplietur, id nullo negotio ex primis Demonstratur elevatione costarum ampliari cavitatem pectoris.Geometriæ elementis demonstrari potest; Constat costarum figuram accedere ad ellipsin, hasque costas sibi invicem superimpositas constituere quasi cylindrum ellipticum; sit ergo (fig.1.) FA spina dorsi, BA & EF axes imæ & summæ costæ, cum spinâ dorsi angulos BAM & EFO acutos facientes; concipiatur BA & EF elevatis costis pervenisse in situm CA & DF atque in prolongatas FD & FE agantur perpendiculares AQ[5] & AT; Erit totus cylindrus formatus à costis non elevatis ad totum cylindrum formatum à costis elevatis, ut illius altitudo TA ad hujus altitudinem QA; Est verò angulus QTA major angulo TQA, ille enim est major recto, hic minor recto, ergo QA major, quam TA; unde sequitur, cylindrum formatum à costis elevatis esse majorem cylindro formato à costis non elevatis Q. E. D.
§.3. Diximus etiam in thesi primâ, diaphragma in inspiratione descendere; interim non omnes Auctores conveniunt, utrum diaphragma in inspiratione ascendat an descendat? utrum motus ejus sit activus in inspiratione an in expiratione? item an septum illud transversum finitâ expiratione planum vel concavum vel Quæstiuncularum quarundam solutio.convexum sit? Omnes hæ quæstiones facile resolventur, si attendatur, quod ultimus semper morientium actus sit expiratio; atqui, in demortuis diaphragma est pulmones versus convexum, ergo diaphragma peracta quavis expiratione pulmones versus convexum erit; 2⁰. Cùm usus diaphragmatis sit motu suo cavitatem pectoris modò ampliorem modò minorem reddere, & cavitas pectoris ampliari debeat in inspiratione, iterum patet, quod diaphragma descendat durante inspiratione ascendatque tempore expirationis; 3⁰. in actione musculorum diaphragmatis, septum hoc descendit, atqui idem descendit in inspiratione, ergo motus diaphragmatis est activus in inspiratione.
§.4. Affirmavimus porrò in §.1. aërem in pulmones irruere propter suum elaterem; Non puto, quemquam adhuc fore, qui hunc aëris in pulmones ingressum absonæ illi Veterum fugæ vacui attribuat; interim miror dari, qui illum per circulum Schvvammerdamij absurditate fugæ vacui minimè cedentem explicare adhucdum conantur: Putabat nimirum Circulus Schwammerdamij refutatur.Schvvammerdamius costas in inspiratione elevatas aërem propellere, propulsum pariter sibi proximum protrudere, usque dum ille, qui immediatè ante os & nares existit, itidem propulsus in pulmones irruat, postea in expiratione iterum egressurus: quod huic Viro imposuit, fuit experimentum illud, quo vidit canem vasi aquâ repleto im̃issum inspiratione sua aquam sursum propellere, eodem verò expirante aquam ad pristinam[6] suam altitudinem subsidere; hæc observans conclusit, sicut aqua aquam, ita aër aërem propellit, sed malè hanc deduxit conclusionem; anxius ergo ubi esset aërem à pectore propulsum collocaturus, ipsum pulmones subire ait, exemplo ab aquâ desumto: nonne autem maxima statim inter aërem & aquam differentia occurrit? ille ope antliæ pneumaticæ in decies minus spatium condensari potest, hæc omni condensationi ad sensum resistit; Nonne ergo universus aër terram ambiens & in decies minus spatium condensabilis, saltem tantillum in nostro casu condensari poterit, ut spatium relinquat pauco illi aëri à pectore elevato propulso? ad hoc sanè aliud responderi nihil potest, nisi quod dicatur, aërem condensationi resistere, non verò impediri, quò minus in pulmones irruat; hæc responsio totám quæstionem eò reducit, utra resistentia major sit, an pulmonum aërem, quo minus in ipsos ingrediatur, cohibentium, an athmosphæræ insensibili condensationi resistentis; posterior hæc infinite quasi parva est, ipsa quippe atmosphæra incomparabiliter major quam quantitas illa perexigua quâ costæ elevatæ fuerunt: quis verò contendet, pulmonum resistentiam esse quoque infinitè parvam? consideret modò fricationem aëris per minimos asperæ arteriæ ramusculos transeuntis, & attendat ad fibrarum pulmonalium tenacitatem, qua extensioni resistunt. Potest etiam falsitas circuli Schvvammerdamij sic demonstrari; possumus nimirum obturatis naribus partem aëris ex lagenâ magnâ ori admotâ com̃odè haurire, quod verò fieri non deberet juxta hypothesin Schvvammerdamij, siquidem aër externus nullam habet communicationem cum aëre lagenæ incluso, ad quæ respondet Schvvammerdamius, à pectore propelli aërem subtilem, qui latera lagenæ penetrando pulmones ingrediatur: sed quid impedit aërem illum subtilem ne per ipsam cutim & pleuram intret in cavitatem inter pulmones & pleuram contentam hocque modo pulmonum extensioni resistat? Corruit ergo circulus ille, qui quamquam debili fundamento nixus, multos tamen in sui admirationem rapuit.
§.5. Asseruimus tandem in §.1⁰. costas relaxatis musculis Argumentum, quod musculi intercostales interni producant inspirationem.ercostalibus descendere; Hunc costarum descensum non produci à musculis intercostalibus internis, ob multas[7] rationes mihi persuasum habeo, quas inter referri etiam posset, quod musculi intercostales tam interni quam externi accipiant nervulos suos à nervis intercostalibus, adeo ut spiritus animales eodem tempore ad ambos musculorum ordines sint fluxuri: Nec gravitas causa costarum descensûs esse potest, quia inverso corpore cruribus nempe in altum erectis exspiratio succedit; Neque musculi abdominis nisi in vehementi expiratione costas deorsum trahere possunt, quoniam diaphragma potius sursum trudunt, quàm costas deorsum trahunt; causam ergo, quod costæ in expiratione descendant, esse credo, Causa costarum descensus in expiratione.constrictionem fibrarum cutis pectus ambientium, quæ in præcedenti inspiratione extendebantur, nec non restitutionem ipsius sterni, demonstrabo enim sub finem hujus dissertationis, sternum in quâlibet inspiratione extrorsum incurvari, quod proin cessante actione musculorum intercostalium resiliet, non secus ac lamina elastica tensa.
§.6. Quæritur nunc, quomodo prima in infante recens Quomodo prima in infante recens nato respiratio fiat? Explicatio hujus phænomeni, quæ refutatur.nato inspiratio fiat: Mirum sanè est, quod Fœtus in utero materno non respirans, subito respirare incipiat in lucem editus; oportet, ut adsit causa quâ spiritus animales subito ad musculos intercostales determinentur, hanc quidam deducebant ex doloribus, quos sentiunt infantes durante partu, à quibus spiritus animales adeo in motum excitentur, ut quaquaversum & proin etiam ad musculos intercostales fluant; Miror autem, fautores hujus sententiæ non cogitâsse de partu cæsareo, quo infantes ex utero materno sine ullis doloribus eximuntur: Melius itaque prima illa Inspiratio explicatur dicendo, quod sit cavitas inter pleuram & pulmones Infantum, quæ vel nullum Explicatio illius genuina.vel valde rarum aërem continet, unde aër externus nullam vel exiguam in pulmonibus resistentiam offendens, in eosdem vi sui elaterij, eousque irruet, donec aër inter pulmones & pleuram sit naturalis consistentiæ, vel, si nullus aër ibi existat, pulmones ad pleuram usque se explicabunt; hæc quidam Auctores passim jam agnoverunt, sed maxima superest difficultas, quomodo fiat, ut costæ eleventur, nam hanc costarum elevationem producere nequit aër in pulmones irruens, uti multi crediderunt, siquidem aër in pulmonibus prorsus sit in æquilibrio[8] cum aëre externo; ergo aliam substituam sententiam: postquam pulmones aliquousque ut vidimus, explicati fuerunt, sanguis ex dextro cordis ventriculo ad pulmones magno impetu latus, nervos pulmonum, (quorum quidem magna pars, quod bene notandum, ab intercostalibus oriuntur) repente & antea inconsuete modo afficit atque irritat, quibus irritatis in consensum trahuntur nervi ad musculos intercostales & diaphragma tendentes, per quos adeò spiritus animales ad prædictos musculos determinantur, pectus sine mora ampliaturos, quo ipso prima oritur infantum inspiratio.
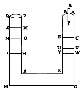
Indagatio
quantitatis
aëris inspirati
per experimentum.§.7. Si cui jam volupe fuerit indagare quantitatem
aëris inspirati, id multis modis assequi potest; sequenti præ
aliis experimento facillime scopum suum obtinebit; sumat
tubum aliquem recurvum debitæ amplitudinis (fig.2.) AGMQPSRB
cujus orificio AB altero PQ multo angustiori indatur
canaliculus EF, & si quæ adsint interstitia inter orificium
AB & canaliculum EF, eadem cerâ probe obturentur, tandem
immittatur per orificium PQ aqua usque ad altitudinem CDON,
quo facto aërem inspiratione haustum, obturatis naribus
& ore admoto orificio E exspiret impellatque in cavitatem ABDC,
finitâ dein expiratione digitum admoveat orificio E; videbit
tunc aquam in parte vasis ABRG descendisse ad UT
ascendisse verò ab altera parte ad XZ; erit autem aër in spatio
ABUT contentus naturali nonnihil densior, qui proin ut ad
ordinariam consistentiam redigatur, evacuanda est pars aquæ
ex crure PQMS donec se aqua hinc inde ad æqualem altitudinem
WYHI composuerit, indicabitque spatium CDYW
quantitatem aëris una inspiratione assumti; possumus autem
prædicta evacuatione aquæ ex Tubo PQMS supersedere, si
fiat, ut se habet altitudo 33. pedum (quantæ nimirum est cylindrus
aquæ æquiponderans aëri atmosphærico) ad altitudinem
eandem auctam excessu altitudinis XZ super TU ita spatium
ABUT ad quartum quid, quod denotabit spatium ABYW,
à quo proin auferendo spat. ABDC remanebit spat. quæsitum
& per calculum.
CDYW. Licet etiam calculo invenire quantitatem aëris
inspirati quærendo excessum (fig.1.) cylindri FDCA supra
cylindrum FEBA, qui sunt in ratione QA ad TA vel
[9]
quod idem est in ratione demissarum ad FA perpendicularium
DN ad EO, sit ergo capacitas cylindri FEBA =
, EO =
,
DN =
, excessus cylindri FDCA supra cylindr. FEBA =
& erit
, unde habetur
. Hæc est
quantitas, qua pectus ampliatur elevatione costarum, verum
augetur etiam descensu & complanatione diaphragmatis; ponatur
itaque diaphragma præ se ferre speciem coni elliptici excavati,
cujus basis =
& altitudo =
; erit quantitas, quâ
augetur pectus per descensum diaphragmatis =
, adeo ut
tota quantitas aëris inspirati sit =
.
Error Cel. Borelli
monstratur in suo tr.
de motu animalium
commissus.§.8. Ex hisce Cel. Borellus mot. animal. part. 2. cap. 7.
prop. 81. indagare voluit excessum ipsius (fig.1.) DN supra
EO, qui excessus denotabit, quantum sternum in qualibet inspiratione
protrudatur; posuit nimirum capacitatem cylindri
FEBA = 3375. digit. cubic. quantitatem aëris inspirati
(quam experimento inveniri posse demonstravimus in præcedenti
§.) = 15. dig. cubic. atque EO = 15. dig. unde invenit
quantitatem, quâ pectus in inspiratione protruditur, =
digiti, sed geminum, quod pace tanti viri dixerim, commisit
errorem; primo enim neglexit quantitatem, quâ pectus augetur
per complanationem diaphragmatis ac tacite supponit pectus
unicè elevatione costarum ampliari. Deinde cylindros
FDCA & FEBA considerat tanquam corpora similia & inde
deducit, DN esse ad EO in subtriplicata ratione ipsorum
cylindrorum; unde sponte sequitur, quod DN =
dig.
seu DN-EO =
dig. Sed hi duo cylindri non sunt similes.
Ut vero erroneæ huic methodo aliam veram substituere
possimus, oportet experiri, quantum amplietur pectus descensu
diaphragmatis; quod reperiemus, si in demortuis observemus,
Ostenditur
quomodo elevationis
sterni
quantitas
inveniri possit.quantum aquæ contineat cavitas diaphragmatis; Ponamus
quantitatem illam esse 8. digit. cubic. & erit quantitas,
quâ augetur pectus per elevationem costarum, = 7. digit. cubic.
(retinebimus enim suppositiones Borelli) adeoque capacitas
[10]
cylindri FDCA = 3782. dig. cub. est autem cyl. FEBA
(3375) ad cyl. FDCA (3382) ut EO (15) ad DN, quæ erit
dig. à qua auferendo EO remanet quantitas quâ sternum
elevatur =
dig. seu circiter
dig. adeo ut non mirum,
quod protrusio sterni in inspiratione sit fere insensibilis,
utpote quæ minor est trigesimâ secundâ parte unius digiti, major
tamen quam quæ à Borello inventa; interim negligendo
quantitatem, quâ pectus complanatione diaphragmatis augetur,
id quod Cel. Borellus fecit, invenitur elevatio sterni =
dig. quæ quantitas iterum multo major est illa, quam Cl. Borellus
dedit.
§.1. Hisce pertractatis ordo postulat ut disquiramus quid de aëre inspirato fiat & statim ultroque se offert momentosa illa & multum jam agitata quæstio; an omnis aër inspiratus iterum exspiretur, an vero pars quædam illius ad sanguinem transeat? posterioris cum sim sententiæ dicam quid ad argumenta ab Adversariis proferri solita responderi posse mihi videatur, subjuncturus Argument. quod nullus aër ad sanguinem transeat, quod refutatur.dein rationes, quæ pro sententiâ nostrâ militant: Objiciunt primò, nullas hucusque esse detectas vias, per quas aër ad sanguinem transire possit; respondeo vias has ipsas esse poros minimorum vasculorum pulmonalium; rem ita concipio: pars aëris inspirati subtilissima pervenit ad ipsas pulmonis vesiculas (seu potius receptacula non formata ab expansione extremitatum asperæ arteriæ, sed ab aliis pulmonum membranis, vide elegantes Helvetii observationes in pulmones humanos quæ extant dans les memoires de l'Acad. Royal. des Sciençes de Paris, ann. 1718.) quæ minimis vasculis sanguiferis cinguntur; subsequente dein expiratione (quæ quidem multo citius absolvitur, quam inspiratio) aër ille non omnis per angustum vesicularum orificium intra tam breve expirationis momentum regredi potest, unde necessario pars ipsius per poros vasculorum vesiculas ambientium propelletur; fateor quidem hos poros esse admodum subtiles, sed & aërem subtilissimum tantum illos subire contendo, hinc est, quod quantitas aëri expirati[11] sit ad sensum æqualis aëri inspirato: videmus equidem, quod aqua tepida canis viventis abdomini intra duplicaturam peritonei per vulnus injecta resarcito vulnere tota sub vaporum formâ vesicam per ejusdem poros subeat, ita ut à potiori aërem aquâ subtiliorem vi expirationis impulsum poros vasculorum pulmonalium haud difficulter pénetrare concludere possimus.
Alterum argumentum, quod refellitur?§.2. At vero, insistunt, sanguis per eosdem poros transudans perpetuam nobis creabit hæmoptoën; Ego respondeo, aërem esse subtiliorem, quam sanguis ille, adeo ut pori quidem aërem illum subtilem, nec tamen sanguinem transmittant; sed demus etiam aëris istius particulas non esse subtiliores particulis sanguineis, poterit vel sola figura pororum efficere, ne sanguis per ipsos transeat, sunt enim pori ampliores in superficie vasculi externâ, quam in superficie internâ, adeò ut particula ingressura tanquam per valvulam intro spectantem facile aperire queat latera pori, cum eadem particula regressum tentans latera ejusdem pori comprimendo sibi viam præcludat; Hanc certè ob causam sit, ut vesica urinaria contineat liquores, qui per eandem inversam sensim transudant.
Tertium argumentum refutatum.§.3. Objicitur porrò pulmonibus cadaverum inflatis nullum aërem vascula sanguifera subire: regero alios negare factum, contendentes è contrario aërem quam maximè ad vascula illa penetrare; provocando ad experimentum eam in rem à se institutum, quo aquam tepidam nigro colore tinctam & tracheæ injectam ad cordis ventriculum sinistrum penetrare ajunt; sed posito etiam, nihil aëris ad sanguinem transire, id provenire potest ex eo, quòd in demortuis fibræ sint constrictæ & vasa statim post mortem collabentia nullum admittant aërem; tandem etiam si attendatur ad modum paragr. 1. cap. 2. traditum, quo aërem durante expiratione vi quadam in vascula sanguifera propelli ostendi, patebit, vel ideo nullum aërem in demortuis ad sanguinem transire, quoniam in illis nulla adest expiratio summè necessaria ad aëris transitum per poros vasculorum pulmonalium promovendum; Hæc sunt quamvis levia, principalia tamen argumenta aëris cum sanguine mixtionem negantium; supersunt fortè alia, haud dubiè non majoris momenti quam præcedentia; sic v. gr. urgent, experimentum [12] illud, quo docetur minima quantitate aëris vasi sanguifero aperto inflatâ animal enecari; Hîc excipio, magnam esse differentiam inter aërem collectum in sanguine & aërem æqualiter in eodem distributum; si enim aër æqualiter per sanguinem dispersus animal necare posset, nullum superesset vivum, siquidem omnium animalium sanguis aëre imprægnatus existit; utpote qui in vacuo positus copiosas aëris bullulas emittere cernitur. Videamus nunc annon majoris sint momenti argumenta, quæ pro nostra stant sententia.
Argumentum 1. pro miscela aëris cum sanguine. §.4. Quicunque aëris cum sanguine mixtionem negant, eò rediguntur, ut dicant respirationis usum consistere in sanguinis attenuatione; sic Cel. Pitcarnius in suis Elem. Med. Phys. Math. §.60. pag. 47. expressis verbis dicit, usum respirationis consistere in sanguinis propulsu atque comminutione tali, quæ requiritur, ut possit sanguis facilè subire & pertransire vasa pulmonalia Pitcarnio respondetur& sic ad cor deferri; Huic ergo si credimus, totus respirationis usus consistit in impediendâ sanguinis stagnatione in pulmonibus; sed annoto hîc, quod dexter cordis ventriculus propulsioni sanguinis per pulmones dicatus multo debilior sit quam sinister; Quidni ergo Natura dextrum ventriculum æquè fortem ac sinistrum formare potuisset, hoc quippe modo commodius stagnationi sanguinis in pulmonibus occursura? Fateor respiratione circulationem sanguinis per pulmones promoveri, sed hoc ipsum Natura prævidens dextrum cordis ventriculum debiliorem fecit, ne sanguis nimia celeritate per pulmones flueret, antequam aëre sufficienter imprægnatus esset; Porrò, ut omni veritatis specie opinionem hanc, si quæ ipsi supersit exuamus, lubet circulum quem com̃ittunt ostendere, quærenti enim de usu respirationis respondent, eâ sanguinis stagnationem in pulmonibus præcaveri, ast vicissim sciscitanti de pulmonum usu nil aliud regerent, nisi illos esse respirationis organum quod manifestum implicat circulum. Sed dissentiunt alii à Pitcarnio in explicando sine attenuationis sanguinis, quem Pitcarnius dicit esse, ut sanguinis transfluxus per pulmones promoveatur, quod à vero abludere demonstravi; Illi verò alii dicere sustinent, ideo attenuari sanguinem, ut deinceps per totum corpus eò facilius fluere possit, horum utpote numero plurimorum sententiam [13] Monstratur sanguinem respiratione non attenuari.paulo prolixius examinabo. 1. Dico sanguinem sufficienter attenuari in ipsis arteriis figuram conicam habentibus, in quarum latera sanguis magna vi cordis impulsus adeo infringitur, attenuatur atque subdividitur ut facile minima vascula capillaria subire possit, adeo ut sanguis non opus habeat aliâ attenuatione; 2. Videmus quod pisces in aqua aëre suo privata ob defectum respirationis moriantur, interim tamen aqua aëre destituta æque comminuere posset sanguinem atque aqua aërem in se continens; 3. Nego aërem impetum facere in pulmones, corpus enim impulsum in aliud corpus, quod impellenti libere cedit, non facit impetum, haud secus ac arundines à flante Borea agitatæ eludunt ejus violentiam, à qua robustissima quercus dejicitur; Ita quoq; pulmones promtissime cedentes aëri irruenti patet, nullum ab eo impetum in se recipere; constat porrò quòd vis placidæ exspirationis (excipio violentam, quâ ingentes resistentiæ superari possunt) tam parva sit, ut fortè illâ nec pondus duorum granorum loco suo moveri posset; jam vero vis inspirationis circiter decies minor est vi expirationis, siquidem expiratio multo citius absolvitur quam inspiratio, unde tota vis, qua aër inspiratus in pulmones impellitur, tam parva est, ut ea vix resistentiam quintæ partis unius grani superare posset; jam quilibet judicet, an talis vis apta sit, quæ sanguinem in pulmonibus comminuere possit; At hîc respondent, hanc vim quamvis minimam toties tamen repetitam posse quam maxime sanguinem attenuare; hæc vero vis non toties repetitur ac forte sibi imaginantur; ponamus enim sanguinem in pulmonibus contentum esse 18. unciarum, cor vero qualibet systole propellere unciam unam sanguinis, item sex fieri pulsus unicâ interim factâ respiratione, unde liquet sanguinem non nisi per tempus trium respirationum in pulmonibus moram nectere; sed demus pulmones non esse tam laxos & agiles quin resistant aëri, adeoque omnem inde impetum resilire in sanguinem, quod tamen experientiæ adversatur; concedamus porro, vim inspirationis esse maximam, quam tamen minimam esse reperimus, tum & largiamur, si velint, sanguinem per multas respirationes in pulmonibus commorari, quod utique falsum esse ostendimus, his omnibus positis nondum video aërem[14] sanguinem esse attenuaturum, nam cum aër vascula sanguifera undiquaque æqualiter comprimat, hæc compressio condensabit potius sanguinem quam comminuet, non aliter ac videmus nivem manibus undiquaque æqualiter compressam condensari. Exulet ergo ab omnibus, qui rationem magis, quam præjudicia sequi velint, inveterata illa opinio sanguinem ab aëre comminui. Quamvis eam omnes, qui transitum aëris ad sanguinem negant, amplectuntur licet rationi plane contrariam; non enim credo, superesse qui putant sanguinem ab aëre refrigerari aut calefieri: unde cum neutrum sit, restat ut dicamus aërem ad sanguinem transire, ne quid à naturâ frustrà factum videatur.
Argumentum alterum pro mixtione aëris cum sanguine.§.5. Facit etiam pro nobis sequens, quod à se factum mihi retulisse memini Virum Cel. & Experientiss. Nebelium Prof. Heidelb. experimentum; si laqueum canis viventis collo circumjectum constringas ad imminentem usque canis suffocationem, tum verò illum subito relaxes relaxatumque teneas, usque dum canis semel inspiraverit, quo facto iterum laqueum constringas ac hanc constrictionem & relaxationem alternatim repetas, donec tandem canis enecatus sit, quo facto ejusdem aperti pulmones protinus inspiciens videbis vasa pulmonalia aëre turgida, indicio iterum manifesto aërem ad sanguinem Argument. 3.transire: Observatum præterea fuit, sanguinem in venis pulmonalibus esse rutiliorem, spumosiorem & fluidiorem, qui effectus non nisi ab aëre, qui sese interea cum sanguine commiscuit, provenire potuit, namque non ab impetu aëris, quem omnes hîc allegant, hæ sanguinis mutationes oriri possunt, siquidem Argum. 4.supra demonstravimus impetum illum fere esse nullum. Haud parum insuper nobis suffragatur experimentum Cel. Hombergii, qui humum cubiculi oleo terebinthinæ interans atque in illo per semihorulam commorans urinam suam odorem spirare sensit, odori violarum prorsus similem & haud dubie cum aëre inspirato ad sanguinem in pulmonibus delatum, idem enim experimur, si oleum terebinthinæ deglutimus. Experimentum autem omnium certissimum erit, si vas illud vitreum (fig.2) jam supra descriptum iterum aqua impleas ad altitudinem usque CDON & admoto ore orificio E obturatisque[15] naribus aliquoties spiritum ducas reddasque alternatim, & postea alius quis bene observet altitudinem aquæ in Tubo ABRG; quam si supra CDON observârit, invictum est pro transitu aëris ad sanguinem argumentum; denotat enim minus aëris existere in parte Tubi ABCD, quam ante institutum experimentum ipsi inerat, quod si vero aquam nihil ascendisse deprehenderit, sane non ideo contra nos faciet, siquidem paucus ille aër, quem ad sanguinem transire contendimus, forsan non sensibilem mutationem altitudini aquæ inducere valet; Interim si Tubus ABRG esset valde magnus atque tantum tertia vel quarta ejus pars aquâ impleretur, ut multæ inspirationes & expirationes fieri possent, antequam aër spatio ABDC inclusus ineptus evaderet ad vitæ sustentationem, (constat enim animalia vasi clauso indita eundemque adeo aërem aliquandiu respirantia enecari) & denique si tubus PQMS esset gracilis, ut mutatio aquæ situs eo sensibilior fieret, haberemus experimentum quod tantum non demonstrativum & solum hanc litem componere valeret.
§.1. Demonstrato aërem cum sanguine permisceri, quæstio nunc est, quid aër ille corpori utilitatis afferat; oportet sane, ut usus illius sit summopere ad vitam conservandam necessarius, siquidem non facilè reperimus animal, quod non suo modo respiret, & organa nostra respirationis ita sunt constituta, ut etiam repugnantes respirare cogamur; Interim quam nobilis quamque necessarius est, tam ignotus hactenus idem esse videtur; Nec ulla fere hucusque lucem aspexit theoria Medica, quæ non particularem hâc in re tulerit sententiam, quæque non omnium reliquorum sententiam optimo utplurimum successu refutarit, indicio cujuslibet opinionem nemini nisi Auctori suo satisfecisse, adeò unicuique sua placent! Meam quoque afferam sententiam, omissâ aliarum refutatione, ob modo dictam rationem parum necessariâ.
§.2. Quo vero eò melius & tutius aëris usum investigemus, prosequamur viam, quam aër sanguini in pulmonibus permistus ulterius observat, & videamus quid ubique de illo fiat. Aëris pars subtilissima in minimas pulmonales venulas intrusa,[16] in iisdem sanguini intime miscetur; tria hanc miscelam aëris Aër sanguini intime miscetur in vasculis pulmonalibus.cum sanguine promovent, 1. vasculorum exilitas, 2. motus pectoris & 3. motus ipsius sanguinis tam intestinus quam progressivus, qui motus multum facit, ut aër intimos globulorum sanguineorum poros subeat, exemplo ab aqua desumto, quæ si ab omni aëre suo ope antliæ pneumaticæ prius liberata, dein aëri exposita ex uno vase in alterum sæpius transfundatur, tum denuo indatur recipienti, observabitur exantlato inde aëre aquam rursus bullulas aëreas emittere, nec tamen aquam statim post transfusionem majus occupare spatium, quam antea occupaverat vel nunc iterum occupet aëre privata, unde colligo aërem durante transfusione aquam subeùntem intimos ipsius poros occupasse, nulla tamen facta ipsorum dilatatione: talis igitur sanguis in intimis suis visceribus aërem fovens fertur ad sinistrum cordis ventriculum, cujus validissima contractione miscela Condensatur in sinistro cordis ventriculo.aëris cum sanguine non solum perficitur, sed & aër ille poris sanguinis incarceratus valide condensatur, adeo ut ejus vis elastica multum augeatur; hinc in ultimas arteriolas magnâ vi cordis propellitur, per quas cum difficulter transeant globuli sanguinei, fit ut hi iterum valde comprimantur, ac proin aër in illis contentus adhuc magis condensetur sanguinique involvatur.
Fertur cum sanguine ad fibras musculares.§.3. Sanguis aëre densissimo refertus inter alias partes etiam fertur ad musculos & præcipuè subit fibras musculares, quas Borellus cylindrulos excavatos & plurimis nodulis, à fibrillis transversis ortis, distinctos observavit; intra hos cylindrulos sanguis non subsultim & per intervalla uti in arteriis, sed lento, placido, continuo & æquabili gradu procedit; adeo ut spiritus animales per nervos (quorum semper aliquis ramulus in quamlibet fibram muscularem hiat) in hos cylindrulos illapsi perpetuo sanguinem offendant; particulæ igitur spirituum animalium instar cunei seu pyramidis formatæ & pro nutu animæ in cavum fibrarum muscularium explosæ cuspidibus suis in poros globulorum sanguineorum insinuatis diffringent ibidemque producit motum musculorum.hosce globulos, quo facto aër incarceratus & jam sui juris factus impetum facit in latera fibrarum muscularium, quas proin inflando, musculorum producit motum; primo autem facto [17] impetu ob subtilitatem suam statim avolat in auras, sicutì saccus ex rara sindone factus & inflatus primo quidem tumefit, sed statim denuo concidit, hinc ut intumescentia musculi continuetur, necesse est, ut semper novi spiritus novusq́ue sanguis suppeditentur, vid. mei Parentis Diss. de Motu Muscul. ubi eodem modo motum musculorum explicat, omissâ tamen solutione quæstionum, quæ extra institutum Ipsius erant, unde aër ille veniat? quomodo cum sanguine misceatur? quomodo novus semper suppeditetur? quomodo condensetur? &c.
§.4. Intelligis jam usum respirationis hactenus tam desideratum, Usus respirationis.respiratio nempe suppeditat aërem subtilissimum, qui sanguini intimè permistus, valide condensatus, ad fibras motrices latus atque ope spirituum animalium sui juris factus, musculos muscularesque membranas inflat, contrahit, movet, atque hinc dependentem, circulationem humorum promovet, omnibusque corporis partibus mobilibus motum impertit. Vides statim necessitatem hujus usus, sine motu enim nullum animal ne per tantillum quidem temporis vitam protrahere potest; quo ipso respirationis necessitas tam facili negotio explicata haud parum commendat opinionem nostram de respirationis usu, interim non desunt alia insuper argumenta eandem confirmantia 1. quod valde Qui multis rationibus probatur.probabile sit, musculos moveri mediante aëre, & quod aër hic commodissimè à respiratione deduci possit; 2. quod ligatâ arteriâ ad musculum quendam tendente statim pereat motus illius musculi, quod ipsum indicat sanguinis ad musculum affluxum omnino necessarium esse ad eundem movendum; jam verò non video, quomodo sanguis concurrat ad movendos musculos, nisi mediante, quem secum vehit, aëre; 3. quod instinctu naturali fortius & frequentius respiremus saltantes, currentes similive alio vehementi corporis motu nos defatigantes, quam facimus tranquilli & blando somno detenti; 4. quod animalia torpida & lento gradu incedentia minus respirent; quam animalia alacriora & vivaciora; 5. haud parum in rem nostram facit observatio illa quod sanguis venosus insultus epilepticos passorum sit multò & nigrior & minus spumosus utpote motibus epilepticis aëre exhaustus; 6. quod aër rarefactus & inspiratus insignem debilitatem nobis inducat,[18] quod phænomenon deinceps in 4⁰. cap. explicabo.
§.5. Interim non ignoro, me supponere aliquid, cujus existentia à multis hodie in dubium vocatur, spiritus scilicet animales, quibus mediantibus una cum sanguine aëre condensato referto, motum musculorum absolvi innuimus. Argumenta Argumenta contra existentiam spirituum animalium,horum præcipua hæc sunt; 1. Spiritus nequidem oculo armato videri posse; 2. Nervos nimis esse compactos, quam ut quicquam transmittere possint; 3. Quod nos entia præter necessitatem multiplicemus, siquidem anima æque facile movere possit nervos & his mediantibus musculos ac movet spiritus, ad quæ respondetur.cum utrumque sit ens corporeum: Ast levia certe argumenta! priora duo nil aliud probant, quam exilitatem & subtilitatem spirituum, quam nemo negavit; tertium nimis probat, nam eodem modo nervos & ipsos musculos superfluos esse ostenderem, siquidem anima pro nutu suo facere posset, ut v. gr. brachium moveatur; sed concesso etiam, animam nervos movere posse, ostendant mihi quomodo motus nervorum sive tremulus sive crispatus sive quicunque alius musculos movere valeat, nisi mediantibus spiritibus; dicant, quomodo fieri possit, ut nervuli laxi possint producere motum musculorum, quorum quidam, si Borello credimus, plusquam 100000. librarum resistentiam superant; Hoc si mechanice explicare poterunt, victas Argumenta pro spiritibus animalibus.dabo manus, at certè non poterunt; Spirituum existentiam probant contra 1. cessatio motus post ligationẽ vel dissectionem nervi; 2. Fabrica cerebri & musculorum; 3. Symptomata vertiginem, paralysin, apoplexiam comitantia; 4. necessitas affluxûs sanguinis arteriosi pro musculis movendis; 5. Motus diaphragmatis in animalibus recens enecatis post nervi phrenici contrectationem versus diaphragma, quâ contrectatione non nervum sed fluidum quoddam in illis contentum movemus, quod dein unà cum sanguine mixtum diaphragmati motum impertit. 6. Continuatio motûs frustulorum vermium dissectorum, Quomodo frusta vermium dissectorum motum continuent?quæ optime derivari posse videtur à spiritibus animalibus, qui sive proprio elatere, sive à materiâ subtili, sive à radiis solaribus per nervos moti ipsa fragmenta insectorum movere valent; hinc commode deducitur ratio, cur frusta illa vermium radiis solaribus exposita diutius moveantur, quam in[19] loco obscuro posita: Stabilitis itaque spiritibus animalibus, non video quid amplius desiderari possit, pro confirmatione sententiæ nostræ de usu primario respirationis; usus autem respirationis secundarij jam diu constant, quibus proin describendis non immoror.
§.1. In hoc capite variorum phænomenorum, quæstionum atq; problematum nostræ materiæ affinium partim ab aliis jam propositorum, partim à me modo excogitatorum explicationem atque solutionem exhibiturus ordiar à problemate Harvejano, Problematis Harvejani solutio.quî scil. fiat ut fœtus secundinis exutus semel hausto aëre ne per momentum quidem absque respiratione vivere possit? quomodo fœtus secundinis exutus statim aërem haurire cogatur, jam supra vidimus cap.5.§.6. hâc verò primâ inspiratione vascula pulmonalia antea intorta extenduntur, adeo ut sanguis aliàs per tubulum illum arteriosum inter arteriam pulmonalem & aortam descendentem situm atque arteriæ pulmonali obliquè insertum fluere consuetus jam mutet cursum & recto tramite per arterias pulmonales feratur, unde tubus arteriosus à sanguine præterfluente humectatus statim consolidatur; ramuli verò pulmonalis arteriæ intorti nullum transmittunt sanguinem nisi inspiratione extendantur, hinc inhibitâ inspiratione sanguis, cum nec per tubum arteriosum nec per vasa pulmonalia transfluere queat, necessario sui stagnatione in pulmonibus mortem inferet: sed quæstio magis ardua videtur, cur post factam inspirationem cohibitâ Cur suppressâ exspiratione mors subsequatur.expiratione mors quamvis non ita subita subsequatur? Hæc quæstio eo magis ancipites tenuit solutionem sui aggressuros, quod pulmonibus aëre repletis circulatio sanguinis non impediri debere videatur; illud tamen non malè hoc modo explicari potest, dicendo, quod musculi inspirationi dicati, cum alternatim agant, non sint perpetuo post coërcitam expirationem in suâ actione perseveraturi: quibus ergo relaxatis descendunt costæ, ascendit diaphragma pulmonesque hac ratione valde compressi comprimunt aërem contentum, hic premit vascula sanguifera, adeo ut nullum transmittere queant cruorem, hinc iterum stagnatio sanguinis in pulmonibus, quam presso pede ipsa subsequitur mors; Tali igitur morte interemti non ideo moriuntur,[20] quod sanguis ipsorum nullo aëre imprægnatus musculis movendis sit impar, seu non moriuntur ob usum aëris primariũ sublatum, nam procul dubio, si sanguis circulationem suam per pulmones non obstante usu respirationis intercepto continuare posset, homines absque respiratione per plures horas vitam protrahere possent, tum demum morituri, quando sanguis ipsorum Urinatores quomodo per integras horas sub aqua vivere possint.aëre suo privatus musculos movere nequit. Hinc sine dubio omne urinatorum artificium in eo consistit, ut vel aquâ submersi sanguinis circulationem illæsam & integram conservent, non quidem per pulmones, sed per ipsas vias, quas sanguis in fœtu observat; facile enim conceptu est foraminis ovalis & ductûs arteriosi coalescentiam tam levem esse, ut sanguis per pulmones fluere nequiens, sicque impetum in foramen illud & tubum arteriosum faciens facilè per utraque victo obstaculo penetret: Hoc modo etiam fœtus secundinis adhuc involutus extra uterú per plures horas vivere poterit; Non dubito autem, quin urinatores aquam modo egressi per universum corpus insignem debilitatem percipiant ob magnam aëris jacturam; magnum tamen levamen sentiant, si celeri, magna & frequenti respiratione utantur, aërem consumtum hoc modo resarturi.
§.2. Hæc omnia egregie conveniunt cum sententiâ nostrâ circa usum respirationis; En hîc alia insuper quæstio à præmemorato Explicatio phænomeni alicujus à Borello recensiti.Borello in suo eleganti tractatu de Mot. animal. part.2. cap.6. prop.123. proposita, ubi refert quod in vertice montis Ætnæ, ubi aër cum propter calorem tum propter altitudinem montis valde rarus est, ex minimo motu etiam robustissimi maximam lassitudinem consequuti fuerint, cujus vero sublevationem persenserint quiescendo simulque frequenter anhelando: hujus phænomeni explicatio ex superius allatis de usu respirationis nullo negotio eruitur, quod idem tamen, quomodo ex alia hypothesi deduci possit non video; vidimus supra motum musculorum fieri mediante aëre ope spirituum ex sanguine erumpente; sunt autem vires aëris, ut densitates, ergo si aër montis Ætnæ sit v.gr. duplo rarior quam aër planitiei vicinæ, sane aër ille ad sanguinem transgressus non nisi dimidium effectum edet, quam ederet aër in planitie haustus, hinc in monte Ætnæ easdem vires intendere debemus ad superandam resistentiam v.gr. 50.ƚƀ. quas intendimus in planitiè[21] ad superandam resistentiam 100 ƚƀ. unde non miror amplius si insignem lassitudinem perceperint homines ex modico labore à se suscepto.
§.3. Superessent aliæ adhuc quæstiones circa respirationem
solvendæ, sed illis brevitatis gratiâ non immorabor; quædam
adhuc superaddam problemata Mathematico-Medica, satis curiosa
ut subjungam eorundem solutionem; Problema 1. Quæritur
angulus inter costam & spinam talis, ut minima fibrarum intercostalium
tensione pectus maxima amplietur quantitate seu ut ampliatio
pectoris divisa per tensionem fibrarum intercostalium faciat maximum:
antequam ad solutionem hujus me accingam, duo sequentia
Solutio problematis
Mathematico-Medici.præmittam lemmata; lemma 1. quô minor est angulus inter costas
& spinam, eò major est ampliatio pectoris, si costæ in omni situ per
æqualem arculum eleventur; sit enim AM (fig.3.) spina dorsi,
AD costa in situ inferiori & AG eadem costa in situ superiori
ac posito AD & AG elevari per arculos æquales & indefinite
parvos DN & GE demissisq́; ex punctis D, N, G & E, ad AM
perpendicularibus DP, NF, GO & EB, ac ductis ipsi AM
parallelis DC & GI, erit ampliatio pectoris in situ costarum
ipsi AD parallelarum ad ampliationem pectoris in situ costarum
ipsi AG parallelarum ut NF—DP vel NC ad EB—GO
vel EI seu (ob similitudinem triangulorum DCN & GIE, cum
triangulis DPA & GOA, pariter ac duo priora æquales hypotenusas
habentibus) ut AP ad AO; est autem AP major quam
AO ergo etiam NC major quam EI, atque proin pectus eò
magis ampliatur, quo costæ minorem cum spina faciunt angulum
Q. E. D. lemma 2. quo minor est angulus inter costas & spinam
comprehensus eò major est tensio fibrarum intercostalium costas elevantium;
Tensio fibrarum cæteris paribus reciproce est proportionalis
earundem numero; jam vero si AR (fig.4.) iterum sit
spina, EF & AG duæ costæ proximæ in situ obliquo, AB & ED
eædem costæ in situ ad AR perpendiculari ductisque ad AG
productam & ad AR perpendicularibus FM & GN, patet spatium
ABDE fore majus spatio AGFE, adeo ut eò plures fibras
continere possint costæ, quo magis sunt perpendiculares ad spinam;
cum præterea musculi intercostales trahant costas secundum
directionem cum spinâ parallelam, poterit vis, quâ fibræ[22]
intercostales sursum trahunt costam FE, repræsentari per ipsam
GF, quæ resolvatur in GM & MF, quarum sola posterior effectum
suum integrum exerit, priore contra tota evanescente, utpote
resistentiæ costarum nihil oppositâ; resistentia autem hæc
non consistit in gravitate costarum, siquidem non facilius supini
jacentes quam erecti respiramus: sed consistit potissimum in vi
elasticà sterni, quâ resistit actui incurvationis, necesse enim est, ut
in qualibet inspiratione incurvetur, quemadmodum deinceps
demonstrabo; Huic verò resistentiæ sola MF opponitur in situ
costarum obliquo; Hinc vis fibrarum inter costas AG & EF
contentarum, in duas alias secundùm directiones GM & MF est
resolvenda quarum illa inutilis, hæc in elevandas costas impenditur;
cum itaque fibræ inter costas AG & EF contentæ sint
numero pauciores quam fibræ quas costæ ad spinam perpendiculares
continere possent, & illæ fibræ numero jam pauciores
etiam majorem vim adhibere debeant ad costas elevandas, patet
quod tensio fibrarum eò major sit, quo minor est angulus FER;
Q.E.D. Ex hisce facile nunc redditur ratio, quare angulus inter
costas neque valde acutus sit, neque valde ad rectum accedat;
nam in priori casu nimiâ vi opus fuisset ad costas elevandas
in posteriori autem cavitas pectoris elevatione costarum non satis
aucta fuisset; ut ergo jam exacte definiamus angulum talem
ut ampliatio pectoris habeat maximam rationem ad tensionem
fibrarum seu ut ampliatio pectoris divisa per tensionem fibrarum
faciat maximum, quærenda est primò tensio fibrarum costam
EF elevantiú & secundo ampliatio pectoris à costis ipsi EF parallelis
formati; Hunc in finem vocetur AB = ED = AG =
EF =
, BD = AE = GF =
, AN =
, numerus fibrarum
(quas comprehendere possent costæ, si essent ad spinam perpendiculares)
=
, tensio singularum fibrarum (quam patiuntur in
elevatione costæ ED) =
ac vis, quam adhibent =
& reperietur
numerus fibrarum inter costas AG & EF, dicendo ut parallelogr.
AD ad parallelogr. AF seu ut DE (
) ad GN
ita
ad
quæ quantitas exprimit numerum
fibrarum inter AG & EF, comprehendi valentium;
Porro si GF exprimat vim, quam singulæ fibræ in elevatione[23]
costæ EF adhibent, tunc MF exprimet vim quam eædem fibræ
adhibere deberent, si essent ad costam perpendiculares, atqui fibræ
inter costas BA & DE contentæ sunt perpendiculares ad costam,
ergo vis singularum fibrarum inter BA & DE contentarum
est ad vim singularum fibrarum inter AG & EF comprehensarum
ut MF ad GF seu ut GN ad GA, erit proin vis (quam
singulæ fibræ, positâ earum summâ n, costam EF elevando adhibent)
=
, sunt autem tensiones fibrarum æqualem resistentiam
superantium (suppono enim costas in omni situ æqualiter
elevationi resistere, quod etiam citra errorem supponi potest)
in ratione composita ex reciprocâ ratione fibrarum numeri
& directâ ratione vis, quam fibræ ad superandam resistentiã exererent
si essent numero æquales, erit adeoque tensio fibrarum costam
EF elevantium =
; ampliatio autem pectoris in
omni situ proportionalis est (ut vidimus in lemmate 1.) ipsi AN
(
); oportet itaque, ut
divisum per
faciat maximum, ergo
differentiale quantitatis
erit = nihilo, unde emergit
; hinc habebitur ex tabula sinuum angulus NAG
54 gr. 44 min. Q. E. I. Notari hîc potest triangulum AGN
esse semitriangulum per axem coni omnium idem latus habentium
maximi. Et reverâ angulum NAG talem circiter esse, qualem
ipsum definivimus, inspectio sceleti docet, quod ipsum veritatem
hypothesium, quibus solutio innititur, mirè confirmat
& simul indicat, quod Natura nunquam & nusquam sui oblita
regulas mechanicas constantissimè observet, hinc mirum, multos
mechanicæ planè expertes eò temeritatis procedere, ut functiones
partium animalium explicare & earundem structuræ
rationem reddere non erubescant.
Problema II. Determinare quantum respiratio lædatur, datâ
Solutio alterius
problematis.magnitudine Vulnerum in pectoris cavitatem hiantium: Solutio;
Observatum jam diu fuit Vulnera pectoris in ejusdem cavitatem
penetrantia perturbare respirationem & quidem plus minusve
pro ratione magnitudinis vulnerum, notatum quoque respirationem[24]
plus diminui, si utrumque pectoris latus suo vulnere
vulneratum fuerit, quam si alterutrum tantum pectoris latus
quamvis duobus vulneribus pertusum fuerit; hæc quidem jam
diu experientiâ nota sunt, at nemo accuratiùs illa consideravit
nec calculo subjicere tentavit; Generalem proin hîc apponam
regulam inveniendi quantitatem, quâ respiratio diminuitur, datis
magnitudinibus vulnerum cavitatem pectoris sive unam sive
utramque penetrantium; sed prius sequentia notanda hîc veniunt;
tota pectoris cavitas in duas æquales partes dirimitur à
mediastino, quæ nullam inter se habent communicationem; ad
quamlibet harum cavìtatum abit ramus asperæ arteriæ æqualis
magnitudinis, qui in infinitos dein dividitur ramulos; in expiratione
aër fere omnis expellitur, in inspiratione autem aër per
laryngis rimulam & hinc per asperæ arteriæ ramos utrumque
pulmonis lobum subit; vulnerato itaque pectoris alterutro latere,
pars aëris durante inspiratione cavitatem pectoris per vulnus
ingredietur & reliqua pars aëris per rimam laryngis in pulmonum
lobum lateris vulnerati intrabit, altero interim lobo non
minus aëris recipiente, quam illæso pectore recipit, siquidem
cavitas pectoris lateris illæsi nullam habet cum altero pectoris
latere communicationem; erit vero quantitas aëris per vulnus
irrumpentis ad quantitatem aëris per rimulam pectus vulneratum
subeuntis ut magnitudo vulneris ad magnitudinem rimulæ;
ponamus nunc magnitudinem vulneris dextri lateris =
,
magnitudinem vulneris sinistri lateris =
, magnitudinem rimæ
laryngis =
, quantitatem aëris, quæ illæso pectore in alterutrum
pulmonis lobum ruit =
& reperietur quantitas aëris
dextrum lobum subeuntis =
, quantitas aëris sinistrum lobum
ingredientis =
proindeque quantitas aëris per dextrum
vulnus intrantis =
& pariter quantitas aëris per sinistrum
vulnus irrumpentis =
, adeo ut tota aëris quantitas
per ambo vulnera pectoris cavitatem influentis sit =
,
quæ quantitas denotat, quantum respiratio diminuatur vulnerato
pectore. Q. E. I. Si plura fuerint vulnera in uno eodemq;
latere illa omnia consideranda sunt tanquam unum vulnus magnitudine[25]
omnibus simul sumtis æquale: Interim ex allatis patet,
cur & quantum inspiratio minus perturbetur unico pectoris
latere vulnerato, quam ambobus pectoris lateribus vulneratis,
etsi magnitudo vulneris in illo casu non minor sit, quam ambo
simul in altero casu; si enim in quantitate
inspirationis
diminutionẽ denotante ponas
&
, (id est, si
ponas dextrũ latus illæsum & sinistrũ latus duobus vulneribus
&
vulneratũ) illa degenerabit in hanc
, quæ præcedente
minor est quantitate
;
hæ formulæ nos docent, quod si ambo pectoris latera vulnere
rimæ laryngis æquali pertusa essent, respirationem sui dimidio
diminui, cum eadem tertia tantum parte diminuatur, si ambo
vulnera in eodem existant latere: hisce parum experientia suffragari
videtur primo intuitu, si attendamus, quod Ranæ totum
pectus apertum habentes, respirationem non impeditam conservent,
cum tamen per regulam nostram nullum inspirare possent
aërem, siquidem vulnus pectoris tunc infinities majus censeri
potest rimulâ laryngis; hîc respondendum, ranas præ cæteris animalibus
gaudere musculis, quibus aërem deglutiunt potius
quam inspirant, adeo ut in illo casu aër non tantum proprio elatere,
sicuti in aliis animalibus, pulmones subeat, sed & in illos vi
musculorum detrudatur.
Solutio quæstionis
anatomicæ.Problema III. Quæritur ratio, cur sternum sit cartilagineum, non
osseum? Solutio; Hæc quæstio à multis dudum agitata fuit, nec
id immerito, nam mirum est, quod cum costæ sint osseæ, sternum
tamen licet cum costis communem usum habeat, sit cartilagineum;
ut ergo & nos quæstionis hujus solutionem tentemus,
notandum est, ossa esse inflexibilia secus ac cartilagines quæ &
flexiles & elasticæ existunt; jam vero probabo necesse esse ut in
Sternum in
qualibet inspiratione
incurvari
demonstratur.qualibet inspiratione sternum extrorsum incurvetur unde patebit
ejus substantiam non aliam quam cartilagineam esse potuisse
ut nimirum se incurvari pateretur; sterni incurvatio autem durante
inspiratione sic demonstrari potest; quamquam hucusque
omnes costas facilioris calculi gratiâ tanquam æquales consideravimus,
tamen inspectio sceleti docet costas sibi invicem parallelo
[26]
situ superincumbentes inferiores superioribus (excipimus
costas spurias, quæ non connectuntur im̃ediatè cum sterno) esse
gradatim majores: sit igitur (fig.5.) AN spina dorsi; ND inferior
costa vera cum superiore AB parallela, ponatur costas has in
inspiratione sursum moveri per angulos æquales DNE & BAC;
ducantur lineæ rectæ DE & BC, quæ sibi invicem erunt parallelæ;
erit etiam DE major quam BC (siquidem triangulum
isosceles DNE est simile triangulo isosceli BAC & ND per hypothesin
est major quam AB) fiat itaq; DF = ipsi BC; cum porro
angulus NED sit = ang. NDE, qui est major angulo BDE
vel CFE, erit ang. NED major angulo CFE, ergo â potiori erit
ang. CEF major angulo CFE, unde etiam linea CF vel BD erit
major quam CE, Ergo, ut sternum, quod protenditur ante inspirationẽ
à puncto D ad B possit contineri inter puncta E & C necesse
est ut incurvetur accedendo ad figurã curvam CME. Q.E.D.
Vel idem hoc modo & quidem brevius demonstratur; Ductâ BR
ipsi AN parallelâ, erunt BR & RD constantis magnitudinis, unde
magnitudo lineæ BD dependet à magnitudine anguli BRD
= AND, qui cum elevatione costarum decrescat, diminuetur etiam
BD, ergo ut sternum semper easdem costarum extremitates
connectere queat incurvari debet Q.E.D. Corollarium; Confirmatur
hinc sententia plurium Anatomicorum, motum costarum
in exspiratione esse merè restitutivum; hoc enim modo costæ sine
ullius musculi ope descendere possunt, ut quæ à sterno, ex curvedine
in rectum resiliente instar laminæ chalybeæ post peractam
musculorum intercostalium actionem deprimuntur; Perspicuum
etiam est, quod sternum quo mollius est, eo magis incurvari
possit, hinc fit quod videmus, in infantibus sterno molli
gaudentibus motum costarum multo esse sensibiliorem, quam in
senibus, quibus tandem sternum in osseam fere substantiam degenerat.
Sed ne dissertationis Academicæ limites transgrediar hîc pedem figo: ubique brevitati studui alioquin adjecissem quintum caput de variis modis, quibus Respiratio lædi potest; De hac materia uberius disserendi alio forsan, tempore dabitur occasio, si quid interim in explicationibus hic traditis aliquid omissum aut obscurius deprehenderit B. Lector, illud adhibita attentione ipse haud difficulter supplebit aut illustrabit.
The spellings "expirare"/"exspirare", "expiratio"/"exspiratio" (with various inflections) occur, and have been left unchanged.
All examples of "aer" (and other cases) have been amended to "aër", &c.
p. 8 §7: in the sentence beginning "Licet etiam calculo invenire quantitatem aëris...", "quantitarem" has been amended to "quantitatem".
Some missing full-stops have been silently reinserted.