Title: Baharia Oasis
Its topography and geology
Author: John Ball
H. J. L. Beadnell
Release date: April 10, 2024 [eBook #73366]
Language: English
Original publication: Cairo: National Printing Department, 1903
Other information and formats: www.gutenberg.org/ebooks/73366
Credits: Galo Flordelis (This file was produced from images generously made available by the HathiTrust Digital Library/Cornell University)
Large-size versions of illustrations are available by clicking them.
SURVEY DEPARTMENT, PUBLIC WORKS MINISTRY
EGYPT.
BY
JOHN BALL, Ph. D.,
A.R.S.M., Assoc. M. Inst. C.E.
AND
HUGH J. L. BEADNELL, F.G.S., F.R.G.S.
CAIRO
National Printing Department
1903
| Pages. | |||
| PREFACE | 5 | ||
| CHAPTER | I. — | Introduction | 7 |
| „ | II. — | Surveying Methods and General Results | 11 |
| „ | III. — | The Roads connecting the Oasis of Baharia with the Nile Valley and with other Oases | 17 |
| „ | IV. — | Topography, with Notes on the Water-Supply, Inhabitants, etc. | 37 |
| „ | V. — | Geology | 47 |
| „ | VI. — | Antiquities | 73 |
| Plates. | |||
| Plate | I. — | Map of the Oasis geologically coloured | at end |
| „ | II. — | Sketch Map showing Position of the Oasis | „ |
| „ | III. — | Villages and Principal Sources of Water | „ |
| „ | IV. — | Section through Western Escarpment, 11 kilometres north of south end of Depression | „ |
| „ | V. — | Diagrammatic Section from hill 15 kilometres north-east of Ain el Haiss to the Eocene-Cretaceous junction on desert to west | „ |
| „ | VI. — | Section from Mandisha through Jebel Mayesra and Conical Hill to Western Plateau | „ |
| „ | VII. — | Map of the Synclinal fold from Jebel Hefhuf to its termination in the Western Plateau, 13 kilometres north-west of Ain el Haiss | „ |
| „ | VIII. — | Sketch sections of Eastern Scarp | „ |
| Illustrations in the Text. | |||
| Fig. | 1. — | Section across Syncline, 12½ kilometres north-west of Ain el Haiss | 66 |
| „ | 2. — | Sketch shewing probable relations of Eocene and Cretaceous in Anticline on Western Desert Plateau, 11½ kilometres north-west of El Qasr | 69 |
The geological examination of the Oases of the Libyan Desert was commenced in 1897, when two parties were sent out to Baharia Oasis, one under the charge of Dr. Ball, who, with Mr. G. Vuta as topographer, started from Minia and explored the eastern half of the area, while Mr. Beadnell with Mr. L. Gorringe as his topographer started from Maghagha and examined the western side of the oasis. The expeditions commenced work in October, and mapping on the scale of ¹⁄₅₀₀₀₀ the whole area was surveyed before the end of the year. The return traverses were made to Minia by the first party via Farafra to Assiut by the second. The following chapters and maps set forth the results of this joint exploration, certain gaps being filled from the data of Ascherson.
[7]BAHARIA OASIS
Introduction.
The Oasis of Baharia (or Northern Oasis), also known as the Little Oasis, lies between the parallels 27° 48′ and 28° 30′ of north latitude, and between the meridians 28° 35′ and 29° 10′ east of Greenwich, being thus situated in the Libyan Desert about 180 kilometres, or four to five days’ march by camel, west of the Nile Valley (Sketchmap, Plate II). Like the other oases of the Western Desert (Farafra, Dakhla and Kharga) to the south, Baharia is a large natural excavation in the great Libyan plateau; it differs, however, from those oases, which are open on one or more sides, in being entirely surrounded by escarpments, and the vast number of isolated hills within the depression form an unique topographical feature. In Baharia, as, with the exception of Dakhla, in the oases generally, the cultivated area bears only a very small proportion to the total oasis-area, the remainder of the floor of the natural excavation being barren desert. The oasis contains four principal villages, all situated in its northern portion, and it is in the neighbourhood of these that water, and consequently vegetation, is most abundant.
The early history of Baharia is shrouded in an obscurity greater even than that surrounding the history of Kharga. That it was inhabited at a very early date is shown however by a stela of the reign of Thothmes II (about B.C. 1600-1500) found there by Ascherson, by a tomb of the 19th dynasty (B.C. 1300) and fragments of two temples, one dating from the reign of King Apries (B.C. 588-570) and the other from the reign of Amasis (B.C. 569-526), discovered by Steindorff in 1900, and by the references to it in the Ptolemaic inscriptions of the temple of Edfu. The oasis of Baharia is referred to in the[8] hieroglyphic inscriptions of its newly-discovered temples as “the northern oasis of Amenhotep,” and as “the oasis Huye”; by Strabo it is called δεύτερα “the second” and by Ptolemy ὄασις μικρὰ “the small oasis.” The Romans have left traces of their occupation of Baharia in an arch near the village of El Qasr[1] and other ruins, as well as in numerous wells and underground aqueducts, which latter are still used by the present inhabitants. Fragmentary ruins of churches and a Coptic village attest the fact of the occupation of the place during Christian times. At present Baharia, along with the neighbouring oasis of Farafra to the south, is administered as part of the Mudiria of Minia, and is fairly prosperous, though lacking in enterprise to an even greater extent than is shown by the two southern oases of Dakhla and Kharga.
The first European traveller to reach the oasis of Baharia appears to have been Belzoni,[2] who reached it from Beni Suef on May 26th, 1819, and after spending some eleven days there returned by the same route. Though his observations appear to have been correctly made, the description of his travels is largely coloured by imagination, and his map appears only to have been a rough sketch. He erroneously confused Baharia with the oasis of Jupiter Ammon, whose temple he imagined he had found in the remains of the Roman arch near El Qasr, the chief village of the oasis. It is hardly necessary to remark that the oasis of Jupiter Ammon is really that now known as Siwa, situated some 340 kilometres west-north-west of Baharia.
The earliest connected modern account of the oasis of any value is that of Cailliaud,[3] who with Letorzec visited the place in 1820 on his way from Siwa to Farafra, and during a stay of about six weeks examined and mapped some of its principal features. He drew attention to its antiquities and gave a careful description of the hot springs and ancient aqueducts, besides taking a number of observations of latitude and noting some of the topographical and geological features, such as the occurrence of volcanic rocks in the oasis. Cailliaud records his meeting in Baharia with Hyde, an English traveller, who,[9] however, does not appear to have published any account of his wanderings.
In the winter of 1823-1824 Baharia was visited by Pacho in company with F. Muller. In an account of Pacho’s travels[4] published after his unhappy death, there is no reference to his observations in this oasis beyond an indication of his route on the map.
Wilkinson[5] visited the oasis of Baharia in 1825.
The Rohlfs’ expedition of 1874,[6] with the distinguished scientists K. von Zittel and W. Jordan as geologist and topographer respectively, added very considerably to our knowledge of Baharia, more especially in the way of fixing precisely the geographical positions and levels of its principal points. Zittel, however, did not visit this oasis, and in consequence its geological structure was not studied, the few references to it made in the publications of the Rohlfs’ expedition being based on an examination of specimens collected by Ascherson.
Probably the most accurate map hitherto existing of Baharia Oasis is that of Ascherson,[7] who spent nearly three months there in 1876. Ascherson, who entered the oasis by the road from the Fayum and returned to Samalut, chiefly directed his attention to botanical observations, but his memoir contains some valuable topographical and geological information which supplements that of previous and later observers in important measure; he has also the distinction of finding the stela of the reign of Thothmes III already referred to, and the remains of an Egyptian temple; the latter is probably identical with one of those discovered by Steindorff in 1900.
The short memoir by Capt. H. G. Lyons, R.E.,[8] published in 1894, brought together a number of observations on the geology of the Libyan Desert generally, and his discovery of fossils, referred to Exogyra Overwegi, for the first time established the Upper Cretaceous age of the[10] clays and sandstones forming the floor and lower part of the scarp in the northern end of the depression.
In 1897 the Geological Survey carried out its examination, the results of which are set forth in the following chapters.
Since the survey expedition, Baharia has been visited by Steindorff,[9] who during his five days’ stay in the oasis made important additions to our knowledge of its antiquities. These will be further referred to in the chapter on the topography of the oasis.
[1]This ruin was described by Cailliaud (Voyage à Méroé. etc., vol. I, p. 183) who records that in his time (1820) only the central arcade remained standing. Steindorff found in 1900 that even this last fragment had fallen.
[2]Narrative of the Operations and Recent Discoveries within the Pyramids, Tombs, and Excavations in Egypt and Nubia, and of a Journey to the Coast of the Red Sea, in search of the Ancient Berenice, and another to the oasis of Jupiter Ammon.—London, 1820, pp. 395-433.
[3]Voyage à Méroé, au Fleuve Blanc, an-delà de Fàzogl dans le midi du Royaume de Sennàr, à Syouah et dans cinq autres Oasis. Paris, 1826. The work consists of four volumes, accompanied by numerous maps and plates illustrating the antiquities.
[4]Relation d’un voyage dans la Marmarique, la Cyrénaique et les Oasis d’Audjelah et de Maradèh. Paris, 1827. (This date is probably wrong, as a reference is made in the work, (p. VII) to the suicide of Pacho on Jan. 26th, 1829).
[5]Modern Egypt and Thebes. London, 1843, vol. II, p. 357-371.
[6]See G. Rohlfs, Drei Monate in der libyschen Wüste, Cassel, 1875; Jordan, Physische Geographie und Meteorologie der libyschen Wüste, Cassel, 1876; and Zittel, Geologie der libyschen Wüste. Cassel, 1883. Jordan appears to have been the only member of the Rohlfs’ party to actually visit Baharia. He left the other members at Lake Sittra (N. lat. 28° 42′ 40″, long. 27° 4′ 23″, E. of Green.) and entered Baharia from the N.W. of El Qasr; after passing about 1½ days in Baharia Oasis he journeyed southwards via Farafra to rejoin his colleagues in Dakhla.
[7]Zeitschrift der Gesellschaft für Erdkunde zu Berlin, Band 20, Heft II, 1885. Also Dr. Schweinfurth’s summary of Ascherson’s results in “Petermann’s Mittheilungen,” 22. Band, 1876, p. 264.
[8]On the Stratigraphy and Physiography of the Libyan Desert of Egypt. Q. J. G. S. Nov, 1894, pp. 531-547.
[9]Vorlaüfiger Bericht über seine im Winter 1899-1900 nach der Oase Siwa und nach Nubien unternommenen Reisen.—Königl. Sächs. Gesellschaft der Wissenschaften zu Leipzig, 1900, p. 226. Steindorff entered the Oasis from Siwa, and returned from it via the Fayum. He appears only to have visited the northern part of Baharia.
Surveying Methods and General Results.
Crossing the Libyan Desert from Maghagha and Minia respectively, the two parties of the Geological Survey met at a joint camp close to Zubbo, one of the chief villages of the oasis. It was desirable to fix this meeting-point as a primary station for the subsequent plotting of the maps. Cailliaud[10] gave the latitude of Zubbo as 28° 21′ 47″, and its longitude as 26° 43′ 46″ E. of Paris, (equivalent to 29° 3′ 55″ E. of Greenwich). Jordan gave for Bawitti the position N. lat. 28° 21′ 12″, long. E. of Greenwich 28° 56′ 45″. Taking the difference of latitude and longitude between Bawitti and Zubbo as found by the Survey, viz., lat. + 55″, long. + 4′ 16″, we have as the equivalent of Jordan’s latitude for Zubbo 28° 22′ 7″, and for his longitude 29° 1′ 1″ E. of Greenwich. Thus, while there is a fair agreement between the two authors as regards latitude, there is a difference of 2′ 54″ in the values of the longitude.
The longitude is of course always the difficult matter in the geographical determination of places not easy of access. Cailliaud’s value rests on the method of distance and azimuths, both roughly determined only; Jordan, on the other hand, used the absolute though not very precise method of lunar distances measured with a sextant. The Survey parties depended entirely on direct measurement by means of measuring-wheels from known points in the Nile Valley; the values obtained in this way are tabulated below[11].
I.—Traverse from Maghagha to Zubbo.
| Maghagha Railway Station, long. E. of Greenwich | 30° | 50′ | 49″ |
| Recorded west departure, Maghagha to Zubbo, 187·77 km. | 1 | 56 | 46 |
| Giving long. of Zubbo | 28 | 54 | 3 |
[12]II.—Traverse from Minia to Zubbo.
| Minia Railway Station, long. E. of Greenwich | 30° | 45′ | 39″ |
| Recorded west departure, Minia to Zubbo, 176·32 km. | 1 | 47 | 50 |
| Giving long. of Zubbo | 28 | 57 | 49 |
III.—Traverse from Zubbo to Minia, via the south end of the Oasis.
| Recorded east departure, Zubbo-Minia, 174·87 km. | 1° | 46′ | 45″ |
| Minia Railway Station, long. E. of Greenwich | 30 | 45 | 39 |
| Giving long. of Zubbo | 28 | 58 | 54 |
The arithmetic mean of these three determinations is 28° 56′ 55″; owing, however, to the breakdown of the measuring-wheel during the outward traverse from Maghagha, and the consequent necessity of estimating a part of the distance traversed by the time taken in marching, the different traverses are not equal in value, and the longitude finally adopted by the survey, as the best approximation after investigation of the various sources of error in the measurements, was 28° 58′ 34″. It would thus appear that Jordan’s position may be a little too far east, the difference amounting to 2′ 27″, or about 3½ kilometres, while Cailliaud’s value would place the position at a rather less distance west of that adopted.
The survey observations confirmed the accuracy of Jordan’s latitude (28° 22′ 7″), from which the value found by Cailliaud differs, as already remarked, only slightly.
The surveying operations within the oasis were based on a rapid plane-table triangulation from a measured base line within it, details being simultaneously sketched in, on a scale of ¹⁄₅₀₀₀₀. The site chosen for the base was a level stretch of ground extending between the camp at Zubbo and an isolated clump of date-palms to the north-east; the length of this line was found by repeated wheel-measurement to be 3·88 kilometres. The two parties ran off their triangulations from this base to the surrounding hills, and carried on the mapping southward by plane-table, taking stations chiefly on the hills and prominent points of the scarps, and not meeting again till Ain el Haiss, in the southern part of the oasis, was reached. Here a test was made as to agreement of the two sets of maps, only a small difference being found. The position of Ain el Haiss, as found by taking the mean of the two determinations, is latitude 28° 2′ 11″ N., longitude 28° 39′ 19″ E. of Greenwich; this places the spring about 4′ 18″ east of Jordan’s determination (lat. 28° 1′ 55″ N., long. 28° 13′ 47″ E. of Green.).
[13]The two parties made a third connection at the extreme south end of the oasis-depression. Our observations for this point give its latitude as 27° 48′ 13″ N., and its longitude as 28° 32′ 19″ E. of Greenwich, placing it very near the position shown on Jordan’s map.
The plane-table method making use of the magnetic meridian, it was imperative to determine the amount of declination of the compass. This was done at one point only, viz., at the south end of the oasis, the value found (by observation of the transit of Polaris) being 4° 50′ W. The declination is fairly constant over the entire area, except near the eruptive dolerite masses, the magnetite in which causes a very sensible deflection of the needle; in the neighbourhood of these, however, the surveying was carried on independently of the compass. With regard to the yearly change of declination, we have as data the previous observations of Cailliaud, who found the declination at Zubbo in January, 1820, to be 12° 13′ W.; of Jordan, who obtained the value 6° 56′ W. in March, 1874; and of Capt. Lyons,[12] whose observations with a Bamberg declinatorium at Mandisha in April, 1894, gave the value 5° 8·9′ W. Tabulating these:—
| Observer. | Date. | Observed Declination W. | Yearly change. | |
|---|---|---|---|---|
| Cailliaud | January 1820 | 12° | 13′ | |
| Jordan | March 1874 | 6° | 33′·6 | 6′·3 |
| Lyons | April 1894 | 5° | 8′·9 | 4′·2 |
| Geological Survey | December 1897 | 4° | 50′ | 5′·3 |
In view of the magnitude of the diurnal variation, which may range up to 10′ of arc, and our present lack of knowledge of the distribution of this diurnal variation during the twenty-four hours, a comparison after so short an interval as that between the last two observations is not to be trusted. It would seem proved from the three foregoing observations that the yearly variation is at present decreasing, the mean from 1820 to 1874 being 6′·3 as against 4′·2 for the period 1874-1894. This decrease is also noticeable in comparisons of the declinations observed at different times in other parts of Egypt.
The altitudes above sea-level of the principal points, more especially in the eastern half of the oasis, were determined with a Watkin aneroid barometer, which had been compared with the Cairo standard mercurial barometer. A fairly long stay was made at the Zubbo[14] camp, and the altitude of this point may be regarded as fairly accurately fixed by the observations tabulated below:—
| Date and Time. | Zubbo. Bar. (corrected). |
Cairo. Bar. (corrected). |
Difference. | ||
|---|---|---|---|---|---|
| mm. | mm. | mm. | |||
| October | 12, | 6 p.m. | 753·54 | 761·10 | 7·56 |
| „ | 14, | 8 a.m. | 754·94 | 763·04 | 8·10 |
| „ | 6 p.m. | 753·79 | 761·53 | 7·74 | |
| „ | 15, | 7.30 a.m. | 754·55 | 762·60 | 8·05 |
| „ | 9 p.m. | 754·30 | 762·64 | 8·34 | |
| „ | 17, | 7.15 a.m. | 754·18 | 761·84 | 7·66 |
| „ | 18, | 7 a.m. | 753·79 | 761·64 | 7·85 |
| noon | 752·52 | 761·34 | 8·82 | ||
| „ | 19, | 8.30 a.m. | 752·65 | 762·31 | 9·66 |
| Nov., | 26, | 3 p.m. | 754·81 | 763·29 | 8·48 |
| „ | 27, | 8 a.m. | 754·81 | 764·12 | 9·31 |
| Mean | 8·32 | ||||
Since 1 mm. of mercury corresponds at the mean temperature of observation (20° C.) to 11·4 metres of height, we have height of Zubbo camp above Cairo observatory = 8·32 × 11·4 = 94·7, or say 95 metres. Since the observatory is 33 metres above sea-level, the camp at Zubbo is 128 metres above sea-level. Jordan’s altitude for Bawitti, which probably lies at about the same level as Zubbo, is 113 metres, and when it is remembered that the point of the Survey’s observation lay not in Zubbo itself, but at the camp on elevated ground some 10 or 12 metres above it, the results show a very good agreement.
At Ain el Haiss three barometric observations were taken on different days; the comparison of these with the Cairo records would place this point 156 metres above sea-level. Jordan’s value is 122 metres, the number of observations on which this figure is based not being stated, it is difficult to say which of the two altitudes is the more probable.
At the remaining camps within the oasis, and at the camps en route between the oasis and Minia, corresponding observations were taken, the number of comparisons with Cairo varying from two to seven at an individual station. These observations being reduced and corrected by comparison among themselves gave the levels of the different camps with some degree of approximation to accuracy, and the altitudes of intermediate points were found by interpolation based on barometric readings. The resulting altitudes will be found on the map (Plate I); where no altitudes have been taken by the Survey, the values given by Ascherson on his map have been inserted.
[15]The statistics relating to the oasis, and the methods of cleaning out wells, are based on information supplied by the Government officials at Bawitti, and may be taken as fairly reliable. The particulars regarding water-supply are of course based mainly on direct observation during the survey of the villages.
The botany of the oasis having been fully studied by Ascherson[13] no attempt was made by the Survey to collect or describe the plants met with. The abundant growths of the beautiful maiden-hair fern (Adiantum Capillus Veneris)[14] will not, however, fail to strike even the casual visitor to the old Roman aqueducts, which still serve as the principal water-channels of the oasis. Nor were the animals of the oasis made the subject of any detailed observations, although the existence of several of the species of lizards and snakes common to the Nile Valley was recorded, and specimens collected when easily obtainable.
Baharia is not rich in archæological remains, and, with few exceptions, even those existing were not examined by the Survey, though the positions of all ruins met with during the work were mapped. In a later chapter will be found a connected though brief account of all the antiquities noted, the publications of previous authors being referred to wherever the descriptions cannot be given from personal observations.
The principal point attended to in the topographical mapping by the survey was the accurate delineation of the bounding scarps of the oasis and of the large number of hills within it. These features, of which an accurate map was essential for any proper consideration of the geology, had been only rapidly sketched by previous travellers, and the precise shape of the oasis was still unknown. In the cultivated spots, on the other hand, much had been done by Cailliaud, Jordan and Ascherson towards mapping the detail. Hence, beyond re-determining the precise positions of the main points and the general limits of the cultivated areas, no attempt at detailed mapping in these areas was undertaken by the Survey parties, it being felt that it would be preferable in the limited time available to concentrate attention on the almost totally unknown features, so essential to any geological consideration, rather than to devote considerable time to the details of the inhabited spots.
Thus, while the field maps resulting from the survey represented the oasis for the first time in its true shape, and the hills within it[16] in their true relative magnitudes and positions, they fell somewhat short of the maps of Ascherson and Cailliaud in the number of springs, ruins, etc., shown. The more important ruins overlooked by the survey have, however, been inserted approximately from existing maps, and the whole result (Plates I, III and VII), is an advance on the existing representations.
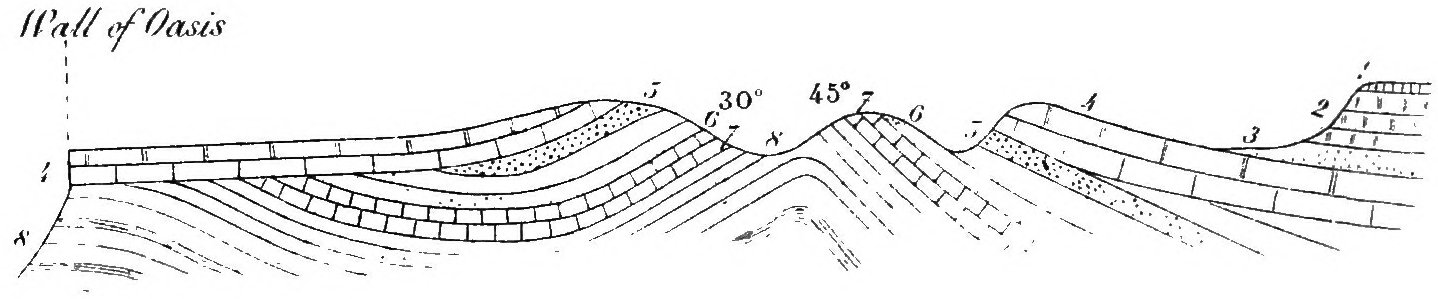
The geology of the oasis was very carefully investigated, this being a field in which comparatively little had been done, and a number of very interesting results were obtained. The principal points in this connection worthy of note resulting from the detailed examination of the scarps and hills are—
(i) The existence of a marked unconformity between the Upper Cretaceous and Eocene strata, thus confirming the unconformity between these two great systems which had been noted[15] earlier at Abu Roash; this unconformity has now been remarked in many parts of Egypt.[16] The palæontological proofs of this unconformity were obtained from the western scarp, the beds of the eastern side, though they show the same thickening, being much poorer in fossils;
(ii) The occurrence of an extensive series of Upper Cretaceous beds of Cenomanian to Danian age within the depression and forming a large part of the desert to the west;
(iii) The precise extent and relations of the dolerite capping some of the sandstone hills in the north of the depression;
(iv) The existence of well-marked folding having an important bearing on the origin of the oasis;
(v) The presence of ferruginous sandstone deposits of later origin than the primary formation of the oasis-hollow, though long anterior to the date when the work of excavation, which gave the oasis its present form, took place.
These points will be found discussed at some length in the chapter on the geology of the oasis.
[10]Op. cit., vol. IV.
[11]The positions of the two points of connection in the valley were determined by Capt. Lyons in 1896.
The return traverse via Farafra to Assiut is left out of consideration owing to its great length and consequent low value in the determination of the longitude of Zubbo. It agrees however, very closely with the others, owing to compensation of errors.
[12]Lyons, Proceedings of the Royal Society, vol. 71.
[13]Op. cit.
[14]The occurrence of this fern in the ravines of the Fayum may also be recorded here.
[15]Beadnell, H. J. L., Geological Magazine. Jan., 1900, No. 427, pp. 46-48; The Cretaceous Region of Abu Roash, near the Pyramids of Giza. Geol. Surv. Egypt, Report 1900, Part II, 1902.
[16]See Reports of the Geological Survey on Farafra, Kharga and the Eastern Desert.
The Roads connecting the Oasis of Baharia with the Nile Valley and other Oases.
The roads traversed by the Survey parties between Baharia and other places are three in number, viz., from near Maghagha and from Minia in the Nile Valley, and from Baharia to Farafra Oasis. Other well-known routes run from the Fayum, from Bahnessa, Samalut (Ascherson) and Delga, in the Nile Valley, from Alexandria, via Mogara, and from Siwa (Jordan, Cailliaud). The Survey’s return traverse to Minia from the south end of Baharia did not follow any defined road, but kept on the open plateau on a course computed from the known positions of the points of departure and destination.[17]
Road from Feshn and Maghagha to Baharia.The road from Feshn and Maghagha to Baharia leaves the edge of the Nile Valley cultivation at Qasr el Lamlum Bey, which bears 51½° west of true north from Maghagha railway station, and is distant 15·4 kilometres. From this point the road is well-defined and easily followed right into the oasis. In the following description the distances are given from the edge of the Nile Valley cultivation.
The road at first leads over a strip of drift sand, half a kilometre broad, with short prickly scrub, passing a white mosque on the left and then turning off somewhat to a direction 26° south of west, and continuing in a straight line for 15 kilometres over an undulating gravelly plain. The high prominent cliffs, about 7 or 8 kilometres to the north-west, are the flanks of Jebel Muailla, and a valley known as Wadi Muailla leads through them to the Wadi Rayan in the Fayum depression.[18] At 19 kilometres the valley scarp, with a number of isolated peaks, is approached on the right, while ridges and low mounds form the plain below, well-marked lines of drainage running from here in a south-east direction towards the cultivation. At 23 kilometres the scarp runs back, enclosing a large bay, across which the road runs and ascends to the plateau beyond at 27·8 kilometres. Numerous isolated[18] parallel sand-dunes in the form of small ridges are seen running out into the bay from the cliff at the far end, all lying slightly west of north and east of south, or parallel to the normal wind direction.
The escarpment bounding the Nile Valley at this point is only some 15 metres in height, being thus quite insignificant compared with the cliffs on the east side. The plateau here was found to be about 140 metres above the cultivation, the road having risen gradually throughout. The latter continues for about 1½ kilometres across the strip of plateau when it again descends, making a slight detour to the left for easy descent. It then continues 9° south of west, slightly winding, over gravelly undulating ground. At 31-32 kilometres a line of low hills is passed on the right, while a dark well-marked range lies 6-7 kilometres to the left.
A ridge of sandstone, known as Jebel el Ghudda, is passed on the right at 45 kilometres, from the end of which a small dune runs out; beyond, the plain resumes its monotonous undulating character, a low ridge being crossed at 61 kilometres. There, the road, consisting of a number of more or less parallel well-marked narrow paths worn by camels, which have a somewhat general habit of marching in line one behind the other, changes its direction to 36° south of west, falling gradually in level until a patch of scrub is reached 6½ kilometres further on. This scrub was dead at the time of the visit, and furnished a useful supply of fuel. From this point the course is 7° south of west (true), which direction is maintained for the next 42 kilometres over a remarkably monotonous undulating gravel-covered desert, the typical “serir” of the Arabs. At 92 and 93½ kilometres some more patches of dead scrub were passed on the right, while logs of silicified wood were noticed strewing the plain on the left. An Arab grave was met with at 96 kilometres, while skeletons of camels lie about near the roadside at frequent intervals; at 110 kilometres the eye of the traveller is relieved by a small grove of green thorny flat-topped acacia trees (Acacia nilotica, or “sunt” of the Arabs) with a patch of coarse grass; four gazelle (probably Gazella dorcas) were observed browsing on the scrub here.
The course now continues 12½° south of west, over gently undulating gravelly “serir”, until the eastern scarp of El Bahr is reached at 125 kilometres from the cultivation of the Nile Valley. The “serir” or undulating gravelly type of desert then ceases.
El Bahr is a depression, some 60-70 metres deep, cut out in white limestone rocks; its breadth at the point crossed by the road was 8 kilometres. Within it are several high prominent hills, one of which[19] near the centre on the left side of the road is called Jebel Gar Marzak. The bottom of the depression was quite green with vegetation; sufficient water is said to fall every year to keep these plants alive, and in 1894 rain is said to have fallen to such an extent that a pool of considerable size was formed; the silt deposited by this is plainly visible at the present time. A good deal of blown sand occurs within the depression. El Bahr evidently corresponds to the Bahr Bela Ma, (river without water) figured on some authors’ maps, which has been frequently but erroneously referred to as an old river-course; although this idea was shown to be untenable by Zittel[19] and Ascherson[20] it has subsequently been maintained by non-scientific writers. No traces of any river deposit occur in the depression, which consists simply of a series of unconnected depressions, eroded by wind-borne sand.[21]
The track leaves the depression at 134 kilometres, rising over heavy sand; it then continues 3° north of west. The character of the desert has now completely changed, and instead of the smooth undulating gravelly “serir,” its surface is rough and hummocky, being formed of hard bare limestone, cut up into sharp knobs and grooved into furrows by the powerful action of wind-borne sand; it resembles closely the surface of the rough open sea. This type of desert is spoken of as “kharafish” by the Arabs. While the “serir” forms an ideal surface for travelling over, the “kharafish” is the worst imaginable, the innumerable hillocks necessitating incessant small deviations, while the hard rough surface is in some places very troublesome to camels; moreover, an extensive view is out of the question and no tracks are visible on the surface, so that the road is easily lost except where marked by frequent cairns built of loose stones.
Occasional patches of blown sand are here met with, and the first well-marked dunes were crossed at 141 kilometres. From here onwards for kilometres the whole area was more or less sandy with occasional narrow well-marked ridges or dunes, running almost due north and south, and varying in breadth from that of a single line to a number of parallel ridges side by side half a kilometre broad. The largest dune of this group at 146½ kilometres is known as Ghard el Shubbab. The steepest sides are those facing west where the angle may reach 30°.
At the particular locality crossed by this road the sand area is very[20] easily crossed, a circuitous route being followed in order to take advantage of the flatter dunes with the easiest slopes when crossing the steeper ridges. Probably the road crosses at one of the easiest points. This remarkable line of dunes, known as the Abu Moharik, has its origin in the neighbourhood of the oasis of Mogara and runs southward, almost without a break, across the desert until Kharga is reached, whence with a slight break owing to the broken character of the ground it continues southward within the oasis-depression. The total width of the sand-belt on the road under description is about 6 kilometres.
At 153 to 156 kilometres a number of black conical hills, Gar el Hamra, are situate from 1 to 2 kilometres from the road on the south side. One or two more sand-dunes were crossed and then the road, maintaining its direction of 2°-3° north of west, lay over a more or less uneven dark-coloured limestone desert broken up into a number of small hills. At 169 kilometres a broad ridge of sand-dunes was encountered, running 18° west of true north. These light yellow dunes afford a beautiful and remarkable sight, running northwards away to the horizon over a dark brown-coloured desert in an almost perfectly straight line and with a sharply maintained junction-line between the edge of the sand and the desert surface adjoining.
Within a few hundred metres of the western side of the sand-dunes the road commences the descent from the plateau into the oasis-depression. The road enters at the most northerly extremity of the oasis, the descent being particularly easy at this point, passing the large dark-coloured hill, Jebel Horabi (or Morabi?), on the right almost immediately afterwards.
A fine view of the depression is obtainable from the top of the escarpment, a broad low-lying expanse, bounded by steep escarpments or walls, stretching away to the south, its monotony relieved by several large flat-topped hill-masses, near which, on the lowest portions of the floor, dark areas, the cultivated lands and palm-groves can be distinguished. The road crosses the depression in a south-westerly direction, passes a spring known as Ain el Gidr, the first watering place, and divides in front of the great hill-masses separating the two groups of villages, the eastern branch keeping close under the eastern scarp of Jebel Mayesra, to avoid a large area of soft salty ground, and leading to the villages of Zubbo and Mandisha, While the western branch continues its course to the cultivation surrounding El Qasr and Bawitti. The distance by this road from Qasr el Lamlum Bey to the village of Zubbo is 190 kilometres and to Bawitti 195 kilometres.
[21]Geology of the Feshn-BahariaHaving now described the topographical features of this road, the chief geological characters may be noticed. The plain between the Nile Valley cultivation and the scarp of the plateau is covered with sandy gravel, partly downwash from the higher ground in Recent times, and partly the remains of definite gravel deposits belonging to the Nile Valley Pleistocene series.[22] The pebbles now found strewn over the plain consist chiefly of flints, doubtless derived from the Eocene limestones forming the deserts on both sides of the Nile Valley, and occasional pebbles of hard felspar porphyry which must have originally been derived from the igneous massifs of the Red Sea Hills. Both are well rounded, although the former are frequently broken up into angular fragments by temperature changes. White granular beds of gypsum, of various degrees of impurity, crop out on the plain in places, and in all probability there was in Pleistocene times an extensive deposit of this mineral all over the surface of the low-lying country. In the desert lying between the Fayum and the Nile Valley further to the north, these gypseous beds occur of great thickness and wide extent, and the deposits crossed on this road are doubtless part of the same series.
The cliffs of Jebel Muailla to the north are capped by a hard dark bed of limestone, which weathers with a vertical face, while the more gentle slopes, generally more or less hidden with sand, are doubtless formed of softer limestones, marls, and clays. During the survey of the Fayum (see foot-note, p. 17) the hills surrounding Wadi Muailla were found to be formed of Lower Mokattam beds (Middle Eocene) and the hills seen from this road are doubtless composed of the same beds. The ridges crossed at 20 kilometres are formed of hard, compact, close-grained crystalline limestone, covered with more or less gypsum and flint gravel; the limestone beds forming these ridges show dips which suggest the existence of a fault running N.E.-S.W., parallel to the trend of the cliff behind, and this may be part of the extensive faults and folds of the Nile Valley. In one small hill (22 kilometres) shales with Ostrea were noticed at the base, with occasional hard oyster-limestone bands; the upper part was formed of 10 metres of gravel consisting of well-rounded limestone pebbles. This superficial deposit must be classed as Pleistocene and may be a sea-beach, though no conclusive evidence was obtainable on this point. The escarpment passed at 23 kilometres is capped by a bed of white limestone, shales forming the slope, but was not examined at close quarters. The floor of the bay formed by the receding cliff shows outcropping brown[22] limestone with Ostrea, and the escarpment on the far side is capped by a hard white crystalline limestone with much flint, the latter forming bands. On the surface is a thin calcareous gypseous gravel deposit, doubtless of the same age as the gypseous beds already mentioned as occurring on the plain below. The flanks of the scarp are hidden by downwash. The cliff bounding this strip of plateau, 1½ kilometres further on, is composed of the same beds, the limestone being here silicified, with large silicified Conidæ. With regard to the age of these limestones and clays they are probably equivalent to part of the Lower Mokattam series already mentioned as forming the hill-masses round Wadi Rayan, although no Nummulites gizehensis beds were observed in the sections examined. A conspicuous black knob among the low gravelly hills left two kilometres on the right at 32 kilometres, was found to be a neck of hard dark andesitic basalt, one of the few occurrences of igneous rocks in the Western Desert. Several other similar looking dark hills were in sight, but time did not admit of their examination. The dark well-marked range 6-7 kilometres to the left of the road is probably identical with a range of hills occurring 10 kilometres west of Bahnessa, which was mapped[23] during the survey of the Nile Valley in 1899, and found to consist of a mass of andesitic basalt similar to that forming the small neck on this road. Doubtless they are both parts of the same intrusion. The surface of the plain is still composed in part of gypseous deposits, with occasional outcrops of the underlying limestone, the surface being covered with a certain amount of loose sand with rounded flints and their broken fragments. In the neighbourhood of Jebel el Ghudda the plain consists of limestone with numerous individuals of the large Nummulites gizehensis, and are thus of Lower Mokattam age. Much of the limestone is crystalline. The hills of Jebel el Ghudda are formed by younger overlying beds consisting of hard silicified sandstones and grits (quartzites), which lithologically are very similar to the beds of Jebel Ahmar near Cairo, of Oligocene age. They may, however, belong to the Upper Eocene series, so well developed above the Upper Mokattam in the escarpments to the north of the Fayum, as this series contains similar beds with similar silicified wood. They enclose bands of coarse conglomerate and have a peculiar blackish burnt colour. Occasional patches of these grits are here and there met with right up to the depression of El Bahr, and the silicified wood passed at 92 kilometres belongs to the same series of beds. From the scrub area at 93½ kilometres till the road approached El Bahr there was hardly a sign either of the grits or of[23] section anywhere met with on this road. The depression is cut down through the upper series of sandstones and grits into the fossiliferous white limestones and sandstones below. The eastern scarp showed the following beds:—
| Top. | |||||
| Soft white Sandstone. | |||||
| Middle Eocene. | ⎧ ⎨ ⎩ |
Limestone with Nummulites gizehensis. | ⎫ ⎬ ⎭ |
Lower Mokattam. | |
| Limestone with Ostrea, Exogyra and Lucina, etc. |
The floor is covered in places with numerous weathered out individuals of N. gizehensis and large oysters. Some of the hills occurring within the depression showed brown siliceous limestone overlying white limestones with beds containing Nummulites gizehensis, Ostrea, etc., below. In some of these hills the beds show evidences of folding, which like that within the Baharia Oasis may have partly caused the formation of the depression by bringing the softer beds to the surface within the reach of the agents of denudation. On ascending the western scarp, beds with Ostrea, Turritella, etc., were crossed, and near the top thick yellowish sandstones crowded with Ostrea occur. Two of the species of Ostrea were afterwards examined by Dr. Blanckenhorn, one of which he regarded as nearly related to O. Fraasi, and the other as a new species with affinities to O. Hess, May-Eym.
Probably the whole of these fossiliferous beds belong to the Middle Eocene Mokattam Series; the lower beds with N. gizehensis, are certainly Lower Mokattam, and probably the upper, although the latter may represent the base of the Upper Mokattam. Whether the upper bed of sandstone capping the eastern scarp belongs to the same series or is equivalent of the silicified grits with silicified wood passed further back is open to some doubt.
Beyond the Bahr the desert is formed of a hard limestone much cut up by the action of wind-borne sand as already mentioned. This limestone is very unfossiliferous, occasional obscure nummulites seen on fractured or smooth surfaces being the only indications of its Eocene age.
The conical-peaked hills of Gar el Hamra on the left of the road at 151 kilometres were so striking that a detour was made specially to examine them. They were found to be composed of black ferruginous silicified sandstone or quartzite at top, with false-bedded sandstones[24] below. They overlie nummulitic limestones forming the surrounding plain, and are not improbable Post Eocene lacustrine deposits, similar to those within Baharia Oasis (see pp. 60-62).
From here onwards up to the oasis-depression the plateau consists of hard brown limestone, more or less silicified, and contains nummulites and oysters. The Eocene strata, thus extend right up to the escarpment of the depression on the north side of the oasis. The geological structure within the depression will be found discussed in Chapter V.
Road from Minia to Baharia.Road from Minia to Baharia.—The cultivated land extends for some 9 or 10 kilometres west of Minia town, and at the time of the Survey expedition (early in October, 1897) this area was mostly covered by flood-water. Boats were therefore taken to the edge of the desert, and the march west was commenced from Nasl Nadiub Lengat, a small village on the cultivation-limit in lat. 28° 6′ 24″, long. 30° 39′ 45″ E., bearing from Minia railway station 9° north of west, distance very nearly 10 kilometres. The road westward being ill-defined, and the party knowing that any course followed a little north of west would surely lead to the oasis, no attempt was made to follow the track precisely, the course being rather chosen to take advantage of commanding points so as to map as much topography as possible en route. As will be seen further on, however, the road was struck some distance before reaching the oasis, and was thence followed to Zubbo.
On leaving Nasl Nadiub Lengat the course first taken was about 32° north of west. The desert here rises very gradually from the flood-level, (i.e. about 40 metres above sea-level), there being no cliff bounding the Nile Valley on the West at this point. For about 6 kilometres the ground was sandy, with occasional patches of flood-water and some grass; then came a stretch of level gravelly ground, and at 11½ kilometres some low sand-dunes were crossed. The course was now changed to about 3° south of west, and at 14 kilometres a descent was made from the gravel-plain into a limestone-depression, with gravel-capped eminences on either side. At 22 kilometres the gravel-strewn plain was again come on, a few low mounds, also gravelly, being passed at 31 kilometres, and camel-tracks, doubtless part of the Minia-Baharia road, being noticed coincident with the survey line at 37 kilometres. Continuing following these tracks, another camel-road was found to branch off at 46 kilometres to the north-west. The march was continued along the same track going a little more south of west, over a monotonous[25] gravelly plain, with limestone showing through it in small patches, till at 78 kilometres from Nasl Nadiub Lengat a conspicuous though small mass of fissile gritty limestone was come on, which afforded a good survey-station. North and west of this are low gravel-covered hills. Turning a little north of west, a large extent of low table-like hills was seen on the south. At about 90 kilometres low plateaux of limestone, capped by gravel, closed in so as to form a defile about a kilometre wide, through which the line of survey passed, and at 98 kilometres a large sandy and gravelly depression, bounded by limestone scarps and containing numerous large limestone hills, was entered. Within the depression the course followed was about 30° north of west, so as to map roughly the escarpments on either hand. About 10 kilometres from the point where the depression is entered a long stretch of heavy sand was crossed beyond which tracks going west were come on, and the edge of the limestone plateau on the left curved round so as to cross the road. Ascending this low scarp at 116 kilometres, the course lay over white limestone, with sharp angular flints on its surface, and low limestone hills on either side. At 124 kilometres the broad belt of sand-dunes, the Abu Moharik, was reached. The dunes, which are of considerable height, run nearly north and south, and have a total width of some 4 kilometres; they formed the most serious obstacle of the entire journey. Beyond the dunes is a hard limestone plain, crossed by a low ridge (forming part of a higher plateau) at 136 kilometres. Beyond this ridge are low limestone-hills on either side, the floor being generally of hard white limestone. At 151 kilometres an oval depression in the limestone plateau, with its longer axis (about 4 kilometres) running W.N.W., was entered; this depression is full of hills of white chalk, which also forms the floor here. Ascending the opposite scarp of the depression at 159 kilometres, a narrow strip of higher plateau of much harder limestone was crossed, the edge of the scarp of the oasis of Baharia being reached at 160 kilometres, after marching for 57 hours from Nasl Nadiub Lengat. Up to this point there had been a gradual rise of the ground, from 40 metres at the Nile Valley to 265 metres above sea-level at the edge of the oasis.
The descent into the oasis is not difficult, the scarp being sandy and the fall gradual. At about 4 kilometres W.N.W. from the edge of the scarp is the first well or spring of the oasis, Ain Gelid (lat. 28° 19′ 28″ N., long. 29° 8′ 40″ E. of Greenwich), a small pool surrounded by grasses and with a tree growing near it. The barometric observations gave for this point the level 134 metres above sea, so that the total[26] drop from the edge of the scarp is about 130 metres. From Ain Gelid the village of Zubbo bears about 15° north of west, and is some 17 kilometres distant, but owing to the hills between the two places necessitating a slight detour, the actual distance to be traversed is a few kilometres greater.
Geology of the Minia-Baharia Road.The road from Minia to Baharia shows essentially the same geological features as the one from Maghagha already described. The gravel which strews so large a portion of the road to the east is mainly composed of quartzite and flint pebbles, of a prevailing brown colour. Some of the rounded flints show a concentric structure, and are evidently segregation-nodules derived from chalk-beds; a very fine specimen of these, measuring some 20 c.m. in diameter, of almost perfectly spheroidal form, was obtained. The gravelly covering is frequently very thin, the limestones underlying it showing through in numerous places. No evidences of the precise age of this gravel have come to the authors’ knowledge, but it is certainly Post-Eocene. It appears to be the same formation which is found covering the edge of the plateau west of Girga[24] and south of Assuan (east bank) and at various other points of the Nile Valley. It overlies beds of every age from the Nubian Sandstone to the Lower Mokattam.
The limestones which underlie the gravel near the Nile, and which are well exposed in the depression crossed 14 kilometres from the edge of the cultivation, are crowded with nummulites of various species, N. gizehensis and N. curvispira being specially common; these rocks belong therefore to the Lower Mokattam Series (Middle Eocene).
The limestone underlying the gravel further west (from about 30 to 80 kilometres west of the cultivation-limit) is only seen in small patches; it varies in character, being in some places loose and tufaceous in texture, and in others gritty and fissile, passing into a calcareous grit. The mass of gritty limestone at 78 kilometres, noted above, is about 6 metres in length by 2 metres high and broad; it shows a peculiar stalagmitic structure, the layers always parallel to the free surface. Several smaller masses found around all show a similar structure, and where the rock is exposed on the floor concentric fissuring is frequently seen. The sand which strews the surface here is largely calcareous, being doubtless in part derived from the gritty limestones.
[27]The eastern part of the low hills lying to the left of the track at about 85 kilometres from the cultivation-limit show the following section (total height about 13 metres):—
| Top. | ||
| 1. | Flinty gravel, the flints containing nummulites. | |
| 2. | Tufaceous white limestone. | |
| 3. | Hard pink siliceous limestone. | |
| 4. | Fissile sandy marls and gritty limestones. |
On the western part of the hills the gravel covering is absent, the succession here seen being:—
| Top. | ||
| 1. | Sandy marls, 60 centimetres. | |
| 2. | Very hard pink calcareous grit, 1 metre. | |
| 3. | White sandy marl, fissile, 2 metres. | |
| 4. | Soft red and white marls, 10 metres. |
No fossils were seen in these beds except the nummulites in the gravel, which prove the latter to be at least in part derived from Eocene deposits.
The hills left of the road a little further on show the following section:—
| Top. | ||
| 1. | Flinty gravel; thin deposit unconformably overlying the limestone below. | |
| 2. | Tufaceous white limestone (thin bed). | |
| 3. | Hard grey crystalline limestone, 1·2 m. | |
| 4. | Slope of sand and debris, doubtless covering soft marly beds. |
On entering the depression at 98 kilometres a band of earthy reddish limestone with Bryozoa is crossed, this bed appearing to overlie the fissile sandy limestone already mentioned. From here a good view of the numerous limestone hills is obtained, the top beds of hard limestone showing out sharply from the lower sand-covered slopes; the beds show a stratigraphical depression here in addition to the eroded surface depression. The floor of the depression is covered with sandy gravel and Ostrea shells; an examination of the left scarp, about 3 kilometres after entering the hollow, showed the following succession of beds (total height of section 20 metres):—
| Top. | ||
| 1. | Hard white limestone with numerous shell-casts and containing some shaly layers, 3 m. | |
| 2. | Debris-covered slope of softer beds with Ostrea shells, 16 m. | |
| 3. | Red earthy limestone with shells at base of hill. |
[28]One of the hills within the depression, to the left of the track about 6 kilometres further on, showed in a face of about 28 metres the following beds:—
| Top. | ||
| 1. | Hard white limestone, sand-eroded. | |
| 2. | Brown fossiliferous limestone. | |
| 3. | White limestone with many small fossils. |
The slopes of this hill were covered with large black Ostrea shells.
The floor of the depression further west showed limestones of varying character, frequently highly fossiliferous. Beyond the depression the ground passed over was mainly white limestone, strewn with large sharp angular flints, and many spheroidal flint-masses derived from the limestones. The surrounding hills show that we have here two white limestones with brown beds between, the floor and the hillcaps being white, while the feet of the hills are brown.
The plateau-rock near the great belt of sand-dunes is a hard white limestone with large Conidæ. Just beyond the dunes this rock is very siliceous, the exposed surfaces showing a smoky-black colour; the rock is however quite white on fracture. The hills rising from the plateau here consist entirely of limestone, beds of white chalk alternating with harder yellowish and brown limestones, in which no fossils were noticed. Further on the plateau rises, so that at the entrance to the depression the surface is formed of the same brown limestone-beds which are seen in the hills behind. The hills within the oval depression here are composed of alternations of chalky with harder limestones. The narrow ridge which separates the depression just described from the oasis-depression is of very hard horny siliceous limestone.
On the descent into the oasis the following beds are passed through:—
| Top. | ||
| 1. | Very hard yellowish and reddish-brown siliceous limestone, in part crystalline. | |
| 2. | Fissile sandy limestone. | |
| 3. | Soft yellow ochreous marly limestone. | |
| 4. | Greyish-white chalky limestone, with ferruginous layers. | |
| 5. | Sand-covered slope, mainly consisting of clays. |
It seems probable that the entire mass of the limestones forming the surface of the plateau are Eocene, occupying an horizon in and below that of the Mokattam series. That the fissile sandy limestone and calcareous grit cannot be the equivalent of the Post Eocene sandstone[29] deposits encountered on the road from Maghagha is proved by their being intercalated in the Eocene limestones of the plateau.
Traverse from south end of Baharia to Minia.The return journey from Baharia Oasis to Minia was made, as already mentioned, across the open desert, not following any road. The starting-point was the point on the southern scarp of the oasis, where the Farafra road leaves Baharia. Our observations give for the position of this point[25] lat. 27° 46′ 13″ N. long. 28° 32′ 47″ E. of Greenwich; height above sea level, 247 metres. The course was shaped so as to reach the village of Nasl Nadiub Lengat, whence the outward traverse had started, so as to give a closed polygon of survey-lines. The following topographical and geological notes were taken on the journey.
The first 2½ kilometres of the way, going about S.S.E., lay over a plateau of sandy limestone, often mammilated and strewn with limonite-fragments. Sand-dunes of small size were passed on the left. An ascent was then made of some 35 metres on to a flat-topped ridge, consisting of white and yellow marls and clays, capped by a horizontal bed of hard brown calcareous grit, passing into brown crystalline limestone with calcite shell-casts. On this ridge, which is about 600 metres in width at the place seen, a turn was made so as to go almost due east. The descent from the ridge on the other side is on to a plain strewn with whitish-brown laminated and mammilated limestone and some limonite, and from the plain rise hills showing the same structure as the ridge just crossed. A camel-road running south was crossed 7 kilometres from the starting-point, and beyond this, the ground having gradually risen to the level of the brown calcareous grit, we came among numerous low hills; these consist of white chalk beds, capped by sandy greyish limestone and then by thick beds of harder greyish-white limestone, weathered grey on the surface. No fossils were seen here, but continuing the journey east, over uneven ground of white and greyish limestone of considerable hardness, a small hill was met with, at about 12 kilometres from the starting-point, and found to consist of limestone with Nummulites, and these foraminifera were found in great abundance a little further on. The finding of these forms, so distinctively Eocene, is important as showing that whatever the age of the limestones at the actual edge of the south part of the oasis may be, the beds forming the plateau only a few kilometres east of the oasis are, like those which form the top of the northern scarp, of undoubted Eocene age. The nummulites were visible in the[30] rocks of the plateau till about 17 kilometres from the starting-point, none being noticed further on till the neighbourhood of the great sand-dunes was reached. At 25 kilometres a slight depression containing numerous hills of white chalk was entered. The floor of this depression, 267 metres above sea-level, is strewn with fragments of crystalline calcite, probably derived from veins or druses in the chalk. The beds here dip slightly to the south. About 3 kilometres further on the beds dip about 5° E.S.E., so that higher beds were come on; the dip however soon diminished. At 29 kilometres the plateau rock consisted of porous siliceous limestone, generally white, but in places yellow, closely resembling that found capping the scarp in the northern parts of the oasis. The march was continued over white limestones of varying hardness, with flints and fragments of chalcedony on the surface, and numerous low limestone-hills. At 36 kilometres a chalky area was entered on, covered with countless small rounded hills of chalky limestone; these hills, of which there are literally millions, cover the ground like haycocks in a field; they are generally about 20 metres high, and up to 100 metres in diameter. No fossils were seen in the rocks. At 70 kilometres the hills began to get smaller, becoming presently mere chalk-mounds. A slight depression, about a kilometre wide, with larger chalk hills, was crossed at 73 kilometres, beyond which was a long stretch of flat ground composed of snow-white limestone, chalky to fairly hard, unfossiliferous, with thin siliceous bands. At 83 kilometres occasional low limestone hills were seen on ground otherwise fairly level, strewn with flints. A camel-road going south-east was crossed at 77½ kilometres. At 92 kilometres numerous small gasteropod casts were noticed in the chalk, but no other fossils. The plateau further on was seen to be formed of a hard thin bed of siliceous limestone, with chalk below; it shows occasional depressions with low hills within them. At 103 kilometres the great belt of sand-dunes running N.W.-S.E. was entered on. Close to the dunes and in the interspaces between them the plateau-rock is hard semi-crystalline white to brownish limestone, with nummulites and small gasteropod-casts. The sand contains a good deal of calcareous matter in addition to the grains of quartz. The dunes have a total width of about 3½ kilometres, some of them are of great height, and the passage with heavily laden camels is not without some difficulty.
Beyond the dunes the limestone is frequently siliceous, weathered smoky-grey on surface, and crowded with nummulites; the surface of the ground is generally sandy and flint-strewn. At 113 kilometres a narrow band of highly silicified, superficially blackened, limestone is[31] crossed. This band, which is only a few centimetres broad, running north and south, stands up like a vein above the plateau, and is evidently caused by infiltration of siliceous solutions in a crack. In the silicified part of the limestone here the fossils can be easily seen; they are chiefly corals. Further on, the plateau consists of hard semi-crystalline and horny white limestone in which fossils are not seen.
At 123 kilometres the course, hitherto nearly eastward, was changed about 30° to the north, over the same hard semi-crystalline limestone, with hillocks showing alternations of soft chalky beds with harder ones. Some large flat-topped hills passed at 130 kilometres consist of horizontal limestone-beds, the lower ones being chalky, the upper ones hard, grey, and somewhat porous. Beyond this small rounded flints are seen on the plain, and these continue, increasing in number, till a low plateau in front is reached. At 134 kilometres a broad camel-road going south-east was crossed, and at 135 kilometres the scarp of a higher plateau was ascended. The lower plain has an altitude of 127 metres above sea-level, the top of the plateau being some 70 metres higher; the ground however rises gradually before reaching the escarpment, so that the actual rise at the scarp is only about 40 metres. The beds passed through on the ascent are—
| Top. | ||
| 1. | Gravels of rounded flints and pebbles, thin covering. | |
| 2. | White chalk, 2 metres. | |
| 3. | Earthy limestone, 60 centimetres. | |
| 4. | Red and white clays and marls, about 30 metres. | |
| 5. | Sandy limestone, 20 centimetres. | |
| 6. | Clayey limestone, 15 centimetres. | |
| 7. | Sandy limestone, 60 centimetres. | |
| 8. | Limestone conglomerate, 1 metre. | |
| 9. | Red and yellow clays at base. |
These beds appear to dip slightly eastward. No fossils were seen.
The top of the plateau is a huge level gravel-plain, with white chalky limestone showing through occasionally. Sometimes this rock shows a loose tufaceous texture; at other places it is sandy and fissile, and now and again it encloses small pebbles. A broad camel-road going south-east was crossed at 145 kilometres, and another in the same direction was crossed at 157 kilometres. At 162 kilometres, the gravelly ground having gradually fallen to 179 metres above sea-level, a turn so as to take again an eastward course was made, and a long stretch of gently undulating gravelly ground, with white limestone showing through in small patches, was traversed. A camel-road going east was[32] crossed obliquely at 185 kilometres. At 196 kilometres, low gravel-covered hills of some extent were passed. The pebbles range up to 10 or 15 centimetres in diameter, and are well-rounded. In the lower part of one of these hills, sandy chalky limestone is seen cropping out through the gravel which covers the slope. Then a little further on are other low hills of white and grey nummulitic limestone, only thinly sprinkled with pebbles and sand. Some of the beds here contain cylindrical nearly vertical holes, one being measured and found to be 8 centimetres diameter and 45 centimetres deep.
Beyond the hills just mentioned is a further stretch of gravel, till at 199 kilometres a broad low ridge of white and creamy limestone, crowded with large nummulites (N. gizehensis) is reached. The beds of this ridge dip slightly west. The hollows of the ridge are full of blown sand. Beyond is a flat depression, the floor of which is strewn with small nummulites (N. curvispira), and with Ostrea and other shells; then another small nummulitic ridge is crossed, after which comes some hard smoky-grey silicified limestone, with much sand on the surface. At 202 kilometres from the starting-point a slight descent was made from the limestone on to a shelving gravelly tract with some sand-dunes. Some 4 kilometres further on the wide belt of low sand-dunes fringing the cultivated area west of Minia was entered. This sandy tract has a width of about 4 kilometres; it contains some patches of grassy land with pools of water.
The village of Nasl Nadiub Lengat, at the edge of the valley-cultivation, was reached after covering 212 kilometres from the south point of the oasis, the march having occupied about 60 hours.
To summarise the geology of the area crossed in the traverse just described, it will be clear that although the beds which form the top of the scarp at the south end of the oasis are probably of Upper Cretaceous age, yet these beds are overlain by Eocene limestone with nummulites at a short distance (about 10 kilometres) east of the Baharia-Farafra road. It is probable that the entire stretch of limestone-plateau between this point and Minia is Eocene, nummulites being recorded both from near the centre of the tract and from the edge of the desert near Minia. The softer chalky beds traversed appear stratigraphically lower than the Nummulite-limestone, and would seem to correspond to the chalky-limestones with Operculina libyca and Lucina thebaica which occur so constantly near the base of the Eocene in Kharga Oasis. The gravels, as already remarked in referring to the Minia-Baharia road, are of uncertain age, but are certainly Post-Eocene. The sand-dune belt crossed near the centre of the tract is[33] the same as that crossed on the outward journey from Minia, and extends for a great distance north and south.
Baharia-Farafra road.The road from Baharia to Farafra, traversed by Cailliaud in 1820,[26] and by Jordan in 1874[27], was taken by a party of the Geological Survey in proceeding to Farafra after surveying the west side of Baharia. The start was made from the same point as the return traverse to Minia, viz., the point of ascent of the Farafra road at the south scarp of Baharia (lat. 27° 48′ 13″ N., long. 28° 32′ 49″ E. of Greenwich), and the general course taken was in a direction 30°-40° west of south. A second, almost disused, road from Baharia to Farafra ascends the western escarpment from the depression 3½ kilometres further north, follows a narrow plateau at the base of the chalk escarpment and joins the main road some distance south of the extreme end of the oasis-depression.
The main road after ascending the scarp at the extreme south end of the depression, at the point mentioned, proceeds at first in a direction about 30° west of south, over a limestone plateau, with sandstones and clays below. After 4 kilometres hard concretionary grey sandstones are noticed, and 3 kilometres further on a small hill of hard false-bedded grey sandstone is passed. The escarpment of the White Chalk now approaches within 2 kilometres of the road on the right hand, on the left being slightly further away. These escarpments run parallel with the road for some 5 kilometres, forming a large bay, until at 12½ kilometres the road passes through a narrow pass with the cliffs of white chalk quite close on either side. Almost immediately the cliffs again recede, forming a small bay opening into another still larger at 14½ kilometres. At this point an isolated chalk stack, with great masses of fibrous calcite at the base, is passed, and this hill makes a convenient point for a survey-station. Several more isolated hills are now passed and then the chalk scarps on either side close up and join, the road passing up the escarpment at the end of the bay and gaining the summit of the white chalk at 20½ kilometres. The beds forming the plateau between the end of the oasis-depression and this escarpment of white chalk belong to the middle series of the Upper Cretaceous, the “variegated clays and sandstones,” fully described in Chapter V.
From the top of the white chalk escarpment the road continues in a well-maintained direction of about 40° west of south, over a more[34] or less level gravelly plain with outcrops of hard crystalline limestone or chalk. Another, less used, road to Farafra, via the bay to the north-east of Ain el Wadi (in Farafra Oasis), probably branches off about this point. At 35 kilometres a small hill of siliceous limestone is passed and the chalk forms a slight escarpment a little way to the left.
About a kilometre further on a ridge of dark brown ferruginous sandstone is crossed and almost immediately afterwards, at 49 kilometres, the road descends through snow-white chalk cliffs into the depression of Farafra. The chalk forming the cliffs weathers in places to a smoky-black colour. At the bottom of the descent, which is gentle and presents no difficulties, an isolated hill occurs on the left and from this the dark clump of palms of Ain el Wadi is plainly visible bearing 9° west of south and distant about 16 kilometres. From Ain el Wadi to Farafra village is another day’s march of 43 kilometres, the road bearing about 35 west of south, but for details the reader is referred to the report on Farafra Oasis.[28] With regard to the geology of the road across the plateau separating Baharia and Farafra, the age of the beds first passed over has already been mentioned. After rising on to the white chalk the surface of this formation is followed right up to the descent into Farafra. Although occasional crystalline limestones are crossed, these, with the surface accumulations of flinty material, are only skin deep and the former probably represents the upper part of the chalk itself. No Eocene beds were observed, and it is extremely doubtful if any exist; in the latter case they would be patches of Operculina-nummulitic limestone from the base of the Esna Shales, as this limestone is sometimes left capping the surface of the white chalk after complete denudation of the shales above, as in the bay to the north-east of Ain el Wadi. We thus see that the Cretaceous of Baharia is continuous with that of Farafra and that the intervening desert is not formed of the Nummulitic limestones of the Eocene as formerly supposed and shown on the Rohlfs Expedition map.[29]
Other Roads.Besides the routes already mentioned, there are several other roads connecting Baharia with Siwa Oasis, the Fayum, and the Nile Valley. Of the principal of these we have a fairly accurate knowledge from the records of scientific travellers, such as Jordan and Ascherson, and it may be well to mention briefly the chief points concerning them.
The road from Siwa[30] was traversed by Jordan in 1874, the march occupying ten days. Leaving Siwa (N. lat. 29° 12′ 0″, long. 25° 31′ 0″[35] E. of Greenwich, altitude 25 metres below sea-level), the road follows an east-south-east course for about 80 kilometres; it then turns slightly more southwards, rounding the corner of the plateau (Pacho Mt. of Rohlfs) and afterwards passing through the deep depressions of Aradj (- 70 m.) and Uttiah (- 20 m.) to the south side of Lake Sittra (- 25 m., N. lat. 28° 42′ 40″, long. 27° 4′ 23″ E. of Greenwich, 170 kilometres distant from Siwa). From Sittra an easterly course is taken for some 52 kilometres, when another slight turn to the south is made, the oasis of Baharia being entered by descending the scarp some 3 kilometres slightly north of west of El Qasr. Between Sittra and the edge of the oasis the ground, which is of nummulitic limestone, rises gradually but steadily, the level at the edge of the oasis being 194 metres above sea. The distance from Sittra to El Qasr is about 180 kilometres, making the total distance along the route taken from Siwa about 350 kilometres.
The road from the Fayum to Baharia, taken by Belzoni in 1819, Pacho in 1823, and Ascherson in 1876, has a total length of about 240 kilometres, and occupies some six days in marching. Leaving Medinet el Fayum the road proceeds south-west via Gharag to Wadi Rayan (29 m. below sea-level, about 75 kilometres from Medinet el Fayum) where a supply of water is obtainable from several different springs. From Ain Rayan the road proceeds south-west over a rising nummulitic limestone plateau, crossing the so-called Bahr bela Ma a little north of the Maghagha-Baharia road. At “El Bahr” (100 kilometres from Ain Rayan) a turn is made to the W.S.W.; the sand-dunes of Abu Moharik are crossed a little further on, and the oasis is entered at the northern extremity by the same “agaba” as that taken by the Maghagha road. Within the oasis the road branches as already described, the west branch leading to El Qasr and the east one to Zubbo.
Another route making use of the same point of entry into the oasis as that just described is marked on Ascherson’s map as coming from Bahnessa, a large village on the Bahr Yusuf, near the western edge of the Nile Valley. This road, which is some 190 kilometres in length, leads almost due west over a monotonous plateau till near the oasis, where it joins the roads from the Fayum and Maghagha.
The road between Baharia and Samalut, traversed on his return journey by Ascherson in 1876, appears to be the shortest connection between the oasis and the Nile Valley. Its course is due west, and its total length to Mandisha about 180 kilometres. Leaving Samalut the cultivation is crossed via Mangatin to Rubi; this latter village is[36] on the edge of the desert, about 5 kilometres west of Samalut. The road proceeds over a monotonous rocky and gravelly plateau, crossing the great sand-dune belt of Abu Moharik about 122 kilometres west of Samalut, and entering the oasis near Ain Gelid by the same descent as that used by the Survey party from Minia. The journey from Bawitti to Samalut occupied Ascherson four days.
Still another road from the Nile Valley, likewise entering the oasis near Ain Gelid, is marked on Ascherson’s map as coming from Delga, a village near the west edge of the valley-cultivation. This road has a N.N.W. course, and a total length from Delga to Mandisha of about 190 kilometres. It crosses the sand-dunes of Abu Moharik about 130 kilometres from Delga, i.e., about 40 kilometres before reaching the edge of the oasis.
Several other roads start from points still further south, such as Der el Maragh, Beniadi, Assiut, etc., and most of the villages along the west side of the Nile Valley between Assiut and the Fayum have branch tracks which join the main roads at different points.
[17]For remarks on the surveying of desert roads, and on the possibility of traversing the open desert, see Ball Kharga Oasis (Reports of the Geolog. Survey for 1899, Part II) Cairo, 1901, p. 16.
[18]For details of these hills and Wadi Muailla see Beadnell, The Topography and Geology of the Fayum, etc., Survey Dept. P. W. M. Cairo, (in the press).
[19]Op. cit. p. CXXXVI.
[20]See Schweinfurth in “Pet. Mitt.” 1876, p. 265; also Ascherson in “Zeitschrift d. Gesellschaft für Erdkunde” zu Berlin, 1885, p. 115.
[21]Beadnell, Découvertes Géologiques Récentes dans la Vallée du Nil et le Désert Libyen, compte rendu, VIIIe Congrès Géologique international, 1900; Paris 1901, p. 847.
(Recent Geological Discoveries in the Nile Valley and Libyan Desert, London, 1900.)
[22]For a brief description of these deposits see Découvertes Géologiques, etc., pp. 863-865.
[23]Geolog. Mag. Jan. 1900, No. 427, p. 18, and op. cit. (Découvertes géologiques), p. 847.
[24]Ball. Kharga Oasis, p. 23, Cairo 1900.
These gravels were examined and mapped in the Survey of the Nile Valley in 1896. (H. J. L. B.)
[25]Jordan’s position for this point is approximately lat. 27° 46′ 20″ N., long. 28° 36′ 20″ E. of Greenwich, altitude 193 metres above sea-level.
[26]Voyage à Méroé, etc., vol. 1, p. 196.
[27]Physische Geographie der libyschen Wüste, p. viii.
[28]Beadnell, Farafra Oasis, its Topography and Geology, Geol. Surv. Egypt Report, Pt. III, Cairo, 1901.
[29]Découvertes Géologiques Récentes etc., p. 850.
[30]See the geological map accompanying Zittel’s Geologie der libyschen Wüste, Cassel 1883.
Topography of the Oasis.
As already mentioned in the Introduction, Baharia Oasis is a large natural excavation in the Libyan Desert plateau. Previously existing maps frequently indicate this depression as being open towards the east, but one of the results of the survey expedition has been to show that such a representation is erroneous, Baharia differing from the southern oases in being entirely surrounded by an escarpment, for the most part steep and difficult of ascent. In plan the oasis is of highly irregular outline, more particularly on its western side; but the general shape of the excavation is that of a large oval, with its major axis running north-east and south-west, and with a narrow blunt pointed extension at each end. The extreme length (N.E.-S.W.) is about 94 kilometres, and its greatest width, measured at right angles to its length, some 42 kilometres. The average depth from the general desert plateau-level to the floor of the excavation is rather less than a hundred metres. Thus, though commonly called the “little oasis” in contradistinction to the still larger areas of Farafra, Kharga and Dakhla, Baharia is of considerable size, covering in all over 1,800 square kilometres. Within the excavation, and rising up from its floor, in some cases to a greater height than the bounding scarps, are numerous hills, the larger generally having flat tops and the smaller ones being more or less conical. The cultivated lands, which lie almost entirely around the villages in the north part of the oasis, bear only a very small ratio to the entire oasis-area, probably not exceeding in all, including palm-groves, 11 square kilometres; the remainder of the floor is, however, by no means absolutely waterless or totally devoid of vegetation, as numerous springs exist in certain areas, outside the cultivation-limits, and desert grasses and scrub cover considerable tracts; extensive salines, now mostly nearly dried up, are found in some localities.
It will be convenient to consider the topography of the oasis under the following principal heads:—
| 1. | The bounding escarpments; |
| 2. | The hills within the oasis; |
| 3. | The floor of the oasis, including the villages, hamlets and springs. |
[38]I.—The Bounding escarpments.—At the most northerly point of the oasis is a narrow extension some 4½ kilometres wide, enclosing a large black hill, Jebel Horabi. The portion of the scarp, or wall, which bounds this extension is lower and less steep than that further south, as the level of the oasis-floor rises considerably towards the hill just mentioned. The roads from Feshn, Maghagha and the Fayum enter at the north-east point of the extension; the descent is easy, the fall from the plateau into the oasis-area being about 70 metres, with a further drop of some 30 metres just after passing Jebel Horabi. At this latitude the depression opens out considerably, the escarpment on the one side trending to the south-west, while that on the other side turns a little east of south; about 8 kilometres further on there is a sudden widening of the excavation, the scarps retreating respectively east and west, so that before the latitude of the villages is reached the oasis has a width of some 28 kilometres. Between the latitude of the villages and Ain el Haiss a marked difference in the two scarps is noticeable; both curve round so as to enclose a wide oval area, but while that on the east side shows a comparatively smooth outline, broken only by a few small projecting headlands and gullies, the western bounding wall displays a highly irregular shape, long irregular tongues of plateau being separated by wide or narrow “bays.”
On the east side, the most considerable irregularity is near Ain Gelid; south-east of this spring the road from Minia enters down a gently-falling open sandy gully, with a long square-ended tongue of plateau to the south of it. Further south two other roads, perhaps branches of the one just mentioned, enter by smaller gullies; the scarp here has become much less formidable than further north, and the top of the plateau is covered with countless small conical hills of white chalk. Near the north end of the large hill-mass E.N.E. of Ain el Haiss, the eastern scarp almost disappears, the oasis-floor having risen considerably; it becomes more marked further on, and continues to the south, though of no great height, with limestone ridges at its foot. Just south of the large hill-mass referred to, the lower limestone ridges unite so as to form a regular escarpment, which continues southward as the limiting-wall of the oasis, the upper scarp now forming the edge of a higher plateau about a kilometre away from the oasis-edge. The two escarpments run almost parallel, one forming a step above the other, to the south end of the oasis; the lower one, forming the oasis-wall proper, is much more considerable than the upper, and the edge of the upper one is frequently broken into hills. Small chalk-hills continue to cover the upper plateau.
[39]From Jebel Horabi, at the extreme north end of the depression, the western wall, or escarpment, trends in a general direction of 30° south of west for about 20 kilometres before it turns and runs some 5 kilometres south, forming the prominent headland about 2½ kilometres north-west of El Qasr. This cliff, probably the boldest part of the whole oasis-wall, attains a height of some 175 metres above the lowest part of the floor of the depression. It is steep throughout and the only practicable passes to the plateau above are through occasional gullies, in which the slopes are of easier gradient. The main caravan road from El Qasr and Bawitti to Mogara and Alexandria gains the plateau by the long narrow gully 6½ kilometres N.N.W. of El Qasr. To the south of the headland, 2½ kilometres north-west of El Qasr, the escarpment runs back and forms a remarkable narrow bay, running east and west, with an average width of only 4 kilometres, and extending some 18 kilometres west of El Qasr. This indentation is separated from a much larger opening to the south by a long narrow promontory, or tongue of plateau, barely a kilometre wide in places. The extreme point of this tongue is 9 kilometres south-west of Bawitti.
The large bay to the south is bounded on the north by the usual steep wall of rock, but this becomes much less prominent at the western extremity, where the escarpment is low and easily accessible to camels. A few kilometres out to the west is another escarpment of white chalk trending irregularly in a N.N.E. and S.S.W. direction. An old road, probably joining the main caravan road from Bawitti to Siwa further west, runs up this bay and on to the plateau beyond. Numerous large and small hills occur within the bay. The southern cliff, formed of dark brown or black ferruginous sandstones, is remarkably irregular, and quite different in appearance and weathering from the northern wall. The promontory to the south of this bay juts out boldly into the oasis-area. Further south the escarpment recedes and runs in the most irregular manner some 25 kilometres south-west, several times retreating to form well-marked indentations in the general line of cliff; it afterwards trends 15 kilometres south-east up to the prominent corner 4 kilometres west of Ain el Haiss. A road from Ain el Haiss to Siwa reaches the escarpment 15 kilometres north-west of the spring, passing up a gully of easy gradient to the plateau. About 7 kilometres further on the chalk escarpment, already mentioned, is seen running N.N.E. and S.S.W.
About the latitude of Ain el Haiss the east and west escarpments approach each other considerably, the width of the depression narrowing[40] from some 36 to about 15 kilometres. This narrowing continues, though more gradually, to the southern extremity, where the width is only 4 kilometres. The western side, south of Ain el Haiss, is formed of three separate scarps, one behind the other, the outermost being that of white chalk which has already been referred to. On the east a second scarp of less height is found behind the lower. The height of the main scarp above the oasis floor at the southern end of the oasis is about 80 metres.
At the extreme south the main road from Baharia to Farafra ascends up an easy gradient to the plateau above the lowest escarpment, the others being crossed further to the south.
The Hills within the Oasis-excavation.—The most striking feature in the topography of Baharia Oasis is the large number of hills within the area. These hills impede the view, so that from very few points on the low ground can any extended outlook be obtained, and they give to Baharia an appearance entirely different from that which characterises the other Egyptian oases. For the most part these hills have a black aspect, due to the nature of the rocks (ferruginous quartzites and dolerite) capping them; a few are reddish (ferruginous sandstone and ochreous clay); others again are white (limestone).
The most strongly-marked group of hills is that extending in a nearly straight north-easterly direction a few kilometres south of the villages. Forming a prolongation of the long tongue of the west scarp already mentioned, this line of hills almost cuts the oasis in two. The largest hill of the range, Jebel Hefhuf, a narrow, ridge-like hill of limestone, has a black appearance at its northern end, being here composed of dolerite; the others capped entirely by brown limestone and partly swathed in accumulations of blown sand are of lighter aspect. They rise to a height of some 130 metres above the level of the villages.
The large, dark, dolerite-capped hill between El Qasr-Bawitti and Zubbo-Mandisha (Jebel Mandisha) divides the two main cultivated tracts of the oasis from each other, the road from Mandisha to El Qasr passing over its southern end. A similar mass is Jebel Mayesra, the large triangular hill north of Jebel Mandisha; the blackness of Jebel Horabi, in the north end of the oasis, is, on the other hand, due not to eruptive rocks but to the presence of iron ore in considerable quantity.
The huge hill-mass near the east scarp, north of the latitude of Ain el Haiss, is of blackened sandstone, like most of the hills near it; some of those west of it are, however, white, owing to a capping of[41] limestone, and these stand out in striking contrast to the others. No purpose would be served by a detailed description of the smaller hills; their positions will be evident from the map (Plate I), and except in the case of the larger ones, there is a great monotony of form, nearly all the smaller hills being conical. One of the most striking conical hills is seen near the west scarp in lat. 28° 26′ N. (10 kilometres north-east from El Qasr); this, however, is a limestone-capped hill, thus differing from the numerous cones in the south part of the oasis, which are mostly capped by hard dark ferruginous quartzites and sandstones.
The Floor of the Oasis.—The lowest part of the oasis-floor appears to be in the neighbourhood of El Qasr, where the altitude above sea-level is about 113 metres. Mandisha lies somewhat higher, and the hamlet of Harra, with the springs Ain Gelid and Ain Haswi lie on a level tract some 134 metres above sea-level. Ain el Haiss, according to the Survey’s barometric comparisons with Cairo, has an altitude of 156 metres above sea; as Jordan’s determination, however, gave only 122 metres, there is some little uncertainty about the actual altitude of this point. As might be expected, the lowest parts of the oasis-floor are those where springs abound; in the neighbourhood of the hills and escarpments there is always a gradual upward slope towards the bases of the hills and plateau. The major part of the oasis-floor is flat or gently undulating ground of sandstones and clays, strewn with fragments of rock derived from the hills; large areas, however, are overgrown with grasses and scattered bushes, notably to the north and west of the villages, in the neighbourhood of Ain Gelid, south-east of Jebel Hefhuf, and in the vicinity of Ain el Haiss; while other extensive tracts north of the villages, as well as south-east of Mandisha and between Harra and Ain Gelid, are covered by salty marshes, now partly dried up. The white salty crusts on the ground at these places give them a striking appearance, like a slightly rough glittering sheet of water. The tracts north of Zubbo and near Harra still contain much water and salty sludge; travelling over them needs great caution, as the dry crust will often support the weight of a man, while a camel sinks through into the soft mire beneath. Sand-accumulations do not cover such large tracts in Baharia as in the southern oases; there are, however, some small dunes around the cultivated lands of Mandisha and Zubbo, as well as on some of the hill-sides; the dunes support a scanty growth of tamarisk-bushes.
[42]The principal villages of Baharia are four in number, all situated near together in the north part of the oasis in N. lat. 28° 21′ to 28° 22′. They are separated into two groups by a large hill (Jebel Mandisha), El Qasr and Bawitti lying to the west, and Mandisha and Zubbo to the east. The Government officials reside at Bawitti and El Qasr. According to the last census,[31] the population of the oasis in 1897 was 6,081 divided among the four villages as follows:—
| El Qasr | 1.712 |
| Bawitti | 1.713 |
| Mandisha | 1.798 |
| Zubbo | 858[32] |
The males slightly outnumber the opposite sex.
The villages are small uninteresting collections of mud hovels, surrounded by gardens, palm-groves, and cultivated lands. Besides the cultivated tracts existing close around the villages, there are others at points more or less distant from them, tilled by men from the villages. Such are seen, for instance, west of Zubbo; at Ain Bayum, a spring with a small cultivated area, among the sand-dunes 4½ kilometres north-east of Zubbo, where a clump of date-palms forms a conspicuous landmark; Ain Sini and Ain Murun, 7 kilometres north-east of El Qasr; also some small tracts west of, and a large area south-west of, Bawitti. Ain Auena, El Ayun, and other points marked on Ascherson’s map, are probably within this last area. Taking the whole cultivated land, inclusive of palm-groves, at 11 sq. kilometres, the area per individual of population works out to about 0·43 feddans; this figure is somewhat lower than Kharga (0·56 feddan) and considerably less than that of Dakhla (1·49). While Kharga exports practically nothing, Baharia does a considerable export trade with the Nile Valley, principally in dates, although not on so large a scale as Dakhla.
In and near the villages springs are extremely numerous; the water is met with at shallow depths, and does not require, as in Kharga and Dakhla, deep-bored wells. It is led from its sources along underground aqueducts, which date from the Roman occupation; a description of these will be found in the chapter on antiquities (p. 73-80). No attempt was made by the survey to map or number the wells and springs within the vicinity of the villages; they are mostly concealed in the palm-groves and gardens. The water is slightly ferruginous,[43] and frequently warm, bubbles of carbon dioxide rising with it. At Bawitti, the largest spring is cold, but one close by it is warm, although none approach the high temperature of the Dakhla wells. One of the principal sources of water in Mandisha, is a well, situated near the cemetery, 7 metres deep and timbered with palm trunks; the temperature of the water is 26° C. (air 12° C.), and when freshly drawn it is turbid with bubbles of carbon dioxide.[33]
The process of cleaning out wells and boring fresh ones in Baharia is done with a very simple apparatus, an iron jumper about 1½ metres in length, 5 centimetres diameter, worked by a rope passing through an eye at one end, being the only boring-tool used. Cleaning out wells is carried on by this tool in conjunction with the “fass” (a sort of blunt adze used universally for digging operations in Egypt) and a rude basket-apparatus for the removal of sand and sludge. The upper part of the hole having been excavated by the “fass,” the jumper is worked by hand, no tripod or other frame being erected; the sludge is raised by a small basket of plaited grass, fitted on to the lower end of the jumper, lowered into the hole by a rope, the sand settling in the basket after jumping the iron tool, with the basket attached, within the well. The hole is generally made 75 centimetres diameter, and sinking is said to go on at the rate of ⅓ metre per hour, ten men being employed, who relieve each other. It does not appear, however, that this apparatus is capable of sinking new wells, being only used for cleaning out old ones; most of the water used is derived from ancient Roman adits.
The water from a single spring often supplies several land-owners; the usual method of distribution is by means of a wooden weir, in the upper edge of which rectangular notches are cut, each individual being entitled to the water which flows through a certain number of notches. As a rule, the springs are banked up at night, so that the water accumulates in a large pool near, and is allowed to run on to the fields in the daytime.
Taxation in Baharia and Farafra is based on the land cultivated and not, as in Kharga and Dakhla, on the water. Date-palms, are taxed 15 milliemes per annum. The numbers of trees at the 1897 assessment were, apricots, 4,863; olives, 5,370; palms, 93,000, or[44] about fifteen of the latter per inhabitant.[34] The great article of produce in the oasis is therefore dates, and at the date-gathering season the inhabitants are busily employed in gathering, drying and packing the fruit for export to the Nile Valley. Three-fourths of the whole date production are exported. The dates are of excellent quality, and find a ready sale, the villages of the oasis being crowded with camels and traders from the valley each November. A camel-load of dates, packed in two plaited-grass bags, is bought in the oasis for 500 milliemes, and is said to be sold in the Nile Valley for four times that sum, so that the Beduin, to whom the trading is almost wholly confined, even allowing for difficulties of transport, make a good profit.
Though dates are the only fruit exported, olives, apricots, grapes, pomegranates, oranges, lemons, and figs are grown in great numbers, and about 600 feddans are cultivated with rice, wheat and barley crops. Clover is sown after the rice crop is gathered. The area of land cultivated for cereals is said to be slowly diminishing year by year, having been 900 feddans fifteen years ago; the decrease is put down to a diminished yield from the springs, owing to their becoming sanded and choked up, but for this the inhabitants are themselves largely to blame, as they do not take sufficient measures to keep the wells free. It may be that water has been diverted to the palm-groves, these furnishing the saleable article. It will be apparent, from the figures already given, that palm-groves cover the greater portion of the irrigated land around the villages.
The public health of the oasis is far from good. Though free from the opthalmia which is so prevalent in the Nile Valley, the inhabitants suffer much from fevers and gastric disorders, and according to the Government doctor virulent epidemics of small-pox occasionally visit the place. The low standard of health is partly attributable to the bad quality of the water, but is probably highly aggravated by the swampy ground found in many localities. It is also noticeable that no trouble is taken to protect the drinking-water from contamination.
Besides the four principal villages already mentioned, small settlements exist at Mandisha Aguza, 2 kilometres east by south from Mandisha; at Harra, a tiny hamlet 14 kilometres east of Mandisha; at Ain Jafarra, 6 kilometres south of Mandisha; and at Ain el Haiss, in the south part of the oasis. The populations, etc., of these outlying settlements are included in the figures given above for the chief villages.
[45]Mandisha Aguza consists of a group of mud dwellings aggregated round a low sandstone eminence, surrounded by a small cultivated tract. Ascherson records that in 1876 the inhabitants still spoke the Siwa dialect among themselves. Cailliaud had already remarked in 1820 that the spot was peopled by colonists from Siwa. Harra consists of about half a dozen hovels, sheltering a population which cannot exceed fifty, with several springs and palm-groves, and a small tract of cultivated land. The principal spring is marked by a large pool of clear water, about 40 metres in diameter, lying in a slight depression to the south of the houses; the water has a temperature of 24° C. (hotter than the air). There is plenty of water at this place, and more can easily be got by digging to a small depth.
At Ain Jafarra there is only one house, tenanted by a single family. At least two springs exist here, one being near the house and the other at a distance of some 700 metres to the east; the water from the latter spring is led by a long canal to the small palm-grove and patch of cultivated land near the house. The water, though somewhat saline, is drinkable.
Ain el Haiss is an important point on the road from the villages of Baharia to Farafra. It lies some 40 kilometres S.S.W. from Bawitti, in about lat. 28° 2′ N., long. 28° 39′ E. of G. It is a small settlement, being tenanted at the time of survey by only three or four men. There are two springs, one at a higher level than the other. The upper spring is close to the house occupied by the inhabitants; the water, which has a temperature of 15°.6 C. (i.e. 3° warmer than the air at the time of measurement) is collected into a shallow muddy pool, surrounded by a mud dam, whence it flows westward on to the fields. The lower spring forms a pool of about 400 square metres in extent, the temperature of the water here being 14° C. It is situated about 400 metres south-west of the one just described, and like it serves for irrigation. Rice was the crop growing at the time of our visit. The total irrigated area at Ain el Haiss is about 60 or 70 feddans, and there are only a few palms. Besides the house there is a sheikhs’ tomb, which is an object of veneration in the oasis, a small walled-in garden, and a large ruin; the last named will be described among the antiquities of the oasis. Another small cultivated tract, some 15 or 20 feddans in extent, with at least one spring, exists about 3 kilometres north-west of Ain el Haiss. According to Jordan there are two springs here, named Ain Hassab and Ain el Gharb, owned in 1874 by the Kadi of El Qasr, but the place is usually spoken of as Ain el Haiss el Bahari.
[46]East of Ain el Haiss are two considerable patches of cultivated land which were mapped from the east scarp, and thus not examined by the survey. Of these, the most northerly one is situated about 9 kilometres east of Ain el Haiss; according to Ascherson it bears the name of Tablemun, and its principal spring had a temperature of 27° C. The ruins of a Coptic village existing here show that the place was inhabited in early times. It lies some 5 kilometres S.S.W. from Tablemun, and about 7 kilometres E.S.E. from Ain el Haiss, and thus forms the most southerly cultivated spot in the oasis. Both these localities were reported by our men, sent there to obtain water, to be untenanted; the lands are doubtless cultivated by men sent from Ain el Haiss or from the villages for the purpose. A long line of sand-dunes and scrub runs S.S.W., hiding these places from a traveller approaching from Ain el Haiss.
Besides the springs at the inhabited spots above described, and those used for irrigated lands more or less near to them, there are numerous outlying springs, which, while not serving for irrigation, are important as localities where water may be obtained. The chief of these are Ain Gelid, on the road from Minia and Samalut, 3½ kilometres south-east of Harra; Ain Haswi, 9½ kilometres due south of Harra, to which two roads from the east scarp converge; Ain Beled, 7 kilometres west of Bawitti; and Ain Khaman, half-way between Ain el Haiss and the south point of the oasis. The water at Ain Khaman is said to be bitter and the spring is apparently frequently sanded-up and difficult to find, so that travellers to Farafra should take in their supplies at Ain el Haiss.
[31]Recensement général de l’Égypte, tome III, 1896.
[32]Includes about 50 inhabitants of the hamlet of Harra.
[33]A bottle of the water tightly corked burst shortly afterwards by gaseous pressure; the bottle having been filled at the bottom of the well doubtless accounts for this, the pressure due to the head having caused solution of the gas to a greater extent than could be supported at the surface. The evolved gas was at first suspected to be methane, as there is frequently a great deal of decaying vegetable matter in the mouths of the wells; but it extinguished a taper, and, moreover, the water runs too rapidly for any accumulation of gaseous decomposition-products to take place.
[34]In Dakhla and Kharga Oases there are only seven and a half and eight trees respectively per inhabitant.
Geology of the Oasis.
Previous geological work.The earliest geological observations made in Baharia Oasis appear to have been those of Cailliaud,[35] who visited the district in 1820, and recorded the occurrence of volcanic rocks within the depression.
In 1874 the celebrated Rohlfs Expedition was organised, and in that and the succeeding year traversed large portions of the Libyan Desert. The work of this Expedition, forms indeed, the basis of our knowledge of the geology of Egypt generally. The eminent geologist and palæontologist of that Expedition, Karl A. Zittel, did not, however, visit Baharia, and the only information with regard to the geology of this oasis was derived from specimens collected by Prof. Ascherson. After examining these, Zittel stated[36] that the floor of the oasis consisted of sandstones, marls, etc., presenting a considerable resemblance to the lower part of the Overwegi stage;[37] but concluded, that as they were succeeded at a very short interval by Nummulitic Limestone, precluding the possibility of the higher Cretaceous beds, except in a very attenuated form, they must be of Tertiary age.
In 1894, Capt. H. G. Lyons, R.E.,[38] visited Baharia, and 5 miles N.N.E. of Zubbo discovered a bed containing small examples of Exogyra. These were examined by Prof. Zittel and referred to as undersized specimens of Exogyra Overwegi Beyr.[39] This discovery of Capt. Lyons’ thus showed the series to be undoubtedly of Upper Cretaceous age.
[48]In the latest edition of Prof. Zittel’s map, the depression was shown as consisting of Cretaceous beds surrounded by an Eocene plateau, which was also supposed to separate it from the oasis of Farafra to the south.
Geological Survey, Oct.-Dec. 1897.A glance at Plate I will be sufficient to show that the work of the Geological Survey has resulted in large and important additions to our knowledge of this oasis. The Eocene is seen to form the surrounding plateau only on the north; while the Cretaceous, consisting of several well-marked divisions, occupies not only the depression itself, but forms part of the surrounding plateaux on the east and west sides, and is continuous with that of Farafra to the south. Moreover, the relations of the two great formations of Cretaceous and Eocene are now shown to be those of unconformability and overlap. The actual extent of volcanic rocks and post-Eocene lacustrine deposits, the latter a newly-discovered and important series, is now shown for the first time.[40] Important folding has been detected and numerous organic remains have been discovered.
The deposits met with in the district admit of classification as follows:—
| RECENT. | |||
| 1. | Sand-dunes, salines, and superficial deposits. | ||
| POST EOCENE (Oligocene?). | |||
| 2. | Basalt and Dolerite intrusions. | ||
| 3. | Ferruginous sandstones and quartzites, with limonite and pisolitic iron-ore, probably lacustrine in origin. | ||
| EOCENE (Middle-Lower.) | |||
| Lower Mokattam-Upper Libyan. | ⎰ ⎱ |
4. | Limestones with Nummulites, Operculina, Echinids, Lucina, etc. |
| UPPER CRETACEOUS. | |||
| Danian | | | 5. | Thick-bedded White Chalk and grey crystalline limestone. |
| Cenomanian (Some Turonian or Senonian). |
⎱ ⎰ |
6. | Limestones and variegated sandstones. |
| Cenomanian | | | 7. | Sandstones, clays and marls. |
These groups will now be dealt with in succession, commencing with the oldest.
Cenomanian.
7.—Sandstones, Clays and Marls—These, the lowest and oldest beds, form the floor and parts of the walls of the depression. They are best developed and exposed in the north end, where their maximum thickness is about 170 metres; the base of the series is not seen, and thus their total thickness cannot be estimated. In the north part of the oasis they are capped, with apparent conformability, by Eocene limestones, although an intervening band of limestone-grit may occasionally occur. In the south, the series is followed by the higher Cretaceous divisions, while in the isolated hills within the depression these beds are capped either by Eocene limestones, by basalt or dolerite, or by Post-Eocene ferruginous sandstones and quartzites.
They consist of friable false-bedded variegated sands and sandstones, with harder dark-brown ferruginous bands, alternating with sandy shales and clays, passing through every gradation. Some of the sandstones are micaceous.
The clays are frequently saliferous, and bands of fibrous gypsum are occasionally seen.
Large well-formed groups of barytes crystals are occasionally found in the sandstones of the oasis-floor, and hard thin vein-like masses of a sandstone, in which the cementing material is barytes, are frequently met with in the eastern part. The weathering of these veins, which are evidently produced by the action of infiltrated solutions in cracks, gives rise to the peculiar spheroidal belted nodules which often strew the ground, and of which the existence has been already mentioned by Ascherson and Zittel.
Although these strata are, as a rule, unfossiliferous, organic remains are common in certain beds, and especially in the dark-brown ferruginous concretionary bands of the sandstones. The commonest form is Exogyra, individuals of which are found crowded together in some bands; in most cases they are pseudomorphs in ironstone.
In the hills between Mandisha and El Bawitti this series consists of soft false-bedded variegated sands and sandstones with ferruginous bands, alternating with sandy shales, the whole locally showing a slight westerly dip of between 3° and 7°. Some of the sandstones contain flakes of colourless mica. The whole series is capped and protected by a hard bed of dolerite, which has been intruded along a bedding plane into the series, and now forms the summit of these hills.
[50]The following section was measured about 4 kilometres west of Mandisha—
| Top. | Metres. | |
| More or less columnar dolerite, much broken up by weathering. | 10 | |
| Sandstones, sandy clays; unfossiliferous | 65 | |
| Ferruginous sandstone with casts of Exogyra; sandrock and sandstone, with ferruginous unfossiliferous bands | 10 |
The section is much obscured by downwash and talus of angular fragments of dolerite, sand, shale, etc. This downwash of shale and clay is often covered by a hard coating of salt and sand cemented together, sometimes having the appearance of regular beds.
The following is a detailed section measured at the well-marked isolated conical hill near the western escarpment, 10 kilometres north-east of El Qasr (See Plate I.) The series is here capped by 6 metres of nodular and hard compact limestone with Nummulites, Operculina, Lucina, etc., of Lower Eocene (Libyan series) age.
| Top. | (Hard compact limestone with Nummulites, etc., Eocene). | Metres. | |
| Shaly clays with ferruginous bands, occasionally containing Exogyra shells; alternations of shales and shaly sandstones. | 7·4 | ||
| Soft shaly and crumbly sandstones, with many hard ferruginous bands and shaly clays. In the sandstone occur solid vertical rods of ironstone 5 centimetres in diameter, with concentric structure | 21·0 | ||
| Gray marls with plant-stems and leaves | 1·5 | ||
| Yellow sandstone, well-marked thick compact bed, false-bedded | 11·5 | ||
| Hard ferruginous band with fish-remains | 0·2 | ||
| Gray shales | 1·5 | ||
| Soft beds of crumbly sand, harder sand-rock, with clayey layers and ferruginous bands | 6·0 | ||
| Shaly clays with dark-red ferruginous sandy layers, with gasteropod and Exogyra shells. Green shaly sandstone on top, and gray sandy clays below | 16·0 | ||
| White and gray-bedded sand-rock | 9·0 | ||
| Obscured beds, one containing small Exogyra and gasteropods. | 15·0 | ||
| Shaly sandstone with hard reddish nodular ferruginous bands containing gasteropods and Exogyra. | 3·5 | ||
| Sandy beds, hidden by downwash | 6·0 | ||
| Ferruginous bands containing Exogyra casts | ⎱ ⎰ |
20·0 | |
| Sandy shaly clay, false-bedded, with white sand-rock. Plant-remains | |||
| Bed of white sand-rock | 1·0 | ||
| Thinly laminated gray shale | 2·0 | ||
| Reddish-brown nodular ferruginous band | 0·2 | ||
| [51]Sandy or clayey beds, obscured by downwash | ⎱ ⎰ |
9·0 | |
| Sandy clay | |||
| Sandy beds with dark-brown ferruginous bands | 13·0 | ||
| Sandstone with hard ferruginous bands, full of Exogyra | 6·0 | ||
| Sandy bed, crowded with well-preserved Exogyra shells | 0·2 | ||
| Yellow sandy clay with numerous Exogyra casts | 3·0 | ||
| Dark carbonaceous shale with obscure plant-remains | ⎱ ⎰ |
15·0 | |
| Sandy beds with bone-fragments | |||
| Floor of Oasis. | 168·0[41] | ||
At the extreme north end of the depression the cliffs and the lower part of the conspicuous dark hill, Jebel Horabi, are composed of shales, clays and sandstones belonging to this series. The cliffs are capped by Eocene limestone-grits and limestone as in the section just described. The upper part of Jebel Horabi, however, consists of a mass of ironstone, often coarsely pisolitic, with some limonite, and red and yellow ochre. This iron-ore appears to replace the sandy beds more or less irregularly at the base, but the great mass of mineral above is probably a later and quite distinct deposit. (Vide under Post-Eocene). Traces of shells occur in places.
In the isolated, limestone-capped hill (Plate I), 6½ kilometres north-west of Ain el Haiss (the northern spring) these beds are more fossiliferous than usual.
| Top. | (Limestone, the basal bed of the intermediate series). | ||
| Limestone, the basal bed of the intermediate series. | |||
| Sandy beds with hard brown ferruginous concretionary bands, containing numerous casts of Cyprimeria (Artemis?) Arca, Cucullæa, Odostomopsis abeitrensis, Baculites aff. syriacus, and Neolobites Vibrayeanus | ⎫ ⎬ ⎭ |
50 m. | |
| Clays, often shaly | |||
| Hard ferruginous sandstone with pockets of clean white sand |
Numerous other sections at different points were examined and measured. Such a series is naturally very variable, and individual beds do not maintain their characters over wide limits, so that correlation of different sections is not possible, except in the roughest manner.
In the southern part of the depression fossils are more frequent, otherwise the beds are very similar.
The series under consideration is by no means poor in organic remains, although the latter are more or less restricted to certain bands[52] and localities. No doubt most of the fossil shells have been removed by solution, etc., as those now existing are generally preserved as pseudomorphs in limonite.
The following is a list of fossils which have been obtained from this series:—[42]
| Cucullæa sp. | Odostomopsis abeitrensis. |
| Arca sp. | Natica sp. |
| Exogyra flabellata. | Baculites (syriacus?) |
| E. mermeti. | Neolobites vibrayeanus. |
| Venus (Artemis?) sp. | Fish-teeth and bones. |
| Silicified wood and plant-remains (including leaves of Dicotyledons). | |
As regards the age of these beds, it has already been mentioned that the discovery of Exogyra by Capt. Lyons some years ago, in the basal bands of the series, showed them at least to be Cretaceous, although their correlation with the Overwegi stage, on the supposition that the specimens collected were referable to E. Overwegi, is now shown to be inadmissible. The fairly extensive assemblage of organic remains obtained from this and the overlying series enables the age of the beds to be determined with accuracy, and Dr. Blanckenhorn, who had the first opportunity of making a careful examination of the collection, has pronounced them to be Cenomanian.[43]
The general lithological character of the beds and the prevalence of false-bedded sandstones containing in places silicified wood and plant-remains, including leaves of large trees, point to the conclusion that the beds of this series were deposited in fairly shallow water, perhaps in an estuary, at no great distance from the land.
6.—Limestones and Variegated Sandstones.—In the walls of the south end of the oasis, the series just described is always overlain by a bed of hard, and usually more or less crystalline, limestone. This limestone forms the lowest member of the series now under discussion. At the extreme southern end of the oasis, on the western side, this basal limestone forms a narrow platform, of only some 200 metres width, separating the respective escarpments of the two series 6 and 7. On the[53] same side further north the upper escarpment is usually further back, and in some localities the beds do not form a single well-marked escarpment at all.
The series also occurs forming a line of hills within the depression, these hills owing their existence to a remarkable syncline, by which the beds in question have been folded down to the level of the floor of the depression.
The beds of the series form, as a rule, a well-marked group, individual beds often being traceable for great distances and correlable in different parts of the oasis.
The group as a whole consists of alternations of brown limestone[44] (with grey crystalline varieties) and variegated sandstones and clayey beds. A typical section, as exposed on the west scarp in N. lat. 27° 53′, is as follows:—
| Top. | (Buff-coloured limestone and white chalk of Division 5.) | Metres. | |
| 1. | Soft brown sandstones and sandy beds, much obscured | 7·6 | |
| 2. | Sandy beds, passing up into a very hard grey concretionary sandstone, showing ripple-marks | 4·6 | |
| 3. | Thin-bedded dark sandstones, mostly very hard | 1·5 | |
| 4. | Hard compact thick-bedded grey sandstone, very concretionary, false-bedded | 2·1 | |
| 5. | Shaly sandy beds with ferruginous concretions | 1·5 | |
| 6. | Brown impure limestone | 0·6 | |
| 7. | Soft variegated sandy beds and sandstone | 9·0 | |
| 8. | Rather friable buff-coloured sandstone, more or less false-bedded, with peculiar iron-staining | 6·0 | |
| 9. | Gray rather concretionary sandstone, with dark-brown ferruginous bands | 3·0 | |
| 10. | Brown crystalline limestone with calcite, passing into harder grayish crystalline limestone, flinty at top | 6·1 | |
| 11. | Gray marls and shaly clays | 3·0 | |
| 12. | Brown crystalline limestone | 0·6 | |
| 45·6 | |||
| Base. | (Sandstones and clays of Division 7.) | ||
In Jebel Hefhuf, the long narrow ridge-shaped hill a few kilometres south-east of El Bawitti (Plate VII), the beds of this series are implicated in the fold, and are found tilted at angles of 30 and 40 degrees. They here consist of a considerable thickness of crystalline limestone, calcareous grits, shaly clays and sandstones; the softer beds always form a gully between the harder.
[54]The following were noticed at a point about 7 kilometres from the western end of the ridge:—
| Top. | Metres. | ||
| Calcareous grit, usually siliceous, with bones (often a true bone-bed). | ⎫ ⎪ ⎬ ⎪ ⎭ |
21 | |
| Sandy clays, etc., with silicified wood[45] | |||
| Thick-bedded brown sandstone, siliceous and ferruginous in part. | |||
| Green and gray iron-stained sandy clays | |||
| Thick-bedded brown crystalline limestone | |||
| Brown crystalline limestone with calcite cavities near base | 24 | ||
| Base. | 45 |
Below come the clays and sandstones of the lowest series, No. 7.
In the section above, the limestones are usually too crystalline to show any traces of organic remains, although numerous casts of shells occur at certain points. The calcareous grit, a very well-marked bed, has been observed at points widely distant within the oasis; in places it is a true bone-bed,[46] often highly siliceous and passing into a hard quartzite. Its occurrence here, at the top of the Cenomanian series and below the White Chalk (to be described later) is of great interest, as its position shows it to be probably homotaxial with the bone-beds of Dakhla Oasis[47] and the Eastern Desert,[48] where they are of Campanian age. The bone-beds on this horizon must thus have been deposited over an enormous area.
If followed round from the south end of the oasis along the east scarp, the beds of this division are found to gradually become more and more calcareous, consisting often almost entirely of limestone,[49] and to dip more and more to the south-east, till in the neighbourhood of the large sandstone-hill near the scarp in latitude 28° 5′, where the tilting reaches its maximum, they dip at 45° and partly disappear under the sandy covering of the ground between the hill and the scarp. Further north the dip grows less and the beds re-appear, forming the top of the main scarp at the oasis-edge.
The organic remains in Division 6 include ammonites, echinids, with Ostrea, Exogyra and masses of Serpulæ; fossil wood and fragments of bone also occur. These fossils are in places abundant, some bands being almost entirely formed of the shells of Exogyra. The ammonites,[55] although apparently specifically identical with those of the lower series, attain a much greater size. The assemblage of forms and the prevalence of bands of limestone point to deeper water conditions than the foregoing underlying series.
The following is a list of forms obtained as far as determined:—
| Rhabdocidaris, probably nov. sp. | |
| Diplopodia marticensis. | |
| Heterodiadema libycum. | |
| Toxaster radula. | |
| Hemiaster lusitanicus (roachensis?) | |
| Serpula (Galeolaria) filiformis. | |
| Pinna, probably nov. sp. | Corbula sp. |
| **Inoceramus cripsi. | **Natica sp. |
| Ostrea sp. | Tylostoma syriaca. |
| Exogyra flabellata. | Turritella nov. sp. aff. nodosa. |
| E. olisiponensis. | **Turritella sp. |
| E. mermeti. | Cerithium sp. |
| Plicatula Reynesi. | Pterodonta aff. inflata. |
| Spondylus (?) | Murex. |
| Modiola sp. | **Fusus sp. |
| Cardium sp. | **Drillia pleurotomoides. |
| Isocardia sp. | |
| Nautilus Munieri. | |
| **Pachydiscus peramplus. | |
| Neolobites vibrayeanus. | |
The above fauna taken as a whole has a decided Cenomanian aspect, although some of the forms (marked **) are indicative of a somewhat later age, i.e., Turonian and Senonian. As the next bed above is the Danian White Chalk, it is probable that some of the upper beds of this series form a transitional stage between the Cenomanian and Danian. The presence of the bone-bed, as already mentioned probably of the same age as the Dakhla and Eastern Desert bone-beds, i.e., Campanian, supports this view. In any case, however, the great thickness of beds, of Senonian-Danian age, of the southern oases of Dakhla and Kharga, including the bone-beds, the Exogyra Overwegi series and the ash-gray shales, is here apparently only represented by a few metres of deposits.
5. Thick-bedded White Chalk and grey crystalline limestone.—This series conformably overlies the upper member of the last. On the west[56] side the chalk forms a well-marked, snow-white, tortuous escarpment, lying at a considerable distance (5 to 10 kilometres) from the oasis-wall. Towards the south, however, it approaches the depression, its escarpment following immediately above and behind that of the underlying series. South of the extreme end of the depression proper, the chalk escarpment forms a long narrow bay, the furthest point of which is 20 kilometres distant. Thence it runs northwards, so that to the south-east of the depression the beds of the series are seen at some little distance from the oasis-edge, but further north they appear to come to the edge and to overlie the brown limestone as part of the main scarp in the neighbourhood of the large hill already mentioned in latitude 28° 5′ N., where the strata dip so steeply into the plateau. There is some difficulty in correlating the beds of this group on the two sides of the oasis, for while on the west they are chalky and in places fossiliferous, being only in part altered to a crystalline limestone, on the east, doubtless owing to the folding which produced the strong dipping already referred to, they are almost entirely composed of hard crystalline and horny greyish-white limestone, apparently devoid of fossils. (Vide p. 60).
Within the depression it is probable that the White Chalk is represented in part by some of the hard gray crystalline limestone in the synclinal fold of Jebel Hefhuf.
On the west and south-west sides of the depression the White Chalk covers a considerable area, which is characterized by its rough surface and by numerous depressions, some of considerable size, eroded by wind-borne sand. To the south it extends to Farafra, being continuous with the chalk of that oasis.
Lithologically, on the west side of the oasis, the series is represented by a thick-bedded, snow-white, pure foraminiferal chalk, 30 to 45 metres thick, partly altered in the upper part into hard gray crystalline limestone. It was probably deposited in water of considerable depth.
On the west side of the depression the White Chalk yielded a fair assemblage of fossil-remains, the chief among which were great numbers of corals. In the upper part Nautili are occasionally met with, while Spirorbis, Pecten, Gryphæa, fragments of Inoceramus and other shells are fairly common. In addition echinids occur sparingly and sharks’ teeth are seen here and there. One of the best fossil localities is 24 kilometres north of Ain el Haiss.
[57]The following is a list of those obtained:—
| Cælosmilia. | Exogyra overwegi. |
| Linthia nov. sp. | Pecten farafrensis. |
| Spirorbis. | Spondylus nov. sp. aff. S. Dutempleanus. |
| Inoceramus. | Nautilus sp. |
| Gryphæa vesicularis | Corax pristodontus. |
As regards the age of this White Chalk the fossil facies has a very young Cretaceous aspect. Zittel[50] has already shown that the White Chalk of the Libyan Desert, studied by him in Farafra, Dakhla and Kharga, is Danian, and the identity of the chalk of Baharia with that of those oases was satisfactorily proved on the traverse from the latter oasis to Farafra.
The White Chalk brings our description of the Cretaceous series of Baharia to a close. As will be shown, it is overlain unconformably by Eocene deposits. Throughout the deposition of the Cretaceous in this area it is clear from the character of the beds that the sea-floor had been continually sinking. After the deposition of the white chalk subsidence probably ceased and the area became one of elevation, the Cretaceous beds rising to form land. During this elevation much folding must have taken place, and subsequently gradual subsidence set in until in Lower Eocene times the area again became marine and the deposition of the rocks now to be described began to take place.
Upper Libyan—Lower Mokattam.[51]
4. Limestones with Nummulites and Operculina.—In the north part of the oasis, both in the walls and in the isolated hills within the depression, the lower Cenomanian beds, the “Sandstones, clays and marls,” are directly overlain by buff-coloured or yellowish limestone of Eocene age, containing Nummulites, Operculina, Ostrea, etc. The beds of the two series being horizontal, the junction is one of apparent conformability, but in many localities the base of the Eocene is marked by a bed of limestone-grit, indicating the break in continuity of deposition which is known to have occurred from the respective ages of the beds in question and from a study of the same beds further to the south.
In a traverse across the plateau to the west of Bawitti, Operculina-limestones with nummulites were found to form the surface of the desert. Again on the traverse from Maghagha to the oasis, already described, no Cretaceous beds were crossed, so that the plateau N.N.E. and N.W. of the northern end of the oasis is entirely formed of Eocene rocks. On the east side, however, no certain evidence of Eocene age in the beds capping the scarp has been found south of the fault which cuts the scarp as the prolongation of the sharp syncline of Jebel Hefhuf.
Further south, on the west side, a very dissimilar succession was found to that on the north. Here at a distance of 20 kilometres from the oasis wall, at a point 30 kilometres north-west of Ain el Haiss, the uppermost member of the Cretaceous, the White Chalk itself, is overlain by a hard gray crystalline limestone containing an abundance of Nummulites and Operculina, with Lucina, Fusus and Natica. The actual junction of the two series is here difficult to detect, as the White Chalk is itself altered in its upper part into a hard gray crystalline limestone, simulating the Eocene beds themselves, and there is little difference of dip between the two series. The following foraminifera have been determined from this locality by Mr. F. Chapman:—[52]
| Textularia? gramen | N. discorbina |
| Globigerina bulloides | N. sub-discorbina |
| Operculina complanata, var. discoidea | Orbitoides (Discocycloides) dispansa |
| Nummulites gizehensis, var. Pachoi | (O. dilabida, Schwager). |
| N. curvispira |
[59]Within the synclinal fold at one point (Plate VII), 17 kilometres north-east of Ain el Haiss, Eocene echinids and nummulites were found, but the beds from which they had weathered had been almost completely removed by denudation. The echinids have been recognized by Blanckenhorn as the following:—
| Porocidaris Schmedeli. |
| Echinocyamus luciana. |
| Sismondia Sæmanni. |
The following two species of nummulites have been determined by Chapman:—
| Nummulites Beaumonti. |
| N. sub-Beaumonti. |
Beds of east side of depression.In the scarp due north of Harra, the Cenomanian sandstones and clays with Exogyra mermeti and E. africana are conformably overlain by a hard yellow crystalline limestone containing small nummulites; so that here the Eocene clearly overlies the Cenomanian beds. If this upper limestone bed be followed southwards along the scarp (see the sections on Plate VIII) it appears to be continuous as far as the road leading to Ain Haswi, where the ground forming the bottom of the oasis-depression rises to the level of the limestone, and the clays are completely hidden by sand and limestone-debris. There commences here, however, a considerable thickening of the limestones, and hard brown limestones, with calcite-filled cavities, and some soft earthy beds come in; so that here we have the beginning of the series (No 6) which has been described as recurring on the opposite scarp in the same latitude, and which forms the hills north-west of Harra. The topmost bed of the scarp is a hard crystalline limestone, which appears continuous with that containing nummulites further north, and the top of the plateau is therefore probably here also Eocene. A little further south, the plateau-surface is covered with countless small hills of white chalky limestones with siliceous beds; these beds were searched without result for fossils, but as they overlie the hard crystalline rock, above mentioned as probably Eocene, they must be of Tertiary age, and therefore do not correspond with the Danian white chalk of the western plateau. As the large hill near the plateau east-north-east of Ain el Haiss is approached, the thickening of the lower crystalline brown and grayish-white limestones is very marked, and here they probably comprise both Cenomanian and Danian rocks; but the dip south-eastward is so strong that the Eocene must be close to[60] the edge of the plateau, while the folding doubtless accounts for the crystalline nature of the rocks and their poverty in fossils. South of the large hill, a second plateau is met with at a distance of about a kilometre eastward from the main scarp; this second plateau consists of soft chalky beds similar to those above-mentioned, underlain by clays and sandstones, while the main scarp still exhibits brown and grayish crystalline limestones, though both the dip and the thickness of these beds become gradually smaller. As the south point of the oasis is approached the limestones thin out, till at the end only a few beds of hard yellow-brown limestone occur in the clays; these beds are continuous with those containing Cenomanian fossils on the west plateau. Thus at the south-east portion of the scarp the Danian is either absent, or represented by very thin beds at a little distance from the oasis. It might be suggested that the soft chalky limestones which form the second or upper plateau correspond with the Danian white chalk of the west side; but several considerations tend to negative this view. In the first place, it has been mentioned above that similar soft chalky limestones occur at about the same horizon further north, where they overlie beds which are probably Eocene. Again, on the line followed from the south end of the oasis of Minia, nummulites were found in abundance only a few kilometres away from the oasis. And lastly, these chalky limestones never show folding comparable with that of the lower beds, a fact which seems nearly conclusive in view of the unconformity known to exist at other points between the Cretaceous and the Eocene.
If the Eocene age assigned above to the chalky limestones of the eastern plateau be correct, it is possible that the clays and sandstones which underlie and separate them from the Cretaceous limestones may represent the Esna Shales of the more southern oases, though sandstones are elsewhere absent from this series.
Unconformity and overlap.—From the above description of the Eocene rocks of Baharia we see that their relation to the underlying Cretaceous system is one of unconformable overlap.[53] In the north[61] part of the oasis we have the Eocene (Up. Lib.-Low. Mok.) overlying directly the lower beds of the Cenomanian; further south, on the west, the same beds overlie the White Chalk of Danian age, and no doubt at an intermediate point the Eocene overlies the intermediate beds. On the east side, though the actual demarcation of the Eocene and Cretaceous beds is a matter of some difficulty, the difference of dip between the two systems in some localities is well marked.
It seems certain then that after the deposition of the Cretaceous beds in this region, elevation took place with a considerable amount of folding (which will be noticed fully further on). The land thus formed underwent a marked denudation before subsidence took it below the surface of the sea and allowed of the deposition of the Eocene deposits just described.
3. Ferruginous grits and quartzites, with limonite and pisolitic iron-ore. As already mentioned, one of the most striking topographical features of the oasis is the number of isolated black, and for the most part perfectly conical, hills within the depression. These hills are composed of the lower Cenomanian sandstones and clays of the Cretaceous, and owe their existence and dark colour to protecting caps of very hard, dark, ferruginous, silicified grits and quartzites, often associated with limonite. The first impression obtained on examining these rocks, is that they are merely silicified and ferruginous bands of the sandstone series below, which forms the general oasis-floor and part of the walls and hills.
A careful investigation of the deposits over a large area, however, shows this view to be untenable; for while in most of the isolated conical hills within the depression, the beds in question cap the lower sandstones and clays (No. 7) of the Cenomanian, on a portion of the edge of the western plateau they cap the bed of limestone (basal member of No. 6) which itself caps the lower sandstones and clays. (Plate I). There must therefore be an unconformable overlap below the two series.
This is further borne out by the facts, first, that the ferruginous silicified grit has never been observed to pass under the limestone in the walls of the oasis, although found capping hills in close proximity; and secondly, that the limestone never occurs below the ferruginous silicified grit in the isolated conical hills. The former would happen if the deposit in question represented the top of the sandstones and clays, the latter if it represented the next bed above the limestone.
[62]Furthermore, these beds are found capping hills close to the oasis-wall, and occurring on exactly the same level as the limestone capping the latter, suggesting at first sight some sort of connection between the two; the beds are, however, so entirely different that it is not possible to imagine the one to be an altered condition of the other; moreover, if such were so, the gradual passage of limestone to the ferruginous beds should be visible, but such has never been observed.
The only possible view of the origin of these beds, consistent with the above facts, is that they represent a far younger deposit than the strata on which they lie, a deposit formed in fact in a slight depression in the Eocene and Cretaceous rocks, long anterior to the time when erosion was carving out the area to its present form. The pisolitic character of the iron-ore of Jebel Horabi and the usually large amount of ferruginous material, as well as the general character of the beds, indicate shallow-water lacustrine deposition and precipitation. No organic remains have as yet been observed in these deposits.
It should be mentioned here that it is frequently impossible to draw any sharp of line of demarcation between these deposits and the undoubted Cenomanian sandstones below, when they rest on the latter in the hills within the depression. The sandstones themselves are frequently ferruginous and limonitic in their upper layers. This, however, is easily explained on the supposition that there would have been considerable infiltration into these porous sandstones forming the lake-floor, with consequent deposition of ferruginous material.
Lithologically the beds in question present a considerable similarity to the quartzites and hard ferruginous sandstones of Jebel el Ghudda and Gar el Hamra on the road from Feshn to the oasis (ante, p. 18, 20), and also to the beds of Jebel Ahmar, near Cairo, and in parts of the Fayum. In the absence of evidence of their precise age, they may be provisionally classed as Oligocene.
Jebel Horabi.A short description of these beds in a few special localities will now be given.
This well-marked hill, situated at the extreme northerly end of the depression, consists of a mass of ferruginous material, including limonite, pisolitic iron-ore, red and yellow ochre, etc., lying on a series of sandy shales, clays and sandstones belonging to the Cenomanian (Series No. 7). Thin bands of limonite, etc., occur in the clays and sandstones, but the great mass of mineral appears to form a distinct deposit capping, and in part replacing, the former. The iron-ore occurs in every stage of purity.
[63]Samples from Jebel Horabi, analysed by Mr. A. Lucas, gave the following results:—
| Pisolitic ironstone | Ferric oxide | 58·68% ≡ 41·07% | iron. |
| Limonite | „ | 81·06% ≡ 58·84% | „ |
Isolated hills in centre of Oasis.These hills all show the same characters, with the exception of one or two capped by limestone or basalt.
They consist of sandstones, with occasional shales and clayey bands, of the Cenomanian series (No. 7) capped by a hard brown or black silicified ferruginous grit, which frequently passes into a typical quartzite. This cap may be of any thickness up to some seven or eight metres. Its junction with the sandstones below is generally obscured by the mass of talus lying on the slopes, but where visible it is difficult to draw any line of demarcation between the two, there being in some cases a more or less gradual increase of hardness and ferruginous material from the upper part of the sandstones upwards. In one hill an ordinary yellow sandstone was observed, when followed up, to contain an increasing number of ferruginous concretions, at first in isolated lumps, or strings, but higher in such quantity as to present the appearance of a breccia, which latter gradually passed up into a hard dense mass of ferruginous quartzite. This at first sight suggested a similar age for the whole rock-section, but would be quite explicable on the supposition of infiltration, as suggested above.
2.—Basalt and Dolerite.—Three large hills in the north-west of the oasis, notably Jebel Mayesra, Jebel Mandisha, and the northern half of Jebel Hefhuf, are capped with a basic volcanic rock, the existence of which was noted by Cailliaud[54] so long ago as 1820. Ascherson[55] further studied the distribution of this rock in 1876, and collected specimens which were carefully examined later by Prof. Zirkel.[56] The latter diagnosed the rock as a typical plagioclase-basalt, strongly resembling that of the Giant’s Causeway; it is finely holocrystalline, containing augite, plagioclase and olivine, with some magnetite and ilmenite, and very sparing flakes of biotite; the resemblance of the rock to basaltic intrusions in Tripoli and at Abu Zabel (between Cairo and Bilbeis) is remarked on by Zittel and Ascherson, and the opinion that it was intruded into the sandstones in later Tertiary times is put forward.
[64]The basaltic intrusions occur at four separate points in the oasis, representing two more or less inclusive areas; the total area covered by the rock is about 14 square kilometres. The intrusion appears to have been in the form of laccolites; in Jebel Hefhuf the basalt is intrusively interbedded in the Cenomanian, between the lower sandstones and the overlying limestone, both of which rocks show distinct signs of contact-metamorphism. The sandstone shows generally very little alteration, though in some places much hardened; while the limestone is highly crystalline and of a beautiful red colour near the igneous rock. The crystalline nature is, however, more due to folding than to contact-metamorphism, as it occurs in all the limestones of the neighbourhood. In several places the vertical pipes, up which the molten mass was thrust, with disturbance of the sandstone, can be traced; and dykes are occasionally seen near the edge of the deposits. The section seen in Jebel Mandisha is as follows:—
| Top. | Metres. | ||
| Columnar basalt and dolerite, much broken up by weathering | 9·2 | ||
| Sandstones, clays and sandy shales | 64·0 | ||
| Ferruginous sandstones with casts of Exogyra (thin bed) | ⎱ ⎰ |
9·2 | |
| Sand-rock and sandstone with ferruginous bands | |||
| 82·4 |
In a small ⅂-shaped hill in lat. 28° 46½′ N., long. 28° 48′ E. of G. a mass of basalt occurs which appears to be mainly the remains of a large pipe or “neck.” The igneous rock here shows flow-structure at the sides, being hard and crystalline in the centre. It has altered the sandstones at the contact very considerably, converting them into a greenish rock full of chalcedony. Here, as in the other deposits, the basalt shows distinct columnar jointing and the resulting blocks weather into spheroidal masses where exposed.
The igneous rocks of Baharia are therefore Post-Cretaceous in age and it seems reasonable to assume, as suggested by Mayer-Eymar,[57] that they are of Lower Oligocene age, contemporaneous with the basalt-sheets of the Fayum, of Abu Roash and the desert to the west, and of Abu Zabel. The andesite neck passed on the road between Maghagha and the oasis (p. 22) and the larger masses of Bahnessa and other places in the Western Desert were likewise probably erupted at the same time.
1.—Sand-dunes, Salines and Superficial Deposits.
Blown Sand, carried along by the prevailing north and north-west winds, is heaped up against all obstacles in its path, such as hills and vegetation; sometimes it is carried over these obstacles, only to fall and accumulate in the wind-shadow on the other side. The cultivated lands of the villages are for the most part surrounded by sand-accumulations, and some low dunes occur in various parts of the oasis; the positions of the latter will be better gathered from the maps than from any mere description. Baharia itself is more free from sand than any of the oases to the south of it, but even here the deposits of this material are very considerable, and as already mentioned extensive sand-dunes occur on the desert to the east, at a short distance from the depression.
Salt-swamps occur in the north of the oasis, having probably been produced by the overflowing of springs forming lagoons, which have taken the salt from the surrounding clays, the water from the springs only containing a small percentage of salt. The salt-swamps round Mandisha are now covered with a thin rough dry white crust of salt mixed with clay and sand; when this is broken through a salty sludge is seen to exist below, sometimes in a quite liquid state; the depth of sludge is probably not very great, but there is enough to immerse a camel up to its neck, as was found by experience during the survey.
Clays.—Sandy clays of recent origin occur at isolated spots on the floor of the oasis, notably near Ain el Haiss, where they are now being rapidly removed by the action of the wind. Many of the springs are also depositing a certain amount of clay on the low ground.
The rocks of the district have undergone a considerable amount of disturbance along certain lines.
The most important fold is a well-marked syncline beginning at the west scarp in lat. 28° 7′ N. and running across the depression in a direction 30° north of east until it strikes the eastern escarpment in lat. 28° 23′. This synclinal fold is remarkably sharp, the width being generally only a few hundred metres, but the dips so strong as to bring the limestone beds nearly vertical in places. Along the line of fold we find the whole of the series 6 and 7 brought down to the level[66] of the floor of the oasis, but on either side the beds so quickly regain their horizontal position that no trace of the folding is to be seen (Plate VII). The White Chalk in these folds is always altered by pressure into a hard crystalline limestone, as are also the limestones of the Cenomanian below. The fold is not actually continuous across the area, but is in reality made up of a number of long narrow ellipsoidal depressions, or cup-shaped hills, in which the end-dips are always less strong than those of the sides. At its most southerly point, where it runs into the scarp 14 kilometres north-west of Ain el Haiss, the two series 6 and 7 are found dipping northwards at angles up to 40° (and at one spot 78°). On the other side of the fold the same beds dip southwards at only 5°, and the appearance of the fold at this point suggests the existence of an accompanying fault (fig. 1).
Fig. 1.—Section across Syncline, 12½ kilometres N.W. of Ain Haiss.
a. Shales and sandstones with Exogyra, Arca, Cucullaea, etc., Neolobites vibrayeanus, etc. b. Hard crystalline limestone with flints. c. Sandstone passing into hard quartzite. d. Variegated sandstones with bands of sandy limestone. e. Hard dark-brown siliceous crystalline limestone. f. Calcareous grit (≡ bone-bed) passing in part into sandstone, and capped by hard crystalline limestone with shells.
Between this point and Jebel Hefhuf the fold is marked by a line of low isolated limestone-capped, cup-shaped hills, the largest and best marked of which is 16 kilometres north of Ain el Haiss. Here the maximum dip amounts to 55° on the western side of the basin-shaped hill.
Jebel Hefhuf is, perhaps, the most striking part of the fold. The southern portion owes its existence entirely to this syncline, consisting as it does of a long, and remarkably narrow, ridge-shaped hill of folded[67] rocks. Dips of 50° and 60° are common in places, and the limestones implicated in the fold are usually rendered hard and highly crystalline. The highest crystalline limestones in Jebel Hefhuf probably represent the White Chalk, but the beds are too crystalline to show any traces of fossils.
It is noteworthy that all the basaltic rocks of the oasis occur on the north-west side, and at no great distance from this syncline. To the north-east of Jebel Hefhuf the line of fold passes apparently between the range of elongated hills west of Harra and the larger somewhat triangular hill to the north of it, and although the limestones and clays of these hills show a considerable amount of folding they do not exhibit it in so striking a manner as Jebel Hefhuf.
Continuing the line till it cuts the last scarp, we arrive at a prominent sandstone headland, in the gullies on either side of which the folding can be very well seen. To the west of the headland the beds are thrown sharply up in the valley so as to be nearly vertical; this up-throw has resulted in an actual fault, the denuded edges of the vertical sandstone and clay-beds being overlain by a horizontal bed of limonite. The nose of the promontory is of sandstone, this being thrown up somewhat on the south-east side of the fault; the upper sandstone and clay beds dip south-east again somewhat sharply on the face of the headland and come down to the level of the oasis floor. It would seem therefore that at this point we have the syncline between two sharp anticlines, the north western of which has culminated in the fault.
The southern end of the oasis is cut out in a well-marked gentle anticline.
On the west side from Ain el Haiss southwards the whole succession of Cretaceous rocks dip steadily to the north-west at from four to five degrees, while those on the east scarp show an equally constant dip to the south-east, which increases further north, till in the neighbourhood of lat. 28° 5′ its magnitude reaches 45°; it becomes gradually less further northwards. Owing to this strong tilting of the beds, the large hill near the scarp consists entirely of sandstones and clays with a cap of quartzite and limonite, although nearly or quite as high as the scarp; the beds here recover their nearly horizontal position at a very short distance north-west of the line of folding, as do also those of the plateau on the other side the line.
Besides the above-described disturbances of the beds, there are some smaller local disturbances which are extremely well-marked. Thus for instance the large flat-topped hill in N. lat 28° 7′ and E. long. 28° 48′, like several smaller hills E.S.E. of it, bears a cap of limestones,[68] although its height is less than that of the sandstone hills around it. The section of this hill at its western side is as follows:—
| Top. | Metres. | ||
| Silicified limestone | 0·6 | ||
| Hard impure chalk | 2·4 | ||
| Silicified limestone | 1·2 | ||
| Pale green soft sandy and clayey limestone | 6·1 | ||
| Sandy ferruginous conglomerate | 0·3 | ||
| Clays with sandy and ferruginous layers, extending to oasis floor. | approximately | 22·0 | |
| 32·6 | |||
The beds are horizontal, and the neighbouring smaller hills which possess a similar limestone covering are precisely of the same height. It would seem impossible to account for these limestone caps in the midst of higher sandstone hills except by assuming that they mark the positions of islands, subsequently denuded, in the post-Eocene lake which deposited the limonite caps on the other hills; at the same time they evidently represent part of a synclinal fold, though the horizontal position and non-crystalline character of the beds show that this syncline must have been wide and shallow. It is scarcely possible to think there can have been a locally calcareous deposit from the lake which generally deposited the sandstone and limonite; the sudden transition from the black sandstone and limonite of the surrounding hills to the snow-white limestones of those under consideration is so strongly marked in the field as to forbid such a supposition. At the same time, no fossils were found in the beds, so they cannot be satisfactorily correlated with the limestones of the oasis-scarps, and they are of somewhat variable character at different points of the hill.
It is evident then that in the south part of the depression the Cretaceous beds as a whole form a large flat anticline, which is continuous with that of Farafra to the south.[58] This bears out the statement of Capt. H. G. Lyons,[59] some years ago, that he believed Baharia and Farafra Oases to lie on an anticlinal at right angles to that of Dakhla and Kharga. The anticlinal and synclinal folds of Baharia are parallel and were evidently produced by the same earth-movements.
Age of the folding.Within the oasis-area too, some other traces of folding are visible; in lat. 28° 11′ N., long. 29° 1′ E. are two small hills of clays and sandstones[69] (the latter locally green in colour), the beds of which dip about 30° E. and W. respectively, showing a local anticline whose axis runs nearly north-and-south. In this neighbourhood, as in the oasis generally, it is not possible to trace the folding in the beds of the low ground, owing to its thick sandy covering.
Another point of disturbance is on the western plateau in N. lat. 28° 26′, E. long. 28° 49′, some 11½ kilometres north-west of El Qasr. Here (Fig. 2) along a N.E. and S.W. line, crossing an otherwise level plateau, the Eocene beds, and probably also the Cretaceous below, are thrown up in a sharp anticlinal fold, which however, is not continuous but consists of a number of isolated bulges, with dips up to 50°. The plateau at this point consists of Eocene Operculina and Nummulitic limestone, and the effect of the anticlinal fold is to expose the beds of sandstone below, which, as already mentioned, are probably Cretaceous.
Fig. 2.—Sketch showing probable relations of Eocene and Cretaceous in anticline on Western Desert plateau, 11½ kilometres N.W. of El Qasr.
Eocene.—1. Grey crystalline limestone. 2. Hard white gritty chalky limestone. 3. Grey calcareous sandstone. 4. Limestone with Nummulites and Operculina.
Upper Cretaceous.—5. Calcareous-grit. 6. White sandstone. 7. Crystalline limestone. 8. Cenomanian clays and sandstones with Exogyra flabellata, E. Mermeti and E. olisiponensis, etc.
With regard to the age of the tectonic movements which produced the synclinal and anticlinal folds of Baharia, it must be admitted that it is not easy to speak with absolute certainty, owing to want of evidence at one or two points. It appears certain, however, that they belong to two great movements, separated by a vast interval in time. The first disturbance of the beds would appear to have taken place at the end of the Cretaceous period, when it seems probable that the area in question underwent upheaval into dry land. It seems tenable that it was during this movement that the large flat anticline, so well seen in the south part of Baharia and in the north of Farafra, was produced, as the Eocene beds forming the plateau immediately to the east of the[70] Cretaceous beds do not show any sign of disturbance.[60] The subsiding Cretaceous land, on which these Eocene deposits were laid down, must therefore have had the form of a long, flat, irregular ridge of anticlinal structure, probably extending from Dakhla through the oases of Farafra and Baharia to Abu Roash.
The other folds of Baharia, being parallel to the anticline just dealt with, would at first sight appear to date from the same movement. With regard to the syncline, however, two observations appear which force us to consider its age as very much later; these are, first, the occurrence of nummulites and other Eocene fossils within the fold at a point 16 kilometres north of Ain el Haiss, and secondly, the fact that at the northern extremity of the fold, where it meets the eastern scarp, the Eocene beds are affected. With regard to the first of these, the beds themselves, from which the fossils had been derived, were not observed to be actually affected by the fold, and therefore the evidence here, although suggestive, is not conclusive. The evidence at the north end of the fold, however, if substantiated, proves that the age of the fold must be post-Eocene. With regard to the anticlinal fold on the north-western plateau there is no question, as this clearly affects the Eocene beds; it also is parallel to the other folds. These folds affecting Eocene beds, lead us to the conclusion that there was another period of possibly ever more important earth-movements, of the exact date of which we cannot be certain, although it is not impossible that it was closely connected with those great earth-movements of Pliocene times, which gave rise to the chief topographic fixtures of N.E. Africa and S.W. Asia.
Summary.Summary of the Geological History of the Oasis.—The oldest[61] sedimentary deposit in Egypt is the Nubian Sandstone of the Cretaceous. From the general absence of marine shells in this rock we may premise that the deposit was laid down in an inland sea or lake, which must have covered an enormous extent of country. In the northern part of Egypt the upper part of the Nubian Sandstone becomes fossiliferous, the fauna having an undoubted Cenomanian aspect; this is the case in Wadi Araba, at Abu Roash and in Baharia. Further to the south, however, as in Dakhla, the Nubian Sandstone first becomes fossiliferous in Senonian times. We may explain this difference in the two localities on the supposition that a gradual subsidence was taking place with[71] a corresponding gradual encroachment of the sea from the north, which covered the northern part of the country (including Wadi Araba, Abu Roash and Baharia) in Cenomanian times but did not reach the latitude of Dakhla till considerably later, i.e., in Senonian times.
From the Cenomanian onwards throughout the Cretaceous, the Baharia area was one of continued subsidence, the lithological and palæontological characters of the beds showing evidence of a gradual increase in conditions of depth, until the maximum was reached in the deposition of the White Chalk in Danian times.
Between the deposition of the uppermost Cretaceous rocks and the Eocene it is probable that a considerable interval elapsed, during which the Cretaceous was elevated into land, with much folding and fracturing of the rocks and subsequent denudation.[62] It was probably during this upheaval that the Cretaceous of Baharia assumed its anticlinal structure.
Subsequently, subsidence taking place, the Eocene sea submerged the area, and deposits were laid down on the uneven Cretaceous land in an unconformable and overlapping manner. In Baharia the lowest member of the Eocene of Egypt, the Esna Shales, is not present, although further to the south towards Farafra it has been observed. On the east side, some sandstones and clays met with below the white chalk beds of the outer plateau may belong to this division.
The first undoubted Eocene deposits in the Baharia area are the limestones with Operculina and Nummulites which unconformably overlie different members of the Cretaceous in the north and west sides, and eastward of the south end. The whole of the Eocene deposits are here, however, only a few metres thick, which contrasts strangely with the enormous thickness of the deposits of the same age in the Nile Valley. This is intelligible, however, on the supposition that near the subsiding Cretaceous land the conditions for continued accumulation of deposits were not so favourable as further to the east, where deeper water conditions obtained.
Subsequently, in Post-Eocene times, the whole underwent upheaval, and it is probable that during this elevation the main synclinal fold[63] was produced, together with the minor anticline. The evidence for placing the date of the formation of the syncline anterior to the deposition of the ferruginous grits, limonite, etc. (Series No. 3) stands on the[72] following basis: the absence of proof of the folding in question having affected the beds of Series 3, and the presence of a horizontal deposit of limonite on the upturned edges of the strata, at the point where the fold meets the eastern scarp (page 66). About the same time, probably, basalt and dolerite was intruded into the Cenomanian rocks below.
Formation of depression.As a result of the sharp folds the upper limestones were cracked, and their denudation by natural agencies followed, forming a slight hollow similar in shape to that which the oasis now exhibits; the agent of denudation cannot be stated with certainty, but whatever force came into operation it would find easy work in the cracked-up rocks, and still easier would be its task in partly removing the soft Cenomanian sandstones and clays after the harder limestones had disappeared. The primary excavation of the hollow was followed by the formation of a great lake, in which were laid down deposits of sandstone, quartzite, and iron-ore; this lake doubtless surrounded islands, represented to-day by those hills which still preserve their limestone-caps; it extended, or similar lakes existed, beyond the oasis-limits, forming the quartzites and ferruginous sandstones passed on the way from Maghagha to Baharia, and was perhaps continuous with the Oligocene and post-Oligocene sea which covered a large part of the country to the north.
In later times the area finally became continental and denudation gradually sculptured the oasis to its present form; this sculpturing would no doubt proceed rapidly in the moist climate which is known to have existed in Egypt in Pliocene and early Pleistocene times, and is being continued to-day by the powerful agency of the desert wind-borne sand and changes of temperature.
The water-supply of the oasis is probably derived from the tropical rains of the mountainous regions of Central Africa, the water from which penetrates the ground and flows northwards along permeable beds of sandstone, etc., in which it is confined by other impermeable strata, until tapped naturally or artificially in the great oases or depressions of the Libyan Desert.
[35]Voyage à Méroé, etc., op. cit.
[36]Geologie, u. Palæontologie der Libyschen Wüste. Cassel, 1883.
[37]Zittel had divided the Cretaceous of the Western Oases into the following main divisions:—
| Top. | ||
| 1. | Well-bedded limestone and earthy chalk. | |
| 2. | Greenish and ash-grey shaly clays. | |
| 3. | Beds with Exogyra Overwegi. |
[38]On the Stratigraphy and Physiography of the Libyan Desert of Egypt, Quart. Jour. Geol. Soc., Nov. 1894, Vol. 50, p. 535.
[39]Letter from Prof. Zittel to Capt. Lyons, dated May 19th, 1894. It was afterwards suggested (Beadnell, op. cit. Int. Geol. Congress, p. 10) that these specimens were possibly not E. Overwegi at all, and Mr. Bullen Newton, of the British Museum, who has undertaken the determination of the Baharia collection, confirms this, stating that the so-called specimens of Exogyra Overwegi, referred to in Capt. Lyons’ paper, are in reality examples of E. mermeti.
[40]A short account of the geological structure of Baharia has already been published:— Beadnell, op. cit. (Découvertes Géologiques Récentes, etc.) Int. Geol. Cong. 1900; Paris, 1900.
[41]This, with the 6 metres of Eocene limestone above, gives the height of the hill above the floor as 174 metres. Ascherson gives 162, but the difference is probably due to our readings being commenced on the lowest ground in the neighbourhood, where the oldest beds were exposed.
[42]The specific names given in this report are based on determinations made by Dr. Blanckenhorn in Cairo and by Mr. Bullen Newton at the British Museum.
[43]In connection with the discovery of Cenomanian deposits in Baharia Oasis, vide, Geological Magazine, Nos. 127, 430, 432, 1900 (H. J. L. B.).
[44]A very striking feature of the brown limestones is the abundance in them of calcite-lined cavities; these are often arranged in planes parallel to the bedding, as is well seen for instance in the hills north-west of Harra.
[45]Mr. Gorringe first drew attention to the presence of fossil wood in these beds.
[46]An analysis of this bone-bed is given in Report on the Phosphates of Egypt, Geol. Surv. Egypt, publication, Cairo. 1900.
[47]Beadnell, Dakhla Oasis, its Topography and Geology. Geol. Surv. Egypt. Report, 1899, Pt. IV. Cairo. 1901, pp. 96-98.
[48]Barron and Hume, Topography and Geology of the Eastern Desert of Egypt, Geol. Surv. Report, Cairo, 1903.
[49]It may perhaps be that the lowest limestone bed disappears, having thinned out, in which case it is difficult to distinguish the sandstones and clays of this division from those of the one below.
[50]Zittel, op. cit.
[51]As it seems probable that the Lower Mokattam is a somewhat local development of the upper part of the Libyan Series, and it being difficult or impossible in many areas to separate the two, we shall in our description of the Eocene of this oasis make no attempt at a division.
[52]Chapman, Geol. Mag. Dec. IV, Vol. IX, Feb. and March, 1902, pp. 62-67, 106-114.
[53]It should be noted here that the presence of an overlap was suspected by Capt. H. G. Lyons as long ago as 1894, as in his paper (op. cit. 535) he says:—
“At the north-east and east of the Baharia Oasis the Upper Mokattam beds, characterized by Ostrea Fraasi and O. Cloti (as kindly determined by Dr. Zittel), occur 30 miles north-east and 20 miles east of Upper Cretaceous beds containing Exogyra Overwegi in the oasis, and with a difference in altitude of less than 200 feet. As there is no marked dip of the beds, we have evidently an overlap of the remainder of the Cretaceous beds and the Libyan and Lower Mokattam beds of the Eocene, and this inference is borne out by the short distance between the Cretaceous and Miocene outcrops to the west on Dr. Zittel’s route to Siwa.”
[54]Voyage à Méroé, I., p. 189. The same observer also noted the presence of nummulites in the northern scarp, and the ferruginous nature of the sandstones composing the hills of the oasis (p. 190).
[55]Zeitsch. d. Ges. f. Erdkunde zu Berlin, 1885, p. 134.
[56]Geol. d. Liby. Wüste, 1883, pp. 122, 123.
[57]Le Ligurien et le Tongrien en Égypte, Bull. Soc. Géol. France, sec. III, vol. XXI (1893).
[58]Beadnell, op. cit. (Farafra Oasis) p. 28.
[59]Lyons, op. cit. pp. 537-540.
[60]Op. cit. (Découvertes Géologiques Récentes, etc.) pp. 855-856.
[61]We except, of course, the very local areas where a Carboniferous fauna has been detected.
[62]Compare, op. cit. The Cretaceous Region of Abu Roash, etc.
[63]Or, as suggested above, these folds may have been produced in later times, i.e., Pliocene, when important earth-movements were known to have taken place in N.E. Africa and S.W. Asia.
Antiquities.
The archæological remains of Baharia Oasis admit of a classification, based on their ages, into the following three groups:—
| (a) | Egyptian, consisting principally of a stela of the 18th, a tomb of the 19th, and temples of the 26th Dynasty. |
| (b) | Roman, including the ruins of an arch and various other structures; also the subterranean aqueducts still in use for conveying water from springs to the cultivated land. |
| (c) | Coptic, embracing the ruins of several villages and a church. |
As the literature concerning these is mostly fragmentary and scattered, it may be well to describe briefly the various remains, following the above classification.
The oldest inscription yet found in Baharia is that on a stela of the time of Thothmes II, which was discovered by Ascherson in 1876 to the west of Bawitti.
This stela is of historical importance, as being not only the oldest of all antiquities from the oases, but also older than any inscription bearing reference to the oases, and as proving that even at the beginning of the New Empire the Egyptians had taken possession of the oases and erected temples to their gods therein.
Ascherson was also the first to record the existence of the ruins of an Egyptian temple in the oasis. This structure is marked on his map[64] as existing some 2 kilometres north-west of El Qasr; he appears, however, to have noted no inscription on the walls (the only parts remaining) and his brief references to it in his memoir do not give any data as to its age.
In his recent visit (1900) to Baharia, Steindorff[65] discovered the remains of two Egyptian temples. The first of these exists under modern dwellings in the middle of the village of El Qasr, in a farm[74] belonging to the Omda. It contains at present only one room, with no inscriptions except on the roof, whence, however, we learn that the building was erected during the reign of King Apries (B.C. 588-570) to “Ammon-Re, the Lord of the Oasis, who dwells in Desdest,” by a certain Weh-eb-Re-nofr and one Ded-Khens-ef-Onkh.
The second temple found by Steindorff, erected by the same “Prince and Ruler of the Oasis” Ded-Khens-ef-Onkh, lies about 2 kilometres south-west of El Qasr. It was erected in the reign of Amasis (B.C. 569-526) and is therefore of somewhat later date than the foregoing. The large room, excavated from sand by Steindorff, has its walls ornamented with representations of Egyptian deities, the colours of which are admirably preserved.
It is curious to note that at least one, and perhaps both, of the temples discovered by Steindorff had been previously visited by Ascherson in 1876. This observer mentions (op. cit. p. 140) “a well preserved underground chamber which serves as a dwelling for the servants of the Omda, which may be of Egyptian origin. On the roof of this chamber (which is 7·25 metres long, 2·40 metres broad, and 2·90 metres high) is a line of inscription,” which latter he was unable to read owing to the darkness. There can be no doubt of the identity of this place with the first of the temples described by Steindorff. Further on in his memoir (p. 142) Ascherson also mentions a ruin called “Qasr Megasba, a sandstone structure having its sides oriented to the four cardinal points, 8·5 metres long, 6·9 metres broad, with a small entrance-hall to the south and a large room which can only be entered through the smaller one.” He relates that the door-way is walled up with crude brick, and does not say whether he entered the building or not, so that it is not certain whether this place is identical with Steindorff’s second temple. The distance of the ruin from El Qasr, as shown on Ascherson’s map, is about 4 kilometres, i.e., double that mentioned by Steindorff, but otherwise the nature of the building is strongly suggestive of an identity.
In his exploration of the large Necropolis east of El Qasr and Bawitti, Steindorff records the finding of a tomb of the New Empire, dating from the beginning of the 19th Dynasty (B.C. 1300). On clearing out this tomb, extremely interesting decorations were found on its walls. The tomb consists of several chambers hewn in the rock, only two of which are decorated with reliefs, and belonged to a certain Amenhotep, prince of the Northern Oasis and of the Oasis Huye. The explorer records that on one of the walls of the first chamber Amenhotep is represented sitting by his wife, his people bringing to[75] him all kinds of drinks and food, including fish; on another wall he is seen superintending the manufacture of wine, while on a third is a lively representation of the funeral of the deceased. The pictures on the walls of the second room are of similar kind, but of a more religious character.
Steindorff remarks that this is the first important tomb of Egyptian age to be found in the oases of the Libyan Desert. It appears to have been used later on for other interments, as several clay mummy-shaped coffins were found; from these the mummies had disappeared, but a few relics such as scarabei, a gold earring, a bronze mirror, etc., were found.
To the Egyptian period also belongs a limestone statue of the same Ded-Khens-ef-Onkh who erected the two temples of the 26th Dynasty already mentioned; Steindorff found this in one of the houses at El Qasr.
A sandstone ruin situate 2 kilometres due west of Zubbo, mapped but not examined by the Survey, would appear to be that of another small Egyptian temple. It is marked on Cailliaud’s map as “débris de Temple,” but is not mentioned in his description.
Yet a fifth temple in Baharia would seem to be represented by the ruin “Qasr Mayesra,” 2 kilometres north-west of Mandisha, visited by Ascherson. This ruin, which is also mentioned by Belzoni, Cailliaud, and Wilkinson, is a small structure of sandstone 7·91 metres long, 6·24 metres broad, having only one room (entered from the north), and oriented to the cardinal points. The stones of this ruin have Greek letters and other signs cut in them, possibly mason’s marks; they are so striking as to have been seen from a distance through a telescope by Belzoni.
The rock-tombs south-east of Mandisha, mentioned by Ascherson (l.c. p. 145), may possibly be further remains of the Egyptian epoch, and the same is the case with some rock-chambers found by the Survey in the south part of the oasis, some 3 kilometres south of Ain el Haiss. The latter are excavated in an isolated rock-mass (sandstone) some 20 metres in diameter and 6 metres high. The chief entrance is on the south-east side of the rock, by what looks from a short distance like a mere crack; this entrance leads into a series of four small low chambers (each about 3 metres square), with a deeper channel running along the centre. Other similar chambers are found entering from the north side. No inscriptions appear to exist except a few Arabic scratches near the principal entrance, and the chambers were empty.
The Roman structures in the oasis differ generally from those of the Egyptian era in being built of crude brick instead of stone. They show, however, a great solidity of construction; for this reason these erections of the Romans have in many cases outlasted those of the Coptic period which were built long afterwards; in Baharia the old Roman underground aqueducts still serve for the conveyance of water from the springs to the irrigated tracts, and the present inhabitants are far too indolent to construct similar channels for themselves.
According to Ascherson (l.c. p. 140) the village of El Qasr owes its name to a Roman castle, abundant remains of which still exist under the modern houses.
The most important of the Roman ruins of Baharia was however until recently an arch situated close to the north of El Qasr. Cailliaud (l.c. p. 183) describes the structure (as seen in 1820) as consisting of an “arc de triomphe” standing on an embankment 39½ metres long, with a dressed stone revetment;[66] this embankment rises 10 metres from the ground-level at the north side, and is level with the soil of the village to the south. The principal façade is to the north. The courses of the masonry are 27 to 30 centimetres high, and show a peculiar construction, headers and stretchers being built in alternate courses. The wall, which was about 2·3 metres thick, and built with a strongly-marked batter, had an ornamental cornice all round; above this came a sort of parapet 90 centimetres high. The substance of the embankment is a kind of concrete of irregularly-shaped stones set in cement.
The arch itself rises from the embankment in the middle of the north façade, and is of the Doric order, its length being 7·48 metres. At the time of Cailliaud’s visit only the central arcade was still standing; from it one could descend by a flight of steps on to the lower ground. The façade was ornamented with pilasters, and on each side of the arch was a niche decorated with small columns. In one of the main pillars Cailliaud saw a spiral staircase leading to a terrace on the top of the arch. The stones are frequently marked with Greek letters, doubtless to guide the builders; no hieroglyphs or other evidences of the Ancient Egyptians could be seen in the ruins.
This interesting ruin was found in a far less perfect state of preservation on the visit of Ascherson in 1876, the revetment-wall having[77] mostly disappeared, possibly owing to an earthquake which is said to have taken place in the oasis about 1840. The latest traveller to visit the ruins (Steindorff, 1900) found that the whole structure had fallen.[67]
The ruin known as Qasr Alam, situated about 2½ kilometres west of Bawitti, visited by Wilkinson and by Ascherson, is a rectangular crude-brick structure on a slight eminence. Only the lower parts of the walls remain, and Wilkinson speaks of it as “an insignificant crude-brick ruin.” Ascherson obtained a bronze hawk (now in the Berlin museum) found in this place.
Wilkinson mentions another ruin, similar to the above, 1 kilometre south-west of El Qasr; this does not appear to have been since noted. There is no evidence to show the date of either of these structures.
A nearly square building with battered walls and a fortified appearance, situated among the ruins of the Coptic village some 4 kilometres E.S.E. from Mandisha may possibly be a Roman fort. Cailliaud gives its size as 14·7 metres long, 12 metres wide, with walls 8 metres in height, the single door being to the east. The interior is full of debris, so that the arrangement cannot be well seen.
The same doubt as to age occurs concerning some underground chambers at El Qasr, in one of which Virchow[68] found an urn, and similar structures at Bawitti mentioned by Ascherson.
There is less uncertainty concerning a large crude-brick ruin in the south-east part of the oasis, some 6 kilometres E.S.E. of Ain el Haiss. This ruin, mentioned by Belzoni (l.c., p. 427), Cailliaud (l.c., p. 194, and Pl. XXXVI, fig. 1), and Wilkinson (l.c., p. 361), stands conspicuous on an eminence; it is of considerable size, its length being over 87 metres, and the walls being 6 metres high. In the interior is the debris of dwellings. It appears to have been a Roman castle. Belzoni and Cailliaud mention also a square building with small chambers, with a square pit cut in the rock in the centre; this lies about 1 kilometre S.S.W. from the castle, and is regarded by these discoverers as an ancient bath.
To the Roman period may possibly belong a large crude-brick rectangular enclosure close to Ain el Haiss. This building is 75 paces square, with a main door on the west side, and has walls about 2 metres in height. The brickwork is peculiar, a course of stretchers three bricks deep being followed by two courses of headers set on edge, with one or two[78] rows of bricks in a perpendicular position down the centre; the walls are 50 centimetres thick. The interior of the place is a large court, with numerous small rooms at the north and south sides and two others on the west. The rooms are used at the present day by the men of Bawitti when they come to gather the rice-crop at Ain el Haiss. It is not a little remarkable that no reference to this large structure is to be found in Cailliaud’s account; its position (some 300 metres only south-west of the sheikh’s tomb at Ain el Haiss) would seem to preclude the possibility of confusing it with the other ruins he describes. He gives however (l.c. p. 195) the latitude of El Haiss as 28° 0′ 32″,[69] “latitude du couvent chrétien,” from which it would appear likely that he considered this place a convent. There is no evidence to decide whether the building is of Roman or Coptic origin.
Far more enduring and more important (in a modern sense) than any of their buildings, were the extensive excavations carried out by the Romans for the improvement of the water-supply of oasis. In the neighbourhood of Bawitti especially, long series of shafts sunk in the sandstones and clays which form the ground, are frequently to be seen. These shafts, which vary from 1 to 3 metres in diameter, are sometimes round, sometimes rectangular, and are placed at only short distances apart. They are connected below with long tunnels, along which flows the water from the springs. Cailliaud mentions the existence of ten of these ancient aqueducts near Mandisha, eight of which still conveyed water in 1820; he entered one and followed it for 40 metres. He counted no less than fourteen shafts connected with this tunnel in a length of 150 metres, and records that one measured had a rectangular shape, 1·45 metres by 0·45 metres, and was perfectly cut in the rock, with footholds for the descent of the workmen. The largest aqueduct found by Cailliaud is south-west of El Qasr; its size is such that a man is able to walk in it. This tunnel, which now contains no water, leads from an excavation 5 metres in diameter by 8 metres deep, and in a length of 55 metres it is entered by ten shafts. In the same neighbourhood Cailliaud counted more than thirty other aqueducts, mostly coming from the south, like those of Mandisha. Four of these discharge their water into a huge excavation 70 metres diameter and 12 metres deep. The only example of an underground aqueduct at present known to exist in the south part of the oasis is one discovered by Ascherson a few kilometres east of Ain el Haiss; it is at present dry.
[79]Though more abundant in Baharia than in any other of the Egyptian oases, doubtless on account of the relatively shallow depths at which water is there reached, these Roman levels are not peculiar to Baharia, several existing in Farafra,[70] one of which was noticed by Ascherson (l.c. p. 137); other examples have been found at Ain Um Dababib and near Gennah in Kharga.[71] It appears, too, that underground aqueducts of the same nature exist abundantly in the oases of the Algerian and Moorish Sahara.
Some 4 kilometres E.S.E. from Mandisha are the ruins of a Coptic[72] village, which appear to be those described and figured by Cailliaud, although he gives the position as “est 35° nord de Zabou” Cailliaud characterises these remains as “miserable ruins,” but mentions specially, besides the fort referred to, two ruined churches, larger than the other structures. The first of these is 11·1 metres long, 6·50 metres wide, and has walls still 6 metres high; a principal door opens to the south, while another smaller door is situated on the north side. The interior presents only one room, with a niche in the wall; there are three windows on each of the two longer sides. The second ruin is of about the same size; on each of its longer sides are nine niches in the wall, and higher up are six small openings for light. The building appears to have been vaulted. The ancient habitations which form the remainder of the ruins are of a uniform type—low vaulted dwellings surmounted by terraces, access to which is got by steps. The entire village has a circumference of about 520 metres. The name of the locality where these ruins exist is not without interest. Ascherson quotes it as “Denise,” while Wilkinson gives “Bayrees;” the name, like that of Beris in Kharga Oasis, doubtless comes from the old Egyptian root “rs” (the south).
Another Coptic village existed in the south-east part of the oasis, in a district now called Uxor, some 10 kilometres east of Ain el Haiss. The principal ruin is that of a church, built of crude brick, 19·8 metres in length.[73] The exterior displays only four bare walls, battered, with two doors in the east part opening respectively north and south. In the interior is a nave, and on each side are three arcades forming small[80] chapels; in the centre is a niche ornamented with small columns with volute capitals.
Above the chapels a gallery runs round the building. The columns of the nave have capitals rudely modelled on the plan of the lotus-flower of the ancient Egyptians. The remains of fresco paintings can still be traced on the walls, with Greek crosses and fragments of inscriptions. Ascherson records that he visited this ruin in 1876 and found it in about the same state as Cailliaud narrates, though he was unable to discover the inscriptions on the walls which that author and Wilkinson refer to.
Besides the two above-mentioned, a third Coptic village seems to have existed about 7 kilometres south-west of Mandisha, at the south end of the range of hills which will be seen on the map. This village has not been seen, apparently, by any European traveller, though its position was pointed out to Ascherson from a distance, under the name “Merharet-el-Fama.” Information was derived on a visit to Ain Jafarra (6 kilometres south of Mandisha) that some ruins existed a short distance to the north-west, and this would appear to coincide with the position given by Ascherson; time unfortunately failed for an excursion in search of them.
[64]Zeitschrift der Gesellschaft für Erdkunde zu Berlin, Band 20, 1885, pp. 110-160.
[65]Berichte der philologisch-historischen klasse der Konigl. Sachs. Gesellschaft der Wissenschaften zu Leipzig, 1900, pp. 209-239.
[66]Belzoni, as remarked on p. 8. mistook this revetment-wall for that of a temple of Jupiter Ammon, and the builder’s stone-marks for the remains of a Greek inscription.
[67]Op. cit. p. 226.
[68]“Gesichtsurne aus der kleinen Oase”; Sitzungsber. der Berliner anthropol. Gesellschaft, 1876, pp. 171, 172 (with woodcut).
[69]The Survey observations give 28° 2′ 11″ N. as the latitude of Ain el Haiss, thus placing it about 3 kilometres further north. Jordan’s value, 28° 1′ 55″ substantially confirms this; the small difference is doubtless due to different points of observation being used.
[70]Op. cit. Farafra Oasis, etc., p. 12.
[71]Kharga Oasis, etc., p. 82.
[72]Op. cit. p. 149. Pl. XXXVIII.
[73]Op. cit. p. 193 and Pl. XXXVI, Fig. 2.
Plate III.
BAHARIA OASIS
MAP OF THE
VILLAGES AND PRINCIPAL SOURCES
OF WATER
IN THE NORTHERN PART OF THE OASIS.
Plate V.
BAHARIA OASIS
DIAGRAMMATIC SECTION FROM HILL 15 KILOMETRES NORTH-EAST OF AIN EL HAISS TO EOCENE-CRETACEOUS JUNCTION ON DESERT TO WEST
Plate VI.
BAHARIA OASIS
Section from MANDISHA through JEBEL MAYESRA and Conical Hill to WESTERN PLATEAU.